0809s1v4-5 (1106667)
Текст из файла
I семестр 2008/2009 уч. года. Экзаменационный билет.
Вариант 4.
1. Напишите уравнения реакций и укажите условия следующих превращений. Для выделенной стадии напишите электронно-ионные уравнения полуреакций.
to
H3[SbCl6] SbH3 Z1
HNO3конц
Z2
AlCl3(p-p) (NH4)2S2 HCl HNO3конц
N
a2SO4 Na2S Y1 Sb2S3 Y2 Y3
PH3 PH4I
C
a3(PO4)2 P4
to
X H3PO2 . . .
X – вещество, содержащее фосфор, Yi – вещества, содержащие серу, Zi – вещества, содержащие сурьму. (32 балла)
2. В четырех пробирках находятся сухие соли Na2CO3, NaNO2, Na2S2O3, Na3PO4.
1) Используя минимальное число реактивов, распознайте химическим путем, что находится в каждой пробирке. Проведите идентификацию каждого вещества на основе характерных для него реакций. Напишите уравнения всех предложенных Вами реакций.
2) Определите, будет ли нитрит натрия реагировать с KMnO4 при рН = 2, если
Ео [NO3-(р-р)/HNO2(р-р)] = 0.94В, а Ео[MnO4-(р-р)/Mn2+(р-р)] = 1.51 В. Напишите уравнение возможной реакции. Ответ подтвердите расчетом G реакции. Активности всех ионов в растворе, кроме Н+, считайте равными 1.
3) Сколько граммов Na2CO3 *10H2O надо взять, чтобы приготовить 100 мл 0.01М водного раствора при 25оС? Определите рН полученного раствора, если Кa 2 (H2CO3)=4.8*10-11. Гидролизом по второй ступени можно пренебречь. Приведите уравнения соответствующих реакций. (24 балла)
3. Для каждой из приведенных групп соединений
I) Na2HPO3 II) HClO3 III) SnCl4
Na3AsO3 HIO3 SnCl2
1) выберите из предлагаемого ниже набора по два свойства, которые могут проявлять оба вещества:
a) кислотные, b) основные, c) окислительные,
d) восстановительные, e) склонность к гидролизу.
Приведите примеры реакций, иллюстрирующих Ваш выбор.
2) Предложите способ синтеза хлоридов олова (IV) и олова (II), используя кристаллический диоксид олова и кристаллический хлорид натрия в качестве источников олова и хлора соответственно. Напишите уравнения реакций, укажите условия их проведения.
(20 баллов)
4. На рис.1 представлена фазовая диаграмма системы LiCl – SrCl2.
1) Укажите формулу конгруэнтно плавящегося соединения, образующегося в данной системе.
2) Для точек 1 - 4 (рис. 1) заполните таблицу. Для нонвариантных точек напишите уравнение, описывающее равновесие сосуществующих фаз.
| № точки | Число фаз | Название фаз | Число степеней свободы | Уравнение, описывающее равновесие фаз |
| 1 | ||||
| 2 | ||||
| 3 | ||||
| 4 |
3) Изобразите на рис. 2 кривую охлаждения расплава, содержащего 15 мол. % SrCl2, в интервале температур Т1-Т2.
Рис.1 Рис.2
(14 баллов)
5. Через водный раствор, содержащий бромид калия и гидроксид калия, пропустили ток газообразного хлора до насыщения и нейтральной реакции раствора. При охлаждении полученного раствора до 0 оС выпали бесцветные кристаллы соли А.
К подкисленному водному раствору соли А добавили кристаллик иода и несколько капель CCl4. При этом образовались соль В и вещество С, окрасившее слой неполярного растворителя в оранжевый цвет.
1) Определите вещества А, В, С. Напишите уравнения всех упомянутых реакций.
2) Определите молярную концентрацию водного раствора соли А, если при взаимодействии 10 мл этого раствора с избытком подкисленного серной кислотой раствора бромида калия выделилось 0.048 г вещества С.
3) Определите температуру начала замерзания указанного раствора соли А (d = 1.01 г/см3). Считайте диссоциацию соли полной. КН2О = 1.86.
(20 баллов)
I семестр 2008/2009 уч. года. Экзаменационный билет.
Вариант 5.
1. Напишите уравнения реакций и укажите условия следующих превращений. Для выделенной стадии напишите электронно-ионные уравнения полуреакций.
….. Na2S2 HCl
SnS Z2 Z3 SnO2
H2O
SOCl2 L2
Z1 Z4
Sn Sn
L1 X Br2 NaBrO3 NaBrO4
Cl2изб Br2недост, H2O
P4
KMnO4,H+
Y . . .
to
. . .
X – вещество, содержащее бром, Y – вещество, содержащее фосфор, Li – вещества, содержащие фосфор и хлор, Zi – вещества, содержащие олово. (32 балла)
2. В четырех пробирках находятся сухие соли SnCl2, NaClO3, Na2SO3, NaBr.
1) Используя минимальное число реактивов, распознайте химическим путем, что находится в каждой пробирке. Проведите идентификацию каждого вещества на основе характерных для него реакций. Напишите уравнения всех предложенных Вами реакций.
2) Определите, будет ли бромид натрия реагировать с MnO2 при рН = 3, если
Ео[Br2(р-р)/Br-(р-р)] = 1.065 В, а Ео[MnO2(тв.)/Mn2+(р-р)] = 1.228 В. Напишите уравнение возможной реакции. Ответ подтвердите расчетом G реакции. Активности всех ионов в растворе, кроме Н+, считайте равными 1.
3) Сколько граммов Na2SO3*7Н2О надо взять, чтобы приготовить 100 мл 0.01М водного раствора при 25оС. Определите рН полученного раствора, если Ка 2(H2SO3) = 6.2*10-8. Гидролизом по второй ступени можно пренебречь. Приведите уравнения соответствующих реакций.
(24 балла)
3. Для каждой из приведенных групп соединений
I) HNO2 II) NH3 III) KClO
H3PO3 N2H4 KClO3
1) выберите из предлагаемого ниже набора по два свойства, которые могут проявлять оба вещества:
a) кислотные, b) основные, c) окислительные,
d) восстановительные, e) склонность к гидролизу.
Приведите примеры реакций, иллюстрирующих Ваш выбор.
2) Предложите способ синтеза аммиака и гидразина, используя оксид азота (II) в качестве источника азота. Напишите уравнения реакций, укажите условия их проведения.
(20 баллов)
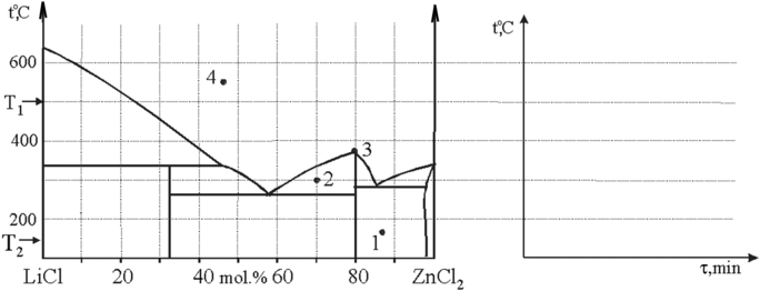
4. На рис.1 представлена фазовая диаграмма системы LiCl – ZnCl2.
1) Укажите формулу конгруэнтно плавящегося соединения, образующегося в данной системе.
2) Для точек 1 - 4 (рис. 1) заполните таблицу. Для нонвариантных точек напишите уравнение, описывающее равновесие сосуществующих фаз.
| № точки | Число фаз | Название фаз | Число степеней свободы | Уравнение, описывающее равновесие фаз |
| 1 | ||||
| 2 | ||||
| 3 | ||||
| 4 |
3) Изобразите на рис. 2 кривую охлаждения расплава, содержащего 10 мол. % LiCl, в интервале температур Т1-Т2.
Рис.1 Рис.2
(14 баллов)
5. При действии разбавленной азотной кислоты на сурик Pb3O4 образуются темно-коричневый осадок А и раствор соли В.
При добавлении к осадку А подкисленного серной кислотой водного раствора сульфата марганца (II) наблюдается окрашивание раствора в малиновый цвет в результате образования вещества С.
1) Определите вещества А, В, С. Напишите уравнения всех упомянутых реакций.
2) Определите молярную концентрацию водного раствора соли В, если при пропускании избытка газообразного хлора через 10 мл этого раствора образуется 0.239 г осадка А.
3) Определите температуру начала кипения указанного раствора соли В (d = 1.01 г/см3). Считайте диссоциацию соли полной. ЕН2О = 0.52
(20 баллов)
I семестр 2005/2006 уч. года. Экзаменационный билет.
Вариант 3.
1. Напишите уравнения реакций следующих превращений, используя для каждого превращения минимальное число стадий. Для выделенной стадии напишите электронно-ионные уравнения полуреакций.
H2SO4
….
Bi(OH)3, KOH Mn(NO3)2, H+
X K2S2O8 Z ….
KClтв
H
2SO4конц Y
B2O3, C,to H2O
Y Cl2 Q1 NaOH
Q2 Q3 Na2B4O7*10H2O
LiAlH4
(эфир) CH3OH,
H2SO4конц. Co(BO2)2
Q4 …..
Н2О
….
X – вещество, содержащее серу, Y – вещество, содержащее хлор, Z – вещество, содержащее висмут, Qi – вещества, содержащие бор. (30 баллов)
2. В четырех пробирках находятся сухие соли NaOCl, NaNO3, Na2S, NaН2PO2.
1) Используя минимальное число реактивов, распознайте химическим путем, что находится в каждой пробирке. Проведите идентификацию каждого вещества на основе характерных для него реакций. Напишите уравнения всех предложенных Вами реакций.
2) Будет ли NaOCl реагировать с NaI при рН=4, если E0(OCl-(р-р)/Cl-(р-р))=1.494В, а
E0(I2(тв.)/I-(р-р)) = 0.536B. Напишите уравнение возможной реакции. Ответ подтвердите расчетом э.д.с. реакции. Активности всех ионов в растворе, кроме Н+, считайте равными 1.
3) Сколько граммов Na2S*9H2O надо взять, чтобы приготовить 100 мл 0.01М водного раствора при 25оС. Определите рН полученного раствора. Гидролизом по второй ступени можно пренебречь. Приведите уравнения соответствующих реакций. Ка2(Н2S)=1.3*10–13. (22 балла)
3. Для каждой из приведенных групп соединений
а)H2SO3 в)[NH3OH]Cl с)BF3
Характеристики
Тип файла документ
Документы такого типа открываются такими программами, как Microsoft Office Word на компьютерах Windows, Apple Pages на компьютерах Mac, Open Office - бесплатная альтернатива на различных платформах, в том числе Linux. Наиболее простым и современным решением будут Google документы, так как открываются онлайн без скачивания прямо в браузере на любой платформе. Существуют российские качественные аналоги, например от Яндекса.
Будьте внимательны на мобильных устройствах, так как там используются упрощённый функционал даже в официальном приложении от Microsoft, поэтому для просмотра скачивайте PDF-версию. А если нужно редактировать файл, то используйте оригинальный файл.
Файлы такого типа обычно разбиты на страницы, а текст может быть форматированным (жирный, курсив, выбор шрифта, таблицы и т.п.), а также в него можно добавлять изображения. Формат идеально подходит для рефератов, докладов и РПЗ курсовых проектов, которые необходимо распечатать. Кстати перед печатью также сохраняйте файл в PDF, так как принтер может начудить со шрифтами.
















