var18-16 (1014075)
Текст из файла
Задания к КР по дисциплине «Модели и методы анализа проектных решений»
Вариант 18 2016г.
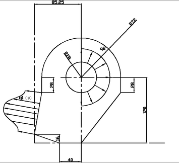
Радиус отверстия r= 28см;
Радиус контура верхней части пластины R= 72см.
Геометрия объекта
Изменить левый размер 28 на 45 и спрямить левую сторону пластины, соединив нижнюю точку левой вертикальной стороны, размером 45, с левой точкой нижней горизонтальной стороны пластины, образовав тем самым новую левую наклонную сторону пластины. Спрямить и правую сторону пластины, соединив правую точку радиуса R c правой точкой нижней горизонтальной стороны пластины.
Внешние воздействия на объект
-
Нагрузку по окружности отверстия удалить.
-
Приложить погонную распределенную нагрузку постоянной интенсивности
к полуокружности верхней стороны пластины. -
К правой наклонной стороне пластины приложить переменную распределенную нагрузку
;
, где точка
находится в верхней точке новой левой наклонной стороны длиною
, к которой приложена эта нагрузка.
=500.
[Н/см]. Значения
и
– варьируемые параметры.
Граничные условия
Закрепить все точки новой левой наклонной стороны пластины от перемещений вдоль осей х и Y.
Конец документа
Характеристики
Тип файла документ
Документы такого типа открываются такими программами, как Microsoft Office Word на компьютерах Windows, Apple Pages на компьютерах Mac, Open Office - бесплатная альтернатива на различных платформах, в том числе Linux. Наиболее простым и современным решением будут Google документы, так как открываются онлайн без скачивания прямо в браузере на любой платформе. Существуют российские качественные аналоги, например от Яндекса.
Будьте внимательны на мобильных устройствах, так как там используются упрощённый функционал даже в официальном приложении от Microsoft, поэтому для просмотра скачивайте PDF-версию. А если нужно редактировать файл, то используйте оригинальный файл.
Файлы такого типа обычно разбиты на страницы, а текст может быть форматированным (жирный, курсив, выбор шрифта, таблицы и т.п.), а также в него можно добавлять изображения. Формат идеально подходит для рефератов, докладов и РПЗ курсовых проектов, которые необходимо распечатать. Кстати перед печатью также сохраняйте файл в PDF, так как принтер может начудить со шрифтами.
















