var15-16 (1014072)
Текст из файла
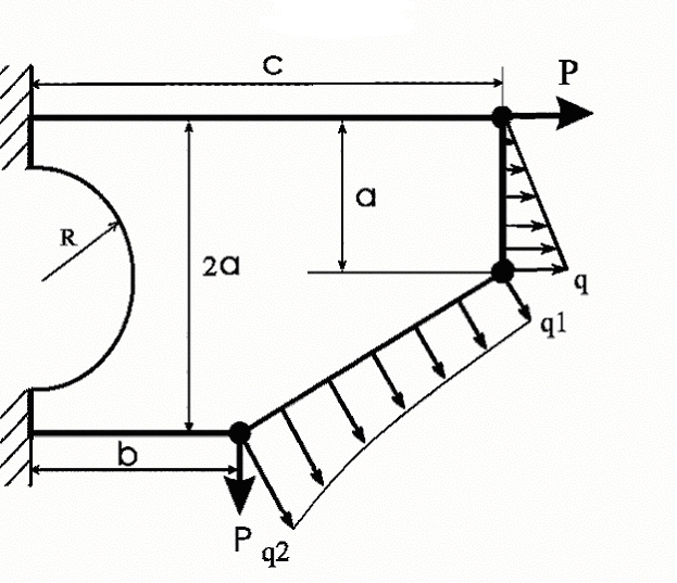
Задания к КР по дисциплине «CAD/CAE - системы»
Вариант №15 2016г.
a =40 см, b = 50см, c = 90cм , R= 30см
Геометрия объекта
Заменить верхнюю горизонтальную и правую вертикальную стороны частью дуги окружности с центром на продолжении левой вертикальной стороны и радиусом, проведенным, через верхнюю левую точку пластины и нижнюю точку правой вертикальной стороны исходного рисунка.
Внешние воздействия на объект
-
P=0- на итоговом чертеже не показывать
-
Закон изменения нагрузки вдоль наклонной стороны :
; k = 1 – варьируемый параметр; Размерность
- [Н/см];
находится в верхней точке наклонной стороны;
-
На верхнюю сторону в виде дуги окружности действует погонная нагрузка постоянной интенсивности, равной 2005Н/см.
Граничные условия
Закрепить пластину от перемещений по осям Х и Y по полуокружности радиуса R= 30см и нижнем участке левой вертикальной стороны.
Конец документа
Характеристики
Тип файла документ
Документы такого типа открываются такими программами, как Microsoft Office Word на компьютерах Windows, Apple Pages на компьютерах Mac, Open Office - бесплатная альтернатива на различных платформах, в том числе Linux. Наиболее простым и современным решением будут Google документы, так как открываются онлайн без скачивания прямо в браузере на любой платформе. Существуют российские качественные аналоги, например от Яндекса.
Будьте внимательны на мобильных устройствах, так как там используются упрощённый функционал даже в официальном приложении от Microsoft, поэтому для просмотра скачивайте PDF-версию. А если нужно редактировать файл, то используйте оригинальный файл.
Файлы такого типа обычно разбиты на страницы, а текст может быть форматированным (жирный, курсив, выбор шрифта, таблицы и т.п.), а также в него можно добавлять изображения. Формат идеально подходит для рефератов, докладов и РПЗ курсовых проектов, которые необходимо распечатать. Кстати перед печатью также сохраняйте файл в PDF, так как принтер может начудить со шрифтами.
















