var20-16 (1014077)
Текст из файла
Задания к КР по дисциплине «CAD/CAE системы»
Вариант № 20 2016г.
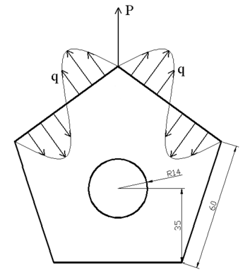
Геометрия объекта
Правильный пятиугольник.
Отрезать нижнюю правую часть пластины, проведя из центра окружности линии к самой правой и к нижней левой точкам пластины.
Внешние воздействия на объект
-
Р=0; на итоговом чертеже не указывать.
-
Переменная нагрузка
приложена только к левой верхней стороне пятиугольника.
Числовое значение
в формуле для
- варьируемый параметр.
Коэффициент k найти из условия образования на стороне 1-ой полуволны косинусоиды.
=0 в верхней точке наклонной стороны.
-
К правой верхней стороне пластины приложить линейную погонную нагрузку меняющуюся с 900Н/см в верхней точке правой наклонной стороны , до (-9000) Н\см – в нижней точке той же стороны.
Граничные условия
Все точки оставшейся части кругового выреза от перемещений по 2-ум осям.
Конец документа
Характеристики
Тип файла документ
Документы такого типа открываются такими программами, как Microsoft Office Word на компьютерах Windows, Apple Pages на компьютерах Mac, Open Office - бесплатная альтернатива на различных платформах, в том числе Linux. Наиболее простым и современным решением будут Google документы, так как открываются онлайн без скачивания прямо в браузере на любой платформе. Существуют российские качественные аналоги, например от Яндекса.
Будьте внимательны на мобильных устройствах, так как там используются упрощённый функционал даже в официальном приложении от Microsoft, поэтому для просмотра скачивайте PDF-версию. А если нужно редактировать файл, то используйте оригинальный файл.
Файлы такого типа обычно разбиты на страницы, а текст может быть форматированным (жирный, курсив, выбор шрифта, таблицы и т.п.), а также в него можно добавлять изображения. Формат идеально подходит для рефератов, докладов и РПЗ курсовых проектов, которые необходимо распечатать. Кстати перед печатью также сохраняйте файл в PDF, так как принтер может начудить со шрифтами.
















