12_glava (1055401), страница 6
Текст из файла (страница 6)
Программа, написанная на языке ассемблера ЭВМ типа ДВК, представляет собой последовательность операторов, каждый из которых записан в формате, содержащем четыре поля:
метка: операция операнда комментарий
В рассматриваемом языке ассемблера рекомендуется располагать поля следующим образом: метки (может отсутствовать) - с позиции 1; операции -с позиции 9; операндов -с позиции 17; комментария (если он есть) - с позиции 33.
Поле метки служит для идентификации конкретного оператора. В качестве метки используется имя, состоящее из букв и цифр и начинающееся о буквы. После метки всегда ставится двоеточие, служащее ограничителем поля метки.
Поле операции задает действие, которое должно быть выполнено оператором, и в нем располагается некоторая мнемоника.
Поле операндов предназначено для записи объектов, над которыми оператор будет выполнять действия.
Поле комментария всегда начинается точкой о запятой и содержит текст, поясняющий действия, выполняемые оператором, программой или отдельными ее частями. В тексте комментария допустимы буквы русского алфавита.
В языке микроэвм ДВК-3 используется три типа команд: безадресные, одноадресные я двухадресные. В безадресных командах код команда содержит только код операции, в кодах одноадресных и двухадресных команд обычно содержится информация, которая представляет выполняемую функцию, метод адресации я регистры общего назначения, используемые при выборе операндов.
Процесс программирования на языке ассемблера мало чем отличается от такого же процесса на языках высокого уровня и включает в себя следующие этапы:
-
математическая формулировка задачи;
-
разработка алгоритма решения задачи;
-
составление программы на алгоритмическом языке.
ОПИСАНИЕ ЛАБОРАТОРНОЙ УСТАНОВКИ
ЦППГ, структурная схема которого представлена на рис. 12.23, состоит из микроэвм, интерфейса, преобразователя "код - фаза", распределителей импульсов, блока тиристоров, двигателя постоянного тока, тахогенератора, датчиков тока, частоты вращения и угла поворота вала двигателя, двух АЦП, преобразователя "угол -код", таймера, программатора и нагрузочного устройства.
Лабораторная установка состоит из ЭВМ ДВК-3, управление шторой осуществляется с клавиатуры, программатора и силового агрегата, смонтированного на опорной металлической конструкции. Электронные функциональные блоки расположены в специальном устройстве (под ЭВМ). Для работы с микроэвм необходимо ознакомиться с правилами по ее эксплуатации (см. разд. "Порядок выполнения работы"). Рядом с ЭВМ расположен стенд, на котором представлена функциональная схема электропривода о цифровой индикацией. Для исследования формы сигналов, а также для измерения угловых скоростей используются тахометр и тахогенератор.
1. Ознакомиться со структурной схемой управления ЦППТ (см. рис. I, а также [ 5 ] ).
-
Ознакомиться с принципами программирования системы
управления ЦППТ (рис. 2). -
Изучить правила обращения с микроэвм (он. разд. "Поря
док выполнения работы"). -
Ознакомиться с тахограммами ф = ф (t) привода (рис.12.25).
-
С помощью готовых программ реализовать на стенде заданные тахограммы (см. рис. 12.25).
-
Сравнить результаты эксперимента с заданными значениями
угловых скоростей.
ПОРЯДОК ВЫПОЛНЕНИЯ РАБОТЫ
1 . Ознакомиться со структурной схемой управления ЦППТ (см. рис. I) и зарисовать в отчет часть этой схемы, иллюстрирующую назначение микроэвм.
2. Ознакомиться с принципами программирования системы
управления ЦППТ (см. разд. "Теоретическая часть").
-
Установить, какие из известных алгоритмических языков
могут быть использованы для программирования работы ЦППТ. -
Выявить принципиальные отличия языков ассемблеров от
языков высокого уровня.
-
Перед началом работы с микроэвм изучить основные правила обращения с ней (см. п. 5).
-
Ознакомиться с тахограммами угловых скоростей = ( ) (см. рис. 12.25).
4. 1 . Рассмотреть тахограммы скоростей ф = ф (t) изображенные на рис. 12.26, в которых не учтены переходные процессы.
4. 2. Занести тахограммы в отчет.
4
.3. Обратиться к преподавателю, который задает числовые значения скоростей и временных интервалов. Эти значения зафиксировать на рисунках в отчете. 5. Реализовать на стенде заданные тахограммы.
-
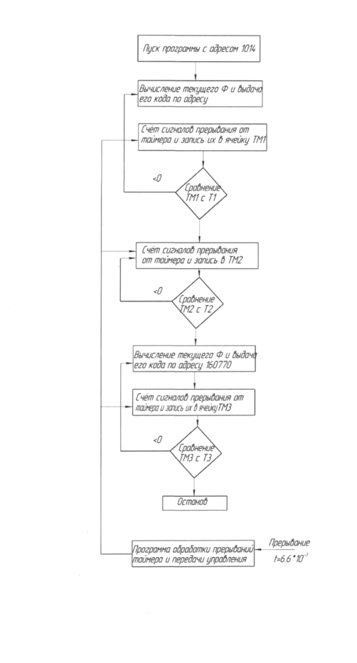
С помощью блок-схемы программ PRIMER 1 , служащей
для получения тахограмм, приведенных на риc. 12.25,26, определить
назначение каждого блока этой схемы (см. рис.12.24). -
Установить, каким образом осуществляется отсчет временных интервалов в ЭВМ, ввод значений
скоростей и вывод их
в соответствующие порты.
5.3. Для реализации тахограмм. приведенных на рис12.25,26,
запустить программу PRIMER 1. Для этого необходимо:
-
С разрешения преподавателя взять дискету с рабочей
программой. -
Включить с разрешения преподавателя стенд и
микроэвм. Для этого необходимо:
а)Нажать клавишу <Сеть>, дождаться свечения светодиода < СЕТЬ> ;
б) нажать клавишу < УПР >;
в) нажать клавишу < ПУЛЬТ > дождаться свечения диода < ПУЛЬТ > ;
г) повторно нажать клавишу < ПУЛЬТ >, светодиод погаснет;
д) нажать на верхние части замков левого и правого дисководов и открыть их;
е) вставить системную и рабочую дискеты в прорезь левого и правого дисководов (в левую прорезь
- системную, в правую -рабочую дискеты), а затем закрыть замки обоих дисководов (системную дискету
взять у преподавателя) .
-
Вызвать программу PRIMER 1.
-
Образовать объектный модуль командой
MACRO/LIST; ТТ : _МХ1: имя, МАС<ВК>
5.3.5. Сформировать загрузоч ны и модуль командой
LINK_имя. OBJ <ВК>
5.3.6. Запустить программу два раза (в соответствия
о рис. 12.25 а затем - с рис. 12.26). Для этого необходимо:
а) набрать команду
GET_MX1: имя. SAV <ВК> .
б) ввести по запросу ЭВМ значения временных интервалов
tb t2, t3 соответствующих рис. 3.
Время t( занести в ячейку памяти с адресом 1004 командой
1004/t! <BK>
Время t2 - в ячейку с адресом 1006 командой
2
1004/12 <ВК>
Время; 13 - в ячейку с адресом 1008 командой 1008/t3<BK>
в) перевести значения скоростей q)(VDT) и ф в восмиричную систему счисления и ввести их в ЭВМ в ячейки памяти с адресами 1000 и 1002 соответствующей командой. Если
направление вращения - по часовой стрелке, то значения ф} и вводятся в прямом коде, если против - то в обратном:
1000/VD1 <ВК> 1002/VD1 <ВК>
г)повторно запустить программу PRIMER 1 (для получения тахограмм изображенных на на рис. 4). Для этого следует полностью повторить действия, описанные в подпунктах а), б), в) п. 5.3.6, изменив только численные значения величин ti, t2, t3, VD1, VDZ.
-
Вызвать программу PRIMER 2.
-
Сформировать объектный, а затем загрузочный модули
командами, приведенными в пп. 5.3.4 и 5.3.5 (изменяется лишь
вводимое имя программы). -
Запустить программу два раза (в соответствии
с рис. 5, а затем - с рис. 6). Для этого полностью повторить действия, описанные в подпунктах а) и в) п. 5.3.6. В подпункте в) дополнительно вводятся значения интервалов t и t командами (время t занести в ячейку памяти с адресом DID):
1010/14 <ВК>
и (время ts занести в ячейку памяти с адресом 1012) 1012/t5<BK>
5.3.10. Повторно запустить программу PRIMER 2 (для по
лучения тахограммы, изображенной да рис. 6). Для этого повторить п. 5.3.9, изменив численные значения t ti, t2, t3, t4, ts, VD1 и VD2.
6. Проконтролировать правильность работы ЦППТ.
6.1. С помощью тахометра (тахогенератора) и осциллографа
измерить скорости вращения двигателя и соответствующие им временные интервалы. Данный пункт выполняется при каждом запуске программ PRIMER 1 и PRIMER 2.
6.2. Результаты измерений по п. 6.1 занести в четыре таблицы по примеру таблицы, приведенной
ниже:
| t | |
| t1 | |
| t2 | |
| t3 | |
| t4 | |
| t5 |
СОДЕРЖАНИЕ ОТЧЕТА
Отчет о проделанной работе является составной частью лабораторной работы. Он должен содержать наименование работы, фамилию и инициалы исполнителя, номер группы и дату выполнения.
В отчете должны быть представлены часть функциональной схемы ЦППТ, иллюстрирующая назначение ЭВМ, тахо граммы скоростей с заданными числовыми значениями и соответствующими временными интервалами, а также таблицы с результатами экспериментов. Отчет выполняют аккуратно, соблюдая ГОСТы, графические построения делают чертежными инструментами.
КОНТРОЛЬНЫЕ ВОПРОСЫ
1 . Каково назначение ЭВМ в контуре управления ЦППГ?
-
На какие группы делятся языки программирования?
-
Чем отличаются от других алгоритмических языков языки
ассемблеров? -
На какие группы могут быть разделены операторы языков ассемблеров?
-
Как осуществляется отсчет временных интервалов в про
граммах! используемьдс в работе?
-
В каком коде вводятся значения скоростей вращения?
-
В какие ячейки выводятся значения скоростей вращения?
















