4_5 (984725)
Текст из файла
ТЕХНОЛОГИЧЕСКАЯ КАРТА
Тема №7 «Техническое обслуживание АТ».
Учебное место №4 «Техническое обслуживание агрегатов и механизмов трансмиссии, ходовой части и тормозного управления автомобиля КамАЗ-4310».
Работа №5. Проверка уровня масла в агрегатах трансмиссии, ходовой части, механизмах управления и выполнение смазочных работ на автомобиле КамАЗ-4310.
Вид работы: практическая.
Время: 25 мин.
Оборудование и материалы: автомобиль КамАЗ-4310, маслораздаточный бак, шприц для жидкой смазки, шприц рычажно-плунжерный.
Инструмент: отвертка, ключ 10х12, 12х14, 17х19, 19 х22, 22 х24.
Проверить уровень масла в агрегатах трансмиссии (при необходимости долить), выполнить смазочные работы, согласно таблице смазки.
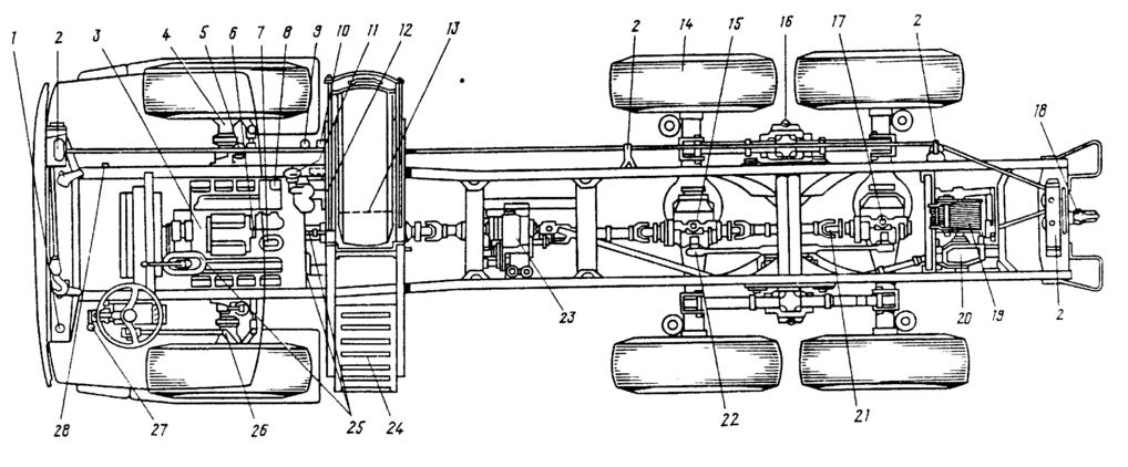
Таблица смазки
| Позиция на рисунке | Точки смазки | Количество смазки (общее на все точки) | Количество точек | Наименование смазки | Периодичность смазки | Объем выполняемых работ | ||
| ТО-1 | ТО-2 | СО | ||||||
| 1 | 2 | 3 | 4 | 5 | 6 | 7 | 8 | 9 |
| 6 | Муфта опережения впрыска топлива | 0,160 л | 1 | Летом: масло М-10Г2к. Зимой: мазло М-8Г2к. Заменитель (всесе-зонно): М6з/10В. | + | Сменить масло (один раз в два года). На корпусе муфты имеются два отверстия, закрытые винтами с уплотнительными шайбами, Масло заливается через верхнее отверстие до появления его из нижнего. | ||
Картер коробки передач | 8,5 л | 1 | Трансмиссионное масло ТСП-15К (при температуре не ниже минус 30 ºС); ТМ5-12РК (при температуре не ниже минус 50 ºС) | + | + | Сменить масло (один раз в год). Проверить уровень масла, при необходимости долить. Для проверки уровня масла в картере коробки передач вывернуть пробку с указателем 1 уровня масла из заливного отверстия. Вытереть насухо указатель и вставить его снова до упора пробки в резьбу, не заворачивая. Масло должно покрывать указатель до отметки «В». Если масло доходит до нижней отметки указателя, то долейте масло через горловину, очистив ее от пыли и грязи. | ||
| 23 | Картер раздаточной коробки | 5,4 л | 1 | Трансмиссионное масло ТСП-15К (при температуре не ниже минус 30 ºС); ТМ5-12РК (при температуре не ниже минус 50 ºС) | + | + | Сменить масло (один раз в год). Проверить уровень масла, при необходимости долить. Масло заливается через верхнее отверстие в картере, закрытое конической пробкой. Уровень масла контролируется по нижнему отверстию. Сливается масло через отверстие в нижней части крышки картера. | |
| 3 | Картер переднего моста | 4,8 л | 1 | Трансмиссионное масло ТСП-15К (при температуре не ниже минус 30 ºС) или ТАП-15В (при температуре не ниже минус 25 ºС); ТМ5-12РК или ТСП-10(при температуре не ниже минус 50 ºС). | + | + | Сменить масло (один раз в год). Проверить уровень масла, при необходимости долить. Для проверки уровня масла вывернуть пробку контрольного отверстия на картере моста (на рисунке нижнее). Если при этом масло из отверстия не вытекает, то через заливное отверстие (на рисунке верхнее) долить масло до уровня контрольного отверстия. Повышенный уровень масла приводит к выбрасыванию масла через манжеты и попаданию его в другие системы. Недостаток масла приводит к повышенному износу деталей главной передачи. | |
| 15 | Картер среднего моста | 7,0 л | 1 | Трансмиссионное масло ТСП-15К (при температуре не ниже минус 30 ºС) или ТАП-15В (при температуре не ниже минус 25 ºС); ТМ5-12РК или ТСП-10(при температуре не ниже минус 50 ºС). | + | + | Сменить масло (один раз в год). Проверить уровень масла, при необходимости долить. Для проверки уровня масла вывернуть пробку контрольного отверстия на картере моста (на рисунке нижнее). Если масло из отверстия не вытекает, то через заливное отверстие на картере редуктора (на рисунке верхнее) долить масло до уровня контрольного отверстия. Повышенный уровень масла приводит к выбрасыванию масла через манжеты и попаданию его в другие системы. Недостаток масла приводит к повышенному износу деталей главной передачи. | |
| 17 | Картер заднего моста | 7,0 л | 1 | Трансмиссионное масло ТСП-15К (при температуре не ниже минус 30 ºС) или ТАП-15В (при температуре не ниже минус 25 ºС); ТМ5-12РК или ТСП-10(при температуре не ниже минус 50 ºС). | + | + | Сменить масло (один раз в год). Проверить уровень масла, при необходимости долить. См. картер среднего моста. | |
| 16 | Башмаки рессор задней подвески | 1,0 л | 2 | Трансмиссионное масло ТСП-15К (при температуре не ниже минус 30 ºС) или ТАП-15В (при температуре не ниже минус 25 ºС); ТМ5-12РК или ТСП-10(при температуре не ниже минус 50 ºС). | + | Сменить масло при ремонте. Проверить уровень масла, при необходимости долить. Уровень масла проверяется через контрольно-заливное отв6ерстие в верхней части крышки башмака. | ||
| 7 | Бачок насоса гидроусилителя рулевого управления | 4,2 л | 1 | Масло для гидросисте-мы автомобиля марки «Р » (всесезонно). Заменитель: масло АУ, АУп (всесезонно). | + | + | Сменить масло (один раз в год). Проверить уровень масла, при необходимости долить. Уровень проверяется указателем, вмонтированным в пробку заливной горловины бачка и должен находиться между метками на, передние колеса при этом установить прямо. Масло доливать при работе двигателя на минимальной частоте вращения коленчатого вала. | |
| 12 | Втулки вала вилки выключения сцепления. Подшипник муфты выключения сцепления. | 0,015 кг 0,03 кг | 2 1 | Смазка Литол-24. Заменитель: смазка № 158. | + | Смазать через пресс-масленку, сделав шприцем не более трех ходов. | ||
| 5 | Втулки валов разжимных кулаков: передний кронштейн задний кронштейн | 0,150 кг 0,300 кг | 2 4 | Смазка Литол-24. Заменитель: смазка № 158. | + | Смазать через пресс-масленку, сделав шприцем не более трех ходов. | ||
| 5 | Регулировочные рычаги тормозных механизмов | 0,27 кг | 6 | Смазка Литол-24 Заменитель: смазка графитная УСсА. | + | Смазать через пресс-масленку до выдавливания свежей смазки. | ||
| 25 | Опоры тяг дистанционного привода управления коробкой передач | 0,050 кг | 3 | Смазка Литол-24. Заменитель: солидол Ж. | + | Смазать через пресс-масленку до выдавливания свежей смазки. | ||
| 21 | Шарниры карданного вала заднего моста | 0,050 кг | 2 | Смазка № 158. Заменитель: смазка Литол-24. | + | Смазать через пресс-масленку до выдавливания свежей смазки из-под кромок каждого сальника шарнира (при использовании заменителя смазывать при ТО-1). | ||
| 24 | Выключатель батарей | 0,03 кг | 1 | Смазка Литол-24. Заменитель: смазка № 158. | + | Смазать, предварительно разобрав и прочистив. | ||
| 14 | Подшипники ступиц колес | 5,1 кг | 6 | Смазка Литол-24. Заменитель: жировая смазка 1-13. | + | Заложить смазку при снятой ступице между роликами и сепараторами равномерно по всей внутренней полости подшипников (при использовании заменителя смазать при ТО-2). | ||
| 18 | Стебель крюка тягово-сцепного устройства | 0,05 кг | 2 | Смазка Литол-24. Заменитель: солидол Ж, пресс-солидол С. | + | Смазать через пресс-масленку до выдавливания свежей смазки (при использовании заменителя смазать при ТО-1). | ||
| 22 | Шарниры реактивных штанг задней подвески | 0,6 кг | 12 | Смазка Литол-24. Заменитель: солидол Ж, пресс-солидол С. | + | Смазать через пресс-масленку до выдавливания свежей смазки (при использовании заменителя смажьте при ТО-2). | ||
| 26 | Шарниры рулевых тяг | 0,05 кг | 4 | Смазка Литол-24. Заменитель: солидол Ж, пресс-солидол С. | + | Смазать через пресс-масленку до выдавливания свежей смазки. | ||
| 28 | Пальцы передних рессор | 0,035 кг | 2 | Смазка Литол-24. Заменитель: солидол Ж, пресс-солидол С. | + | Смазать через пресс-масленку до выдавливания свежей смазки. | ||
| 1 | Оси передних опор кабины | 0,035 кг | 2 | Смазка Литол-24. Заменитель: солидол Ж, пресс-солидол С. | + | Смазать через пресс-масленку до выдавливания свежей смазки. | ||
| 4 | Полости шаровых опор переднего моста | 6,0 л | 2 | Смесь смазки Литол-24 с маслом для редукторов мостов (по 50 %). | + | Разобрать шарниры, удалить старую смазку и заложить новую. | ||
| 4 | Верхние подшипники шкворней | 0,2 л | 2 | Смесь смазки Литол-24 с маслом для редукторов мостов (по 50 %). | + | Добавить смазку через пресс-масленку до выдавливания свежей смазки из контрольного отверстия, вывернув предварительно пробку. | ||
| 24 | Выводы аккумуляторных батарей | 0,04 кг | 4 | Смазка Литол-24. | + | Смазать тонким слоем. | ||
| 10 | Гидроподъемник кабины и запасного колеса | 1,2 л | 1 | Гидравлическое масло МГЕ-10А. | + | Проверить уровень масла, при необходимости долить. Залив масло до уровня заливного отверстия, прокачать систему в целях удаления из нее воздуха, для чего два-три раза поднять и опустить кабину. После этого проверить уровень масла и при необходимости долить – масло должно доходить до уровня заливного отверстия бачка насоса. | ||
| 9 | Предохранитель от замерзания для предохранителя 100-3536010-10 для предохранителя 100-3536010 | 1,0 л 0,2 л | 1 | Спирт этиловый технический. | + | Применять при температуре окружающего воздуха ниже плюс 5ºС. Сменить (один раз в месяц). Сменить (один раз в неделю). | ||
| — | Подшипники жидкостного насоса | — | 1 | Смазка Литол-24. | + | Смазать через пресс-масленку до выхода смазки из контрольного отверстия. | ||
Схема смазки автомобиля
Характеристики
Тип файла документ
Документы такого типа открываются такими программами, как Microsoft Office Word на компьютерах Windows, Apple Pages на компьютерах Mac, Open Office - бесплатная альтернатива на различных платформах, в том числе Linux. Наиболее простым и современным решением будут Google документы, так как открываются онлайн без скачивания прямо в браузере на любой платформе. Существуют российские качественные аналоги, например от Яндекса.
Будьте внимательны на мобильных устройствах, так как там используются упрощённый функционал даже в официальном приложении от Microsoft, поэтому для просмотра скачивайте PDF-версию. А если нужно редактировать файл, то используйте оригинальный файл.
Файлы такого типа обычно разбиты на страницы, а текст может быть форматированным (жирный, курсив, выбор шрифта, таблицы и т.п.), а также в него можно добавлять изображения. Формат идеально подходит для рефератов, докладов и РПЗ курсовых проектов, которые необходимо распечатать. Кстати перед печатью также сохраняйте файл в PDF, так как принтер может начудить со шрифтами.
















