4_2 (984722)
Текст из файла
ТЕХНОЛОГИЧЕСКАЯ КАРТА
Тема №7 «Техническое обслуживание ВАТ».
Учебное место №4 «Техническое обслуживания агрегатов и механизмов трансмиссии, ходовой части и тормозов автомобиля КамАЗ 4310».
Работа № 2 «Прокачка гидросистемы привода сцепления автомобиля КамАЗ 4310».
Вид работы: практическая.
Время: 25 мин.
Оборудование и материалы: автомобиль КамАЗ 4310.
Инструмент: шланг длинной 50 см, ключ рожковый 10х12, прозрачная емкость 0,5 л. тормозная жидкость «Нева» 0,250 л.
Главный цилиндр управления сцеплением:
| № п/п | Содержание операции | Оборудование, инструмент, приспособления и материалы | Технические требования и указания |
| 1 | 2 | 3 | 4 |
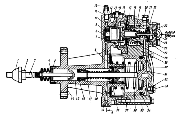
| 1 2 3 4 5 6 7 8 9 | Снимите с корпуса бачка 4 главного цилиндра пробку 5 и заполните бачок рабочей жидкостью. Заполнение системы рабочей жидкостью вести через сетчатый фильтр во избежание попадания в систему посторонних примесей; Снимите с перепускного клапана на пневмогидравлическом усилителя колпачок 12 и наденьте на головку клапана шланг для порокачивания гидропривода. Свободный конец шланга опустите в стеклянный сосуд вместимостью 0,5 л, наполненный рабочей жидкостью на 1/4—1/3 по высоте сосуда; Отвернуть перепускной клапан 11 и провести резкие последовательные нажатия на педаль сцепления до упора, пока не прекратиться выделения пузырьков воздуха из шланга, опущенного в стеклянный сосуд. Добавлять рабочую жидкость в систему, не допуская снижения ее уровня в банке. Завернуть до упора перепускной клапан 11 при нажатии до упора педали сцепления. Снять с головки клапана шланг Надеть колпачок 12 Долить свежую рабочую жидкость в бачок 4 до уровня Проверьте наличие конденсата в силовом пневмоцилиндре. Для слива конденсата отверните пробку 33 в корпусе пневмогидроусилителя. Для полного слива слегка нажмите педаль сцепления. | Тормозная жидкость «Нева» Шланг длинной 50 см. Ключ 10х12 Тормозная жидкость «Нева» Ключ 10х12 Торм. жидкость «Нева» | До уровня не ниже 15—20 мм от верхней кромки заливной горловины бачка. Отвернуть на ½-1 оборот Интервал между нажатиями ½-1 с. Ниже на40 мм от верхней кромки заливной горловины. Заворачивание клапана выполнять при надетом шланге, конец которого опущен в рабочую жидкость. Нормальный уровень 15-20 мм от верхней кромки заливной горловины бочка Прокачку гидросистемы привода сцепления выполняйте для удаления воздушных пробок в гидросистеме, возникающих из-за нарушения герметичности гидравлического привода. Качество прокачки определяется величиной полного хода толкателя пневмогидроусилителя. Полный ход толкателя должен быть не менее 25 мм. |
Характеристики
Тип файла документ
Документы такого типа открываются такими программами, как Microsoft Office Word на компьютерах Windows, Apple Pages на компьютерах Mac, Open Office - бесплатная альтернатива на различных платформах, в том числе Linux. Наиболее простым и современным решением будут Google документы, так как открываются онлайн без скачивания прямо в браузере на любой платформе. Существуют российские качественные аналоги, например от Яндекса.
Будьте внимательны на мобильных устройствах, так как там используются упрощённый функционал даже в официальном приложении от Microsoft, поэтому для просмотра скачивайте PDF-версию. А если нужно редактировать файл, то используйте оригинальный файл.
Файлы такого типа обычно разбиты на страницы, а текст может быть форматированным (жирный, курсив, выбор шрифта, таблицы и т.п.), а также в него можно добавлять изображения. Формат идеально подходит для рефератов, докладов и РПЗ курсовых проектов, которые необходимо распечатать. Кстати перед печатью также сохраняйте файл в PDF, так как принтер может начудить со шрифтами.
















