2_3 (984710)
Текст из файла
ТЕХНОЛОГИЧЕСКАЯ КАРТА
Тема №7 «Техническое обслуживание ВАТ».
Учебное место №2 «Техническое обслуживание агрегатов и механизмов трансмиссии, ходовой части и тормозов автомобиля ЗиЛ-131»
Работа №3 «Частичная регулировка тормозов колёс».
Вид работы: практическая.
Время: 25 мин.
Оборудование и материалы: автомобиль ЗиЛ-131.
Инструмент: домкрат гидравлический, ключ гаечный 10х12, линейка масштабная металлическая.
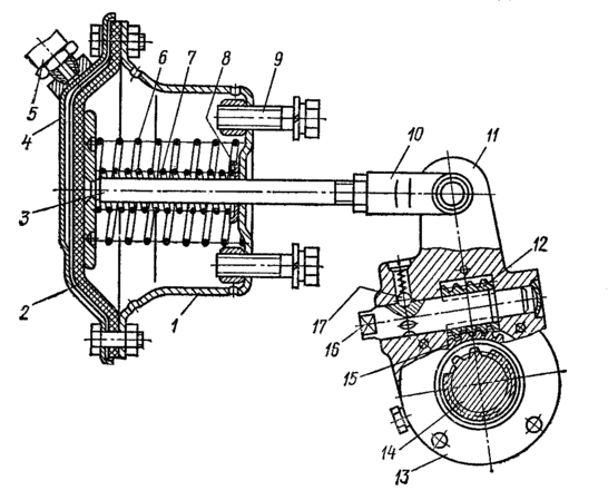
Тормозная камера с регулировочным рычагом:
1–корпус камеры; 2–диафрагма; 3–шток;4–крышка корпуса; 5–гибкий шланг; 6 и 7–пружины;
8–уплотнительная шайба; 9–болт крепления камеры; 10–вилка штока; 11–регулировочный рычаг; 12–червяк; 13–крышка; 14–вал разжимного кулака; 15–шестерня; 16–ось червяка; 17–фиксатор.
| № п/п | Содержание операции | Оборудование, инструмент, приспособления и материалы | Технические требования и указания |
| 1 | 2 | 3 | 4 |
| 1 2 3 4 5 6 | Запустить двигатель, создать давление в пневмосистеме тормозов не менее 6кгс/см2 (6·105 Па). Вывесить домкратом регулируемое колесо, проверить свободное его вращение (при регулировке тормозов задних колёс вывешивать одновременно два колеса). Вращать хвостовик червяка тормозной камеры регулируемого колеса до затормаживания колеса. Вращать хвостовик червяка тормозной камеры в обратном направлении до свободного вращения колеса от толчка рукой. Проверить действие колёсного тормоза. Произвести регулировку тормозов остальных колёс. | Домкрат гидравлический, ключ гаечный 10х12, линейка масштабная металлическая. | При нажатии на тормозную педаль, колесо должно затормозиться. Выход штока тормозной камеры должен быть в пределах 15–25мм. При регулировке необходимо добиваться одинакового выхода штоков тормозных камер на всех колёсах ближе к меньшей величине. |
Характеристики
Тип файла документ
Документы такого типа открываются такими программами, как Microsoft Office Word на компьютерах Windows, Apple Pages на компьютерах Mac, Open Office - бесплатная альтернатива на различных платформах, в том числе Linux. Наиболее простым и современным решением будут Google документы, так как открываются онлайн без скачивания прямо в браузере на любой платформе. Существуют российские качественные аналоги, например от Яндекса.
Будьте внимательны на мобильных устройствах, так как там используются упрощённый функционал даже в официальном приложении от Microsoft, поэтому для просмотра скачивайте PDF-версию. А если нужно редактировать файл, то используйте оригинальный файл.
Файлы такого типа обычно разбиты на страницы, а текст может быть форматированным (жирный, курсив, выбор шрифта, таблицы и т.п.), а также в него можно добавлять изображения. Формат идеально подходит для рефератов, докладов и РПЗ курсовых проектов, которые необходимо распечатать. Кстати перед печатью также сохраняйте файл в PDF, так как принтер может начудить со шрифтами.
















