2_5 (984712)
Текст из файла
ТЕХНОЛОГИЧЕСКАЯ КАРТА
Тема №7 «Техническое обслуживание ВАТ».
Учебное место №2 «Техническое обслуживание агрегатов и механизмов трансмиссии, ходовой части и тормозов автомобиля ЗиЛ-131».
Работа №5 «Проверка и регулировка подшипников ступиц колес».
Вид работы: практическая.
Время: 25 мин.
Оборудование и материалы: автомобиль ЗиЛ-131.
Инструмент: домкрат, торцевой ключ с воротком для гаек ступиц, ключ для шинных кранов, ключ накидной на 19, ключи гаечные 17х19, 22х27.
| № п/п | Содержание операции | Оборудование, инструмент, приспособления и материалы | Технические требования и указания |
| 1 | 2 | 3 | 4 |
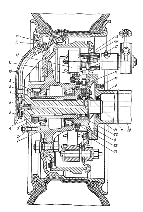
| 1 2 3 4 5 6 7 8 9 10 11 12 13 14 15 16 17 18 | Закрыть шинные краны 6 всех колёс. Вывесить с помощью домкрата колесо. Снять защитный кожух 4 трубки 10 подвода воздуха, идущей от шинного крана к вентилю камеры. Отсоединить трубку 10 подвода воздуха к вентилю камеры Снять крышку полуоси вместе с трубкой подвода воздуха. Вынуть полуось. Отвернуть контргайку 7, снять замочную шайбу 9. Затягивать регулировочную гайку 6, поворачивая при этом колесо. Подшипник колеса затянуть до сопротивления вращению колеса. После этого отвернуть регулировочную гайку на 1/6 оборота. Установить замочную шайбу 9 так, чтобы внутренний выступ её вошел в паз на кожухе полуоси, а одно из отверстий совпало со стопорным штифтом регулировочной гайки. Если совпадения не получилось. необходимо повернуть регулировочную гайку 6 в сторону ближнего отверстия. Завернуть и затянуть гайку 7. Смазать подшипник смазкой ЛИТОЛ–24 или ЯНЗ-2. Установить полуось. Установить и закрепить крышку полуоси. Присоединить трубку подвода воздуха к вентилю камеры. Установить и закрепить защитный кожух. Открыть шинный кран насоса и довести давление воздуха в шине до нормы. Опустить колесо и убрать домкрат. Аналогично выполнить регулировку подшипников двух колёс. | Домкрат, торцевой ключ с воротком для гаек ступиц, ключ для шинных кранов, ключ накидной на 19, ключи гаечные 17х19, 22х27. | Колесо должно свободно вращаться от руки без ощутимого осевого люфта. |
Характеристики
Тип файла документ
Документы такого типа открываются такими программами, как Microsoft Office Word на компьютерах Windows, Apple Pages на компьютерах Mac, Open Office - бесплатная альтернатива на различных платформах, в том числе Linux. Наиболее простым и современным решением будут Google документы, так как открываются онлайн без скачивания прямо в браузере на любой платформе. Существуют российские качественные аналоги, например от Яндекса.
Будьте внимательны на мобильных устройствах, так как там используются упрощённый функционал даже в официальном приложении от Microsoft, поэтому для просмотра скачивайте PDF-версию. А если нужно редактировать файл, то используйте оригинальный файл.
Файлы такого типа обычно разбиты на страницы, а текст может быть форматированным (жирный, курсив, выбор шрифта, таблицы и т.п.), а также в него можно добавлять изображения. Формат идеально подходит для рефератов, докладов и РПЗ курсовых проектов, которые необходимо распечатать. Кстати перед печатью также сохраняйте файл в PDF, так как принтер может начудить со шрифтами.
















