302 (1002248)
Текст из файла
Устройства управления и охраны по телефону 2
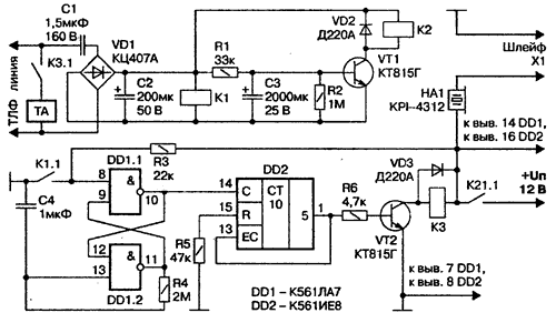
Чтобы собрать устройство, лишенное перечисленных ранее недостатков, с тем, чтобы его можно было эксплуатировать в любое время с возможностью постоянного подключения к телефонной линии, не опасаясь ложных срабатываний, рекомендую альтернативную схему приставки, представленную на рис. 1.
Это устройство позволяет проверить состояние шлейфа охраны в любое время суток, а также подать импульс для включения какого-либо устройства нагрузки (например, осветительной лампы для имитации эффекта присутствия) длительностью до 1 мин. Источник питания подключается контактами исполнительного реле К2.1 только тогда, когда с телефонной линии поступит вызов-сигнал. Этим решением достигается экономичность в работе устройства.
Рис. 1 - Устройства управления и охраны по телефону
К телефонной линии (ТЛ) постоянно подключен диодный мост VD1 через конденсатор С1. Конденсатор не пропускает постоянную составляющую напряжения, поэтому данное устройство не является нагрузкой для ТЛ (имеет большое сопротивление) пока нет вызовов.
С приходом первой посылки (вызова с ТЛ) срабатывает реле К1, контакты которого замыкают цепь управления одновибратором на микросхеме DD1. Количество замыканий реле соответствует количеству вызов-посылок от ТЛ.
На элементах микросхемы DD1 собран одновибратор, исключающий эффект "дребезга" контактов.
Одновибратор необходим для стабильной помехоустойчивой работы устройства. Благодаря зарядной цепи C4R4 выходной импульс с вывода 10 DDI Л по длительности перекрывает продолжительность вызов-посылки. После прихода пятого вызова (зависит от подключения к выходу счетчика DD2) на выводе 1 DD2 установится высокий уровень напряжения. Это приведет к остановке счета, т. к. этот же сигнал поступит на вывод 15 DD2 (вход сброса R). Далее, этот сигнал через ограничивающий резистор R6 поступит в базу транзистора VT2, включенного как усилитель тока.
Транзистор VT2 открывается и вызывает срабатывание реле КЗ, которое соответственно своими контактами К3.1 подключает к ТЛ стандартный телефонный аппарат (ТА). ТА в данной схеме (со снятой предварительно трубкой) имитирует подключение к ТЛ реального ТА.
При поступлении сигнала вызова от ТЛ выпрямляется диодным мостом VD1 и сглаживается оксидным конденсатором С2, в результате чего постоянное напряжение поступает на узел задержки на элементах R1R2C3 и на транзистор VT1, управляющий работой реле К2. После первого вызов-сигнала с ТЛ транзистор VT1 открывается и включает реле К2, которое своими контактами К2.1 подключает источник питания к элементам устройства.
Оксидный конденсатор СЗ при этом заряжается с каждой вызов-посылкой через резистор R1, и после прекращения вызов-посылок отдает накопленный заряд, обеспечивая открытое состояние транзистора VT1 и включенное— реле К2 еще в течение 35—38 сек. Затем реле К2 отключается, контакты К2.1 размыкаются, напряжение питания от источника более не поступает, размыкаются контакты реле К3.1 (ТА отключается от ТЛ). Теперь восстановлено первоначальное состояние и устройство готово к приему следующих вызов-посылок.
Узел звуковой сигнализации собран на пьезоэлектрическом капсюле НА1 со встроенным генератором 34 внутри. Благодаря применению такого капсюля, существенно упрощается схема, поэтому нет необходимости в дополнительном генераторе 34. Как работает звуковая сигнализация?
Принцип работы устройства
К контактам шлейфа охраны XI постоянно подключен концевой выключатель (геркон или микропереключатель, установленный на входной двери, датчик движения или аналогичное устройство-датчик, дистанционно контролирующее помещение) с нормально разомкнутыми контактами. При нормально разомкнутых контактах шлейф охраны считается не нарушенным.
При нарушении шлейфа охраны контакты шлейфа X1 замыкаются и подключают звуковой капсюль НА1. Но он не активен, т. к. контакты реле К2.1 разомкнуты. Это сделано специально, чтобы "замаскировать" устройство, пока нет проверки по ТЛ. Если требуется постоянная звуковая сигнализация, капсюль НА1 подключают иначе или с помощью дублирующего шлейфа включают еще один капсюль (такие схемы многократно описаны в литературе и представляют собой "классику" охранных сигнализационных систем). Но это может только отпугнуть нарушителя.
В данном случае капсюль не звучит, пока не будет проверки с помощью ТЛ. В этом случае (см. ранее) контакты К2.1 оказываются замкнутыми, и в течение 35—38 сек (в зависимости от задержки выключения реле К2, определяемой значениями элементов C3R2) и капсюль НА1 излучает громкий звук. Его располагают рядом (снятой с ТА) с телефонной трубкой, поэтому при подключении ТА к ТЛ в линию передается звуковой сигнал.
Если в качестве капсюля НА1 применить капсюль с прерывистым сигналом 34 (или с сигналом сирены — такие капсюли также есть в продаже), эффект получится еще более привлекательным.
Как проверить исправность устройства
Набрав номер телефона объекта, абонент в трубке слышит пять вызывных посылок (гудков), после этого имитацию подключения к ТЛ телефона, а далее — или тишину (или акустический фон помещения, где установлен ТА со снятой телефонной трубкой) или звуковой сигнал тревоги от капсюля НА1. Имитация автоматического снятия трубки уже может насторожить потенциальных криминальных элементов, проверяющих по телефону факт отсутствия дома хозяев, поэтому данное устройство выполняет еще одну полезную функцию по предупреждению правонарушений и преступлений.
О деталях
Все постоянные резисторы типа МЛТ-0,25 или аналогичные. Оксидный конденсатор СЗ с малым током утечки, например, К53-8 или аналогичный. Остальные оксидные конденсаторы типа К50-24. Транзисторы VT1, VT2 однотипные. Кроме указанных на электрической схеме, их можно заменить КТ503, 2N5551, КТ603, КТ605, КТ608, КТ940 с любым буквенным индексом или аналогичные.
Реле К1—КЗ на напряжение срабатывания 7—10 В с током 25—40 мА. В авторском варианте применены реле РЭС-15 (исполнение РС4.591.003). Их можно заменить WJ118-1C, Relpol RM85-2011-35-1012, 111SC-DD12-W, JZC-20F(4088) и аналогичные.
Диоды VD2, VD3 служат для исключения бросков обратного тока при включении-отключении соответствующих реле, защищая при этом соответственно транзисторы VT1 и VT2.
Остальные элементы подбирают по аналогии с предыдущей схемой. Напряжение стабилизированного источника питания 10—13 В.
"Плюсы" и "минусы"
Устройство просто в сборке и повторении, не требует дорогостоящих деталей и может быть собрано всего за один вечер. Оно также не требует налаживания, и при исправных элементах и безошибочном монтаже начинает работать сразу и надежно. По сути, электрическая схема настолько проста и естественна, что в ней попросту нечему ломаться. Именно к простоте оригинальных конструкций без потери их качества и стремится автор в своих разработках.
Самая ненадежная часть данного устройства — слаботочные электромагнитные реле (СЭМР) К1—КЗ. Хотя рекомендуемые реле имеют долгий срок наработки до отказа, все же предполагать, что устройство будет служить десятилетиями трудно. В этой области есть простор для дополнительного совершенствования схемы, достижимом, например, при замене СЭМР на оптроны.
Применение RC-цепи в качестве времязадакощей также сделано для простоты схемы (вместо этого узла можно установить цифровой счетчик времени, более точный). Поэтому задержка выключения (отсоединения устройства от ТЛ) может колебаться время от времени и это колебание достигать 10 % от расчетного — 35 сек. Задержка выключения узла пропорционально зависит от емкости оксидного конденсатора СЗ. Но в данной схеме это не принципиально, т. к. и с таким "недостатком" устройство работает в авторском варианте надежно и эффективно.
Дополнительные возможности
Устройство можно совершенствовать практически до бесконечности, заменяя отдельные его блоки и узлы.
Так, например, с помощью несложной доработки устройства, которая сейчас проходит авторские испытания, можно с помощью ТА с тональным набором управлять различными устройствами нагрузки, как-то: включить мощный ревун, свет во всей квартире или заблокировать дверь на лоджию с помощью электромагнита.
При использовании реле К2 или КЗ с двумя и более группами контактов разумно одну из таких групп подключить для коммутации освещения в помещении. Это придаст устройству дополнительный колорит, интерьерам привлекательность, а для криминальных элементов имитацию наличия дома хозяев. И все это можно осуществить дистанционно с помощью обычного или сотового телефона в любое время суток.
Подключив в качестве шлейфа XI не один, а несколько шлейфов (датчиков) и соответственно к ним различные по тональности генераторы 34 (или генераторы с прерыванием), можно дистанционно с помощью ТЛ за один звонок контролировать сразу несколько устройств (например, дверь на лоджию, входную дверь, целостность стекол и даже... закрытую дверь холодильника). Поэтому в данном направлении имеется большой простор для творчества.
Характеристики
Тип файла документ
Документы такого типа открываются такими программами, как Microsoft Office Word на компьютерах Windows, Apple Pages на компьютерах Mac, Open Office - бесплатная альтернатива на различных платформах, в том числе Linux. Наиболее простым и современным решением будут Google документы, так как открываются онлайн без скачивания прямо в браузере на любой платформе. Существуют российские качественные аналоги, например от Яндекса.
Будьте внимательны на мобильных устройствах, так как там используются упрощённый функционал даже в официальном приложении от Microsoft, поэтому для просмотра скачивайте PDF-версию. А если нужно редактировать файл, то используйте оригинальный файл.
Файлы такого типа обычно разбиты на страницы, а текст может быть форматированным (жирный, курсив, выбор шрифта, таблицы и т.п.), а также в него можно добавлять изображения. Формат идеально подходит для рефератов, докладов и РПЗ курсовых проектов, которые необходимо распечатать. Кстати перед печатью также сохраняйте файл в PDF, так как принтер может начудить со шрифтами.















