158 (1002233)
Текст из файла
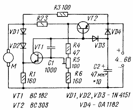
Регулятор частоты вращения (электродвигатель 3 - 4,5 В)
На схеме представлен вариант схемы устройства регулятора частоты вращения электродвигателя постоянного тока, который рекомендуют ряд европейских журналов для замены аналогичного устройства микромодульного исполнения типа ВА6235 в носимом плейере (рекомендации приведены для модели LEVIS КС-26).
Рис. 1 (Схема регулятора частоты вращения.)
Предложенную схему можно применить и в других малогабаритных плейерах и магнитофонах иностранного и отечественного производства, где для питания электродвигателя необходимо напряжение 3...4,5 В.
Для повышения термостабилизации работы устройства, в качестве диодов VDl - VD3 следует применить кремниевые (КД521, Д220 с любыми буквенными индексами), a VD4 - германиевый, например ГД507А. Транзисторы заменимы на отечественные: VT1 - КТ315Б, VT2 - КТ502А.
Источник: Радио №4, 1994 г., стр.44
Характеристики
Тип файла документ
Документы такого типа открываются такими программами, как Microsoft Office Word на компьютерах Windows, Apple Pages на компьютерах Mac, Open Office - бесплатная альтернатива на различных платформах, в том числе Linux. Наиболее простым и современным решением будут Google документы, так как открываются онлайн без скачивания прямо в браузере на любой платформе. Существуют российские качественные аналоги, например от Яндекса.
Будьте внимательны на мобильных устройствах, так как там используются упрощённый функционал даже в официальном приложении от Microsoft, поэтому для просмотра скачивайте PDF-версию. А если нужно редактировать файл, то используйте оригинальный файл.
Файлы такого типа обычно разбиты на страницы, а текст может быть форматированным (жирный, курсив, выбор шрифта, таблицы и т.п.), а также в него можно добавлять изображения. Формат идеально подходит для рефератов, докладов и РПЗ курсовых проектов, которые необходимо распечатать. Кстати перед печатью также сохраняйте файл в PDF, так как принтер может начудить со шрифтами.
















