187 (1002237)
Текст из файла
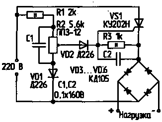
Регулятор мощности с обратной связью
Часто необходимо понизить частоту вращения электродрели или иного электроинструмента с коллекторным двигателем переменного тока. Предлагаемая схема обеспечивает регулирование с обратной связью по току коллекторного двигателя переменного тока, благодаря чему при увеличении нагрузки соответственно увеличивается крутящий момент на валу.
Регулятор, приведенный на рисунке, состоит из силового ключа на тринисторе VS1, выпрямительных вентилей VD1, VD2 и переменного резистора R2 в цепи управления. На выходе предусмотрен выпрямительный мост. Все элементы регулятора смонтированы на плате навесным монтажом и закрыты ударопрочным корпусом. Перегрева тринистора не наблюдалось, поэтому он установлен на монтажной стойке без теплоотвода.
Puc.1 - Принципиальная схема регулятора мощности с обратной связью.
Некоторую трудность представляет механический узел, передающий усилие от педали на ось потенциометра, но это преодолимо, если применить зубчатый сектор и шестерню.
Характерная черта работы регулятора — его обратная связь по нагрузке. При увеличении нагрузки увеличивается крутящий момент на валу двигателя. Благодаря этому машина легко проходит утолщения в виде швов, работает более плавно. Искрения на коллекторе не наблюдалось.
При использовании регулятора для более мощных двигателей необходимо подобрать по току выпрямительный мост и тринистор установить на радиатор.
Литература
1. Бастанов В.Г. 300 практических советов.— 1989.
2. Радио.— 1990.— N1.
3. Радиолюбитель. — 1996. —N12. РАДИОЛЮБИТЕЛЬ 12/97, с.21.
Автор: И.СЕМЕНОВ
Характеристики
Тип файла документ
Документы такого типа открываются такими программами, как Microsoft Office Word на компьютерах Windows, Apple Pages на компьютерах Mac, Open Office - бесплатная альтернатива на различных платформах, в том числе Linux. Наиболее простым и современным решением будут Google документы, так как открываются онлайн без скачивания прямо в браузере на любой платформе. Существуют российские качественные аналоги, например от Яндекса.
Будьте внимательны на мобильных устройствах, так как там используются упрощённый функционал даже в официальном приложении от Microsoft, поэтому для просмотра скачивайте PDF-версию. А если нужно редактировать файл, то используйте оригинальный файл.
Файлы такого типа обычно разбиты на страницы, а текст может быть форматированным (жирный, курсив, выбор шрифта, таблицы и т.п.), а также в него можно добавлять изображения. Формат идеально подходит для рефератов, докладов и РПЗ курсовых проектов, которые необходимо распечатать. Кстати перед печатью также сохраняйте файл в PDF, так как принтер может начудить со шрифтами.
















