147 (1002232)
Текст из файла
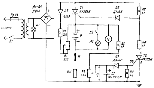
Устройство для автоматической подзарядки аккумуляторов в системе аварийного питания
Источником питания аварийного питания освещения, сигнализации и других устройств на многих объектах служат аккумуляторные батареи напряжением 12 В. Однако в процессе эксплуатации они разряжаются. Предлагаемое устройство для автоматической подзарядки аккумуляторных батарей в системе аварийного питания в процессе эксплуатации показано на схеме.
Устройство питается от сети переменного тока напряжением 127— 220 В и работает следующим образом. Во время заряда батареи Б тиристор Т1 открыт. При этом напряжение U на потенциометре R4 ниже порогового напряжения (12—14 В) стабилитрона Д7, и тиристор Т2 закрыт.
Когда напряжение батареи приближается к значению полного заряда, отпирается тиристор Т2, и через делитель напряжения R6—R7 на управляющий электрод тиристора Т1 подается запирающее напряжение отрицательной полярности.
Тиристор Т1 закрывается, батарея разряжается и переходит в режим дозарядки малым током, определяемым величиной сопротивления резисторов R1, R2 и RЗ. Величина тока дозарядки может устанавливаться резистором R2.
Величина зарядного тока батареи может быть замерена амперметром, включенным вместо перемычки П. Повторный заряд батареи начинается автоматически, когда ее напряжение упадет настолько, что тиристор Т2 закроется.
При первом включении схему следует настроить. Это достигается изменением сопротивления резистора R4 до такого значения, пока в цепи батареи не появится ток и не откроется тиристор Т1. В дальнейшем схема в подстройке не нуждается и работает в автоматическом режиме. Устройство не только подзаряжает, но и поддерживает номинальную емкость аккумуляторных батарей в системе аварийного питания
Источник: "300 практических советов", М.,1986г.
Автор: Бастанов В.Г.
Характеристики
Тип файла документ
Документы такого типа открываются такими программами, как Microsoft Office Word на компьютерах Windows, Apple Pages на компьютерах Mac, Open Office - бесплатная альтернатива на различных платформах, в том числе Linux. Наиболее простым и современным решением будут Google документы, так как открываются онлайн без скачивания прямо в браузере на любой платформе. Существуют российские качественные аналоги, например от Яндекса.
Будьте внимательны на мобильных устройствах, так как там используются упрощённый функционал даже в официальном приложении от Microsoft, поэтому для просмотра скачивайте PDF-версию. А если нужно редактировать файл, то используйте оригинальный файл.
Файлы такого типа обычно разбиты на страницы, а текст может быть форматированным (жирный, курсив, выбор шрифта, таблицы и т.п.), а также в него можно добавлять изображения. Формат идеально подходит для рефератов, докладов и РПЗ курсовых проектов, которые необходимо распечатать. Кстати перед печатью также сохраняйте файл в PDF, так как принтер может начудить со шрифтами.
















