300 (1002246)
Текст из файла
Световой индикатор телефонных звонков
Иногда возникает необходимость световой индикации поступающих телефонных звонков. Индикатор может потребоваться в ситуациях, когда по каким-то причинам вызывное устройство телефонного аппарата отключено или убавлена его громкость; телефонным аппаратом пользуются люди с ослабленным слухом; аппарат установлен в шумном помещении, например, в автомобильном гараже, заводском цеху и в других подходящих случаях.
От других аналогичных устройств конструкцию отличает то, что для индикации могут использоваться несколько ламп накаливания, рассчитанных на напряжение 220 В. Устройство позволяет в случае аварии избегать выхода из строя абонентских телефонных аппаратов, линий связи и оборудования АТС.
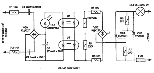
Схема устройства показана на рис. 1.
Рис. 1. Электрическая схема индикатора телефонных звонков
Для изоляции входной части устройства от силового узла используются ти-ристорные оптроны U1 и U2, которые обеспечивают надежную развязку от сетевого напряжения.
Принцип действия устройства
При поступлении вызывного сигнала переменное напряжение через ограничительные резисторы Rl, R2 и конденсаторы CI, С2 поступает для выпрямления на диодный мост VD1. Выпрямленное напряжение фильтруется конденсатором СЗ. В качестве нагрузки к выходу диодного моста VD1 последовательно подключены светодиод HL1 и излучающие диоды оптронов U1 hU2.
Когда поступает вызывной сигнал, тиристорные части оптронов открываются, через диодный мост VD2 и управляющие электроды тиристоров VS1, VS2 начинает протекать ток, достаточный для того, чтобы тиристоры открылись, что будет сопровождаться зажиганием лампы EL1.
Номиналы элементов подобраны таким образом, чтобы при вызывном сигнале лампа светилась, незначительно мерцая, почти полным накалом, а при наборе номера следовали короткие вспышки примерно вполовину мощности. Такой режим не создает неудобств при пользовании телефонным аппаратом.
При необходимости полностью исключить мерцание лампы во время набора номера можно установить в телефонный аппарат дополнительный выключатель, который бы отключал световой сигнализатор от телефонной линии при поднятии трубки. Конденсатор СЗ предотвращает случайные вспышки лампы при коротких импульсных помехах в телефонной линии.
О деталях
Резисторы можно применить типов МЛТ, С2-23. Конденсаторы CI, С2 — К73-11, К73-17, К73-29, СЗ— К50-35. Малогабаритные диодные мосты КЦ422Г можно заменить на КЦ407А или выпрямительными диодами серий КД209, КД258 (с индексами Б—Д), КД105 (Б—Г). Тиристорные оптроны АОУ103В можно заменить на ЗОУ103 с индексами А—В или АОУ103Б. Оп-трон ЗОУ103Г, по справочным данным, выдерживает выходное обратное напряжение до 400 В. При его применении два оптрона можно заменить одним, в этом случае выравнивающие напряжение резисторы R3 и R4 не нужны.
В устройстве можно применить тиристоры серии КУ202 с индексами К, Л, М, а при мощности ламп накаливания не более 400 Вт—КУ201 Л. Устанавливать тиристоры на теплоотводы не требуется.
Предохранитель FU1 выбирают на ток, примерно вдвое больший, чем потребляют лампы. Например, если в качестве нагрузки будет подключена одна лампа на 200 Вт, то предохранитель должен быть рассчитан на 2 А.
Налаживание
Правильно собранный из исправных деталей индикатор звонков начинает работать сразу. К телефонной линии следует подключать не более одного индикатора. При необходимости можно подключить к устройству несколько ламп накаливания, разместив их в разных помещениях.
Характеристики
Тип файла документ
Документы такого типа открываются такими программами, как Microsoft Office Word на компьютерах Windows, Apple Pages на компьютерах Mac, Open Office - бесплатная альтернатива на различных платформах, в том числе Linux. Наиболее простым и современным решением будут Google документы, так как открываются онлайн без скачивания прямо в браузере на любой платформе. Существуют российские качественные аналоги, например от Яндекса.
Будьте внимательны на мобильных устройствах, так как там используются упрощённый функционал даже в официальном приложении от Microsoft, поэтому для просмотра скачивайте PDF-версию. А если нужно редактировать файл, то используйте оригинальный файл.
Файлы такого типа обычно разбиты на страницы, а текст может быть форматированным (жирный, курсив, выбор шрифта, таблицы и т.п.), а также в него можно добавлять изображения. Формат идеально подходит для рефератов, докладов и РПЗ курсовых проектов, которые необходимо распечатать. Кстати перед печатью также сохраняйте файл в PDF, так как принтер может начудить со шрифтами.
















