299 (1002245)
Текст из файла
Индикатор занятости телефонной линии на микросхеме
Среди множества разнообразных схем, которые были изучены на практике, очень мало индикаторов соответствуют определению "простых" и "эффективных".
Одно из таких устройств — индикатор занятости ТЛ — собирается на микросхеме LTC1540. Эта микросхема представляет собой компаратор, имеющий очень высокую чувствительность по входу и управляющий нагрузкой в виде светодиодного индикатора.
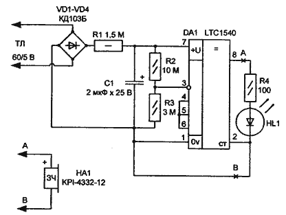
Напряжение питания микросхемы 3-20 В, а потребляемый ток очень мал — порядка единиц микроампер. Благодаря таким параметрам микросхема LTC1540 практически не нагружает телефонную линию. На рис. 1 представлена электрическая схема индикатора занятости линии.
Принцип работы схемы
Напряжение питания поступает от телефонной линии. Резистор Rl ограничивает ток питания микросхемы после выпрямительного моста VD1—VD4. Оксидный конденсатор С1 сглаживает пульсации напряжения. При "свободной" линии напряжение в ТЛ имеет постоянный вид тока и находится в диапазоне 60—100 В. Если у абонента снята трубка, то напряжение в ТЛ падает до 3— 10 В. Эта особенность ТЛ и используется в устройстве "индикатора".
Рис. 1 Электрическая схема индикатора занятости телефонной линии
Пока напряжение в ТЛ более 20 В (этот порог чувствительности устанавливается делителем на резисторах R2, R3), на выходе микросхемы (вывод 8 DA1) присутствует низкий уровень и светодиод HL1 не светится. Если напряжение в средней точки резистивного делителя ниже +20 В (относительно "-*' питания, т. е. точки "В"), на выходе микросхемы появляется высокий уровень и светодиод HL1 начинает светиться. На схеме намеренно не указан тип светодиодного индикатора, т. к. в качестве HL1 возможно применение практически любого светодиода с током 5...20мА. Оптимальные результаты достигаются при применении "мигающего" светодиода, например L-36B, L-816BRSC-B и аналогичных.
Индикатор HL1 и ограничительный резистор R4 можно заменить пьезоэлектрическим капсюлем-генератором 34, например FMQ-20I5B, FY-14A или аналогичным. Если применить показанный внизу рисунка капсюль НА1 KPI-4332-12, звук индикатора будет прерывистым, что еще более привлечет внимание, если устройство используется в качестве сигнализатора "прослушки" линии.
Налаживание
При подключении капсюля следует соблюдать полярность так, как показано на рисунке.
Полярность подключения к ТЛ не принципиальна. Устройство в налаживании не нуждается.
О деталях
Вместо диодов VD1—VD4 применяют КД105, КД103, Д220 с любым буквенным индексом или готовые диодные сборки, например КЦ402, КЦ405, КЦ407, КЦ410 с любым буквенным индексом.
Кроме рассмотренного варианта, данный электронный узел и в частности микросхему LTC1540 применяют в других устройствах, например, в параметрических сигнализаторах различного назначения, где требуется высокое входное сопротивление, малый ток потребления и чувствительный порог срабатывания (переключения) микросхемы-компаратора, гистерезис которого находится в пределах всего 0,3—0,5 В.
Характеристики
Тип файла документ
Документы такого типа открываются такими программами, как Microsoft Office Word на компьютерах Windows, Apple Pages на компьютерах Mac, Open Office - бесплатная альтернатива на различных платформах, в том числе Linux. Наиболее простым и современным решением будут Google документы, так как открываются онлайн без скачивания прямо в браузере на любой платформе. Существуют российские качественные аналоги, например от Яндекса.
Будьте внимательны на мобильных устройствах, так как там используются упрощённый функционал даже в официальном приложении от Microsoft, поэтому для просмотра скачивайте PDF-версию. А если нужно редактировать файл, то используйте оригинальный файл.
Файлы такого типа обычно разбиты на страницы, а текст может быть форматированным (жирный, курсив, выбор шрифта, таблицы и т.п.), а также в него можно добавлять изображения. Формат идеально подходит для рефератов, докладов и РПЗ курсовых проектов, которые необходимо распечатать. Кстати перед печатью также сохраняйте файл в PDF, так как принтер может начудить со шрифтами.















