298 (1002244)
Текст из файла
Аквариумный таймер
Аквариумный таймер, работающий в режиме циклической генерации, сегодня не новость для радиолюбителей, тем не менее конструкция актуальна.
Промышленность (в том числе зарубежная) бьет все рекорды по выпуску электронных и электромеханических таймеров, программируемых для выдержки времени в определенные дни и часы недели (и месяца). Конкуренция в области производства таймеров бытового предназначения выросла за пару лет в разы. Однако для радиолюбителя-практика и сегодня актуально создание собственных схем, вместо предлагаемых промышленностью.
Одна из схем подобного назначения, воплотившая наиболее простое схемное решение, представлена на рис. 1.
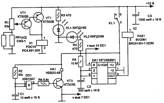
Рис. 1 - Схема аквариумного таймера с узлом звуковой сигнализации.
Особенности устройства в полуавтоматическом режиме работы. При наступлении рассвета (включении освещения в комнате, где установлены фотодатчики) электронное устройство издает кратковременный звуковой сигнал и включает слаботочное электромагнитное реле К2. Исполнительные контакты реле К2, в свою очередь, включают лампу аквариумного освещения вместе с компрессором-помпой (на схеме не показаны). Лампа освещения и компрессор остаются включенными в течение почти 4 ч (зависит от номиналов элементов R5C2). По окончании выдержки времени лампа освещения и компрессор отключаются. При новом рассвете (новом включении света в комнате после периода затемнения) цикл работы устройства повторяется — так происходит ежедневно.
В основе устройства таймер на популярной микросхеме КР1006ВИ1. Он собран по классической схеме в режиме автогенерации импульсов большой длительности. На выходе таймера включено электромагнитное реле К2, своими контактами К2.1 оно управляет подачей напряжения на компрессор аквариума и осветительную лампу. Лампа может быть как люминесцентной (с соответствующей схемой управления), так и лампой накаливания с мощностью до 15 Вт. Более большая мощность не желательна из-за возможности перегрева и оплавления верхней крышки аквариума, в которой установлена лампа освещения. Компрессор — любой промышленный для аквариумов.
В схему введен узел управления самой микросхемой КР1006ВИ1 в зависимости от внешнего освещения. Это сделано для того, чтобы таймер и соответственно лампа освещения аквариума и компрессор включались только в светлое время суток, а ночью были не активны. Данный фоточувствительный узел собран на однотипных транзисторах VT1, VT2, нагруженных на электромагнитное реле К1. Коммутирующие контакты реле К1.1 подают питание на (или отключают от питания) микросхему DA1. При слабой освещенности однотипных фоторезисторов СФЗ-1 (включенных параллельно и обозначенных единым обозначением на схеме PR1) транзисторы VT1, VT2 закрыты, соответственно реле К1 обесточено, контакты реле К1.1 с номерами 3 и 5 (согласно схеме рис. 1) разомкнуты и на автогенератор, собранный на микросхеме DA1, напряжение не поступает. Соответственно контакты К2.1 разомкнуты и лампа освещения аквариума, а также компрессор обесточены.
Переменный резистор R1 введен в схему для удобства регулировки порога включения транзисторного каскада VT1, VT2. Резистор R1 определяет чувствительность данного узла к световому потоку.
Если освещение фоторезисторов достаточно, например днем, сопротивление фоторезисторов PR1 мало, транзисторы VT1, VT2 открыты, реле К1 включено, на микросхему DA1 подано напряжение питания, индикаторный светодиод HL2 (аналогичный по электрическим характеристикам HL1) светится. На узел звуковой индикации подано питание. Микросхема DA1, включенная в режиме отсчета выдержки времени в соответствии с номиналами элементов времязадающей цепи R5C2, начинает отсчет времени. Реле К2 включено, лампа освещения аквариума и компрессор включены.
По окончании выдержки времени, заданной номиналами элементов R5C2 (примерно 240 мин) на выводе 3 микросхемы DA1, появляется высокий уровень напряжения, реле отпускает и контакты К2.1 размыкаются, лампа освещения погаснет, компрессор выключится.
Теперь следующее включение произойдет после того, как контакты К1.1 разомкнутся (это произойдет при недостаточной освещенности, например, вечером и ночью), а затем снова замкнутся с наступлением нового дня или включением основного света в комнате, где установлены фотодатчики PRI.
Узел звукового сопровождения подключается непосредственно параллельно к контактам питания того устройства, включение которого он призван контролировать, в данном случае параллельно питанию микросхемы DA1.
В основе этого электронного узла популярная микросхема К561ЛА7. Благодаря применению одного из ее логических элементов, а также использования капсюля со встроенным генератором звуковой частоты (34) НА1 в схему нет необходимости вводить какие-либо генераторы импульсов или усилители к ним. Такой же узел несложно собрать и на логических элементах других микросхем КМОП (например, К561ЛЕ5, К561ТЛ1), однако наиболее простое схемное решение показано на рис. 1.
Схема кратковременной звуковой сигнализации основана на одном логическом элементе DD1.1 микросхемы К561ЛА7, включенном как инвертор. При подаче питания на входе элемента (выводы 1 и 2 DD1.1) присутствует низкий уровень напряжения до тех пор, пока не зарядится оксидный конденсатор С1 через ограничительный резистор R2. Пока этого не произошло, на выходе элемента (вывод 3 элемента DD1.1) присутствует высокий уровень напряжения. Он поступает через ограничивающий ток резистор R6 в базу транзистора VT3, работающего в режиме усилителя тока. Транзистор VT3 открыт, сопротивление его перехода коллектор-эмиттер близко к нулю и на пьезоэлектрический капсюль со встроенным генератором звуковой частоты НА1 подано напряжение питания.
Когда постоянное напряжение на пьезоэлектрическом капсюле со встроенным генератором НА1 окажется почти равным напряжению питания устройства капсюль переходит в режим генерации колебаний звуковой частоты.
По мере заряда конденсатора С1 через резистор R2 и внутренний узел элемента DD1.1 происходит изменение состояния выхода микросхемы. Когда напряжение на обкладках конденсатора С1 достигнет уровня переключения микросхемы, она переключится и высокий уровень напряжения на выходе DD1.1 сменится низким. Транзистор VT1 закроется. Постоянное напряжение на пьезоэлектрическом капсюле со встроенным генератором НА! окажется почти равным нулю, и капсюль перейдет в режим ожидания.
При указанных на схеме значениях элементов R2 и С1 задержка выключения звука составит около 3 сек. Ее можно увеличить, соответственно увеличив
емкость конденсатора С1. В качестве конденсатора С1 лучше использовать оксидный типа К50-29, К50-35 и аналогичный с небольшим током утечки. В обратную сторону длительность временного интервала можно легко сократить, уменьшив сопротивление резистора R2. Если вместо него установить переменный резистор с линейной характеристикой, то получится устройство с регулируемой задержкой.
Функцию данного электронного узла можно поменять на обратную — т. е. сделать так, чтобы пьезоэлектрический капсюль НА1 молчал первые 3 секунды после подачи на устройство питания, а затем все остальное время работал. Для этого оксидный конденсатор С1 и времязадающий резистор R1 следует поменять местами (с соблюдением полярности включения оксидного конденсатора— положительной обкладкой к "плюсу" питания). При этом средняя точка их подключения к выводам 1 и 2 элемента DD1.1 сохраняется. В таком варианте устройство без особых изменений можно применять для звукового сигнализатора открытой (сверх меры) дверцы холодильника. Кроме того, вариантов применения данного простого и надежного устройства бесконечно много и они ограничены только фантазией радиолюбителя.
Налаживание
Устройство в налаживании не нуждается. Элементы устройства закрепляют на монтажной плате. Корпус любой подходящий.
О деталях
Резистор Rl — типа СПЗ-4 или аналогичный, с линейной характеристикой изменения сопротивления. Все постоянные резисторы R2—R6 типа МЛТ-0,125 и МЛТ-0,25. Оксидные конденсаторы типа К50-29 или аналогичные. Светодиоды любые с током 5...8 мА, например, АЛ307БМ. Транзисторы VT1, VT2 типа КТЗ107А — КТЗ107Ж или аналогичные. Транзистор VT3 любой кремниевый, малой и средней мощности структуры n-p-п, например, КТ603, КТ608, КТ605, КТ801, КТ972, КТ940 с любым буквенным индексом. Реле Kl, К2 на напряжение срабатывания 8—12 В и ток до 30 мА. Реле К2, кроме того, должно обладать особыми свойствами коммутационных контактов, т. е. рассчитанное на напряжение коммутации не менее 250 В и ток не менее 1 А. Пьезоэлектрический капсюль может быть любым, рассчитанным на напряжение 4—20 В постоянного тока, например FMQ-2015D, FXP1212,KPI-4332-12.
Источник питания - стабилизированный, обеспечивающий выходное напряжение 5—15 В. В этом диапазоне микросхемы DDI и DA1 функционируют стабильно.
Оксидный конденсатор СЗ сглаживает пульсации питающего напряжения. Ток потребления в активном режиме звукового сигнала с применением указанных на схеме элементов составляет 60—62 мА. Громкость звука достаточна настолько, что сигнал хорошо слышен в помещении на расстоянии до 10 м.
Характеристики
Тип файла документ
Документы такого типа открываются такими программами, как Microsoft Office Word на компьютерах Windows, Apple Pages на компьютерах Mac, Open Office - бесплатная альтернатива на различных платформах, в том числе Linux. Наиболее простым и современным решением будут Google документы, так как открываются онлайн без скачивания прямо в браузере на любой платформе. Существуют российские качественные аналоги, например от Яндекса.
Будьте внимательны на мобильных устройствах, так как там используются упрощённый функционал даже в официальном приложении от Microsoft, поэтому для просмотра скачивайте PDF-версию. А если нужно редактировать файл, то используйте оригинальный файл.
Файлы такого типа обычно разбиты на страницы, а текст может быть форматированным (жирный, курсив, выбор шрифта, таблицы и т.п.), а также в него можно добавлять изображения. Формат идеально подходит для рефератов, докладов и РПЗ курсовых проектов, которые необходимо распечатать. Кстати перед печатью также сохраняйте файл в PDF, так как принтер может начудить со шрифтами.
















