варианты к лабораторной (955269), страница 5
Текст из файла (страница 5)
Удар при подаче заготовки передается от ролика поз. 6 на пружину поз. 7 амортизатора через шток поз. 4.Вилка поз. 10 установлена на конце штока, который может перемещаться только в осевом направлении, для чего имеется направляющая шпонка поз. 18. Регулирование первоначальной силы нажатия пружины на ролик производится с помощью гайки поз. 16. К трущимся поверхностям деталей ролика через каналы оси поз. 8 подводится смазка.
Цилиндр поз. 2 крепится к корпусу поз. 1 шестью шпильками поз. 17 и гайками поз. 15. Шесть нижних отверстий корпуса предназначены для крепления роликового амортизатора к раме или станине агрегата.
Материал деталей поз. 1,2,10 —СЧ 15 ГОСТ 1412—79, деталей поз. 3, 5, 8— Сталь 20 ГОСТ 1050—74, детали поз. 7 — Сталь 65Г ГОСТ 1050-74; поз.4 ,6-сталь 45; поз. 9-бронза; поз.11-ст 3.
| Поз. | Обозначение | Наименование | Кол. |
| Документация | |||
| МЧ00.36.00.00.СБ | Сборочный чертеж | ||
| Детали | |||
| 1 | МЧ00.36.00.01 | Корпус | 1 |
| 2 | МЧ00.36.00.02 | Стойка | 1 |
| 3 | МЧ00.36.00.03 | Ролик | 1 |
| 4 | МЧ00.36.00.04 | Клин | 1 |
| б | МЧ00.36.00.05 | Ось | 1 |
| 6 | МЧ00.36.00.06 | Крышка | 1 |
| 7 | МЧ00.36.00.07 | Винт М20 | 1 |
| 8 | МЧ00.36.00.08 | Болт MI6 | 2 |
| Стандартные изделия | |||
| 9 | Винт М6Х 16.58 ГОСТ 1477—84 | 2 | |
| 10 | Гайка MI2.5 ГОСТ 5915-70 | 2 | |
| 11 | Гайка M16.5 ГОСТ 5915—70 | 2 | |
| 12 | Шпилька М12Х 25.58 ГОСТ 22034—76 | 2 |
Описание работы изделия
Роликовое устройство применяется при транспортировке листового материала, который перекатывается по роликам.
Корпус поз. 1 прикрепляется к раме машины четырьмя болтами (рама и болты на чертеже не показаны).
При вращении винта поз. 7 клин поз. 4 скользит по наклонной плоскости корпуса, в результате чего стойка поз. 2 с роликом поз. 3 поднимается или опускается, После установки ролика на нужном уровне стойку закрепляют болтами поз. 8 и гайками поз, 11. Ролик вращается на оси поз, 5, которая фиксируется на стойке винтами поз. 9.
К трущимся поверхностям ролика и оси по отверстиям и специальным канавкам в оси поступает густая смазка из масленки. Масленка запрессовывается в отверстие оси поз. 5 (на чертеже не показана).
Материал деталей поз. 1 ... 4, 6 — СЧ 15 ГОСТ 1412—79, деталей поз. 5, 7, 8 — Сталь 20
ГОСТ 1050—74.
| Поз. | Обозначение | Наименование | Кол. |
| Документация | |||
| МЧ00.40.00.00.СБ | Сборочный чертеж | ||
| Детали | |||
| 1 | МЧ00.40.00.01 | Рама | 1 |
| 2 | МЧ00.40.00.02 | Ролик | 1 |
| 3 | МЧ00.40.00.03 | Ползун | 1 |
| 4 | МЧ00.40.00.04 | Крышка | 1 |
| 5 | МЧ00.40.00.05 | Крышка | 1 |
| 6 | МЧ00.40.00.06 | Втулка | 1 |
| 7 | МЧ00.40.00.07 | Гайка | 1 |
| 8 | МЧ00.40.00.08 | Крышка | 1 |
| 9 | МЧ00.40.00.09 | Винт | 1 |
| 10 | МЧ00.40.00.10 | Пружина | 1 |
| Стандартные изделия | |||
| 11 | Болт М14Х 40.58 ГОСТ 7798—70 | 6 | |
| 12 | Болт MI6X 45.68 ГОСТ 7798—70 | 12 | |
| 13 | Кольцо СГ 88-69-7 ГОСТ 6418—81 | 1 | |
| 14 | Шарикоподшипник 208 ГОСТ 8338—75 | 2 |
Описание работы изделия
Натяжной ролик предназначен для натяжения ремней в клиноременных передачах.
Основанием ролика служит рама поз. 1, закрепленная 12 болтами на месте установки. На цилиндрическую часть ползуна поз. 3 устанавливают два шарикоподшипника поз. 14, на которых свободно вращается ролик поз. 2. Перемещение ползуна в направляющих пазах рамы осуществляется при помощи винта поз. 9. При вращении винта гайка поз. 7 перемещается и через пружину поз. 10 воздействует на ползун.
Материал детали поз. 1 — СЧ 16 ГОСТ 1412—79, деталей поз. 2 ... 5, 7, 8 — Сталь 20 ГОСТ 1050—74, деталей поз. 6 — Ст 5 ГОСТ 380—71, детали поз. 10 — Сталь 65Г ГОСТ 1060—74.; поз.9- сталь 40Х
| Поз. | Обозначение | Наименование | Кол. |
| Документация | |||
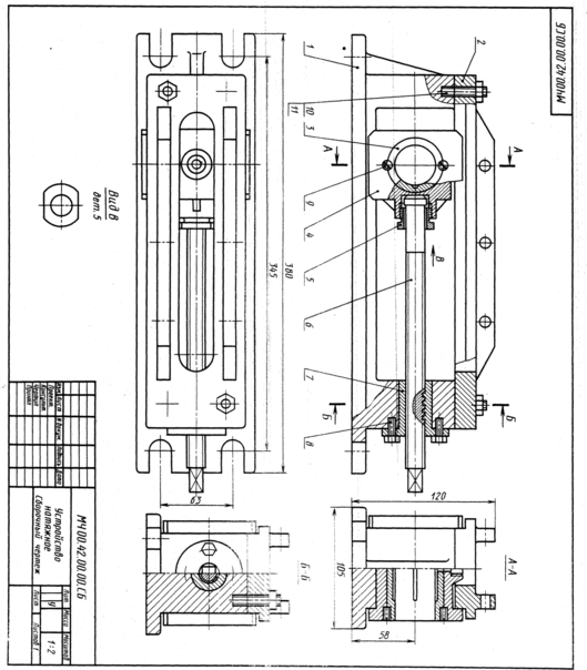
| МЧ00.42.00.00.СБ | Сборочный чертеж | ||
| Детали | |||
| 1 | МЧ00. 42.00.01 | Корпус | 1 |
| 2 | МЧ00.42.00.02 | Крышка | 1 |
| 3 | МЧ00. 42.00.03 | Вкладыш | 1 |
| 4 | МЧ00.42.00.04 | Ползун | 1 |
| 5 | МЧ00.42.00.05 | Втулка | 1 |
| 6 | МЧ00.42.00.06 | Винт | 1 |
| 7 | МЧ00.42.00.07 | Фланец | 1 |
| Стандартные изделия | |||
| 8 | Болт М8Х 35.58 ГОСТ 7798—70 | 4 | |
| 9 | Винт М6Х 16.58 ГОСТ 1477—84 | 2 | |
| 10 | Шпилька М10Х 50.58 ГОСТ 22034—76 | 4 | |
| 11 | Гайка М10.5 ГОСТ 5915—70 | 4 |
Описание работы изделия
Натяжное устройство предупреждает провисание под нагрузкой ленты или цепи конвейера. Натяжение ленты осуществляется горизонтальным перемещением ползуна поз. 4 по направляющим корпуса поз. 1. Крышка поз. 2 крепится к корпусу четырьмя шпильками поз. 10. Корпус закрепляется на раме конвейера четырьмя болтами. Через резьбовое отверстие ползуна подается смазка, которая по канавкам распределяется по всей трущейся поверхности вкладыша поз.3. Винты поз. 9 предохраняют вкладыши от проворачивания.
Материал деталей поз. 1, 2, 4 — СЧ 15 ГОСТ 1412—79, поз. 5 — Сталь 20 ГОСТ 1050—74, поз. 6, 7 — Сталь 45 ГОСТ 1050—74; поз.3-бронза.
| Поз. | Обозначение | Наименование | Кол. |
| Документация | |||
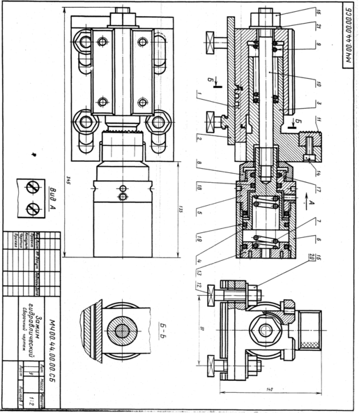
| МЧ00.44.00.00.СБ | Сборочный чертеж | ||
| Детали | |||
| 1 | МЧ00.44.00.01 | Корпус | 1 |
| 2 | МЧ00. 44.00.02 | Плита | 1 |
| 3 | МЧ00.44.00.03 | Зажим | 1 |
| 4 | МЧ00.44.00.04 | Поршень | 1 |
| 5 | МЧ00.44.00.05 | Крышка | 1 |
| 6 | МЧ00.44.00.06 | Цилиндр | 1 |
| 7 | МЧ00.44.00.07 | Пружина | 1 |
| 8 | МЧ00.44.00.08 | Гайка | 1 |
| 9 | МЧ99.44.00.09 | Пружина | 1 |
| 10 | МЧ00.44.00.10 | Шток | 1 |
| 11 | MЧ00.44.00.11 | Пластина | 1 |
| 12 | МЧ00.44.00.12 | Болт M 18 | 4 |
| 13 | МЧ00.44.00.13 | Крышка | 1 |
| Стандартные изделия | |||
| 14 | Винт А.М10Х 30.58 ГОСТ 1491-80 | 2 | |
| 15 | Гайка М18.5 ГОСТ 5915—70 | 4 | |
| 16 | Гайка М22.5 ГОСТ 5915—70 | 1 | |
| 17 | Кольцо СГ 42 39 5 ГОСТ 6418—81 | 1 | |
| 18 | Кольцо 045-050-30 ГОСТ 9833—73 | 1 | |
| 19 | Кольцо 050-055-30 ГОСТ 9833—73 | 3 | |
| 20 | Шайба 18.01.016 ГОСТ 6958—78 | 4 | |
| 21 | Шайба 22 01.016 ГОСТ 6958—78 | 1 |
Описание работы изделия
Гидравлический зажим одностороннего действия применяется для закрепления деталей на станках.















