Артамонникова (539965)
Текст из файла
Федеральное Агентство Высшего Образования РФ
Московский Государственный Технический Университет
«МАМИ»
Факультет «АиУ»
Кафедра «AиПУ»
КУРСОВАЯ РАБОТА
Вариант II
Тема: «Разработка микропроцессорной системы управления (МСУ) РТК для автоматизированного разрезания заготовок на базе отрезного станка и промышленного робота»
Выполнил студент: Артамонникова С.Ю. Группа: 9-УИ-7
Допустить к защите: ___________________________
Руководитель: ______________________________/ Бунько Е.Б. /
Дата: «__» ________ 2006г.
Защита работы с оценкой: ______________________ / Бунько Е.Б. /
Москва
2006 г.
I. Задание:
По технологической схеме объекта управления разработать микропроцессорную систему управления (МСУ) объектом, включая:
-
Структурную схему МСУ
-
Первичное описание функционирования объекта в виде параметрического графа операций (ПГО) (этап алгоритмического проектирования).
-
Промежуточное описание алгоритма управления объектом в виде систем секвенций (этап логического проектирования – логического программирования).
-
Алгоритм управления в виде граф-схемы алгоритмов.
-
Таблицы привязки датчиков и исполнительных механизмов к конкретным портам (входам и выходам) микроконтроллера.
-
Программу управления в системе команд микроконтроллера МКП – 1.
Вариант II
Вариант 2
Разработка микропроцессорной системы управления (МСУ) РТК на базе отрезного станка и промышленного робота
II. 1.Введение
Автоматизация производственных процессов на основе внедрения роботизированных технологических комплексов и гибких производственных модулей, вспомогательного оборудования, транспортно-накопительных и контрольно-измерительных устройств, объединенных в гибкие производственные системы, управляемые от ЭВМ, является одной из стратегий ускорения научно-технического прогресса в машиностроении.
Роботизированный технологический комплекс (РТК)—совокупность единицы технологического оборудования, промышленного робота и средств оснащения, автономно функционирующая и осуществляющая многократные циклы.
Система управления РТК должна обеспечивать взаимоувязанную работу всех его элементов и обязательно строится на базе микропроцессорных средств (МП-средств).
Применение МП-средств в составе системы управления оборудованием позволяют оперативно изменять технологический процесс и выпускать на одном оборудовании продукцию разной номенклатуры.
Программируемый микроконтроллер типа МКП-1 предназначен для циклового двухпозиционного программного управления манипуляторами и промышленным технологическим оборудованием.
Технологический процесс контролируется датчиками. Сигналы, поступающие от датчиков, обрабатываются микроконтроллером МКП-1 и передаются на исполнительные механизмы.
Конечной целью работы является составление программы управления технологическим процессом в системе команд МКП-1.
В процессе составления программы мы проходим такие этапы проектирования, как первичное описание функционирования объекта в виде графа операций (ГО) (этап алгоритмического проектирования); промежуточное описание алгоритма в виде систем секвенций (этап логического проектирования); алгоритм управления в виде граф-схемы алгоритмов.
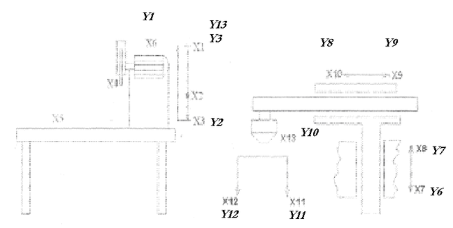
2. Структурная схема МСУ
ОС- отрезной станок
М - манипулятор
ПУИ - пульт управления и индексации
БП - блок питания
МКП – программируемый микроконтроллер
3. Первичное описание алгоритма управления сборочной позицией
Для первичного описания заданного объекта управления будем использовать разработанный ранее аппарат графов операций , основанный на построении специальным образом интерпретированной и помеченной сети Петри . В графе операций используются вершины двух типов, изображаемых кружками (позиции) и прямоугольниками (переходы), в котором стрелками соединяются только вершины разного типа. В позиции графа помещаются метки (маркеры, точки), которые перемещаются из одних позиций в другие по определенным правилам, отображая динамику управляемого процесса. Размещение точек в позициях в каждый момент времени называется маркировкой графа; при задании графа всегда фиксируется его начальная маркировка.
Изменение маркировки (перемещение точек из позиции в позицию) происходит в результате выполнения (срабатывания) переходов, с каждым из которых сопоставлено некоторое внешнее событие. Переход срабатывает, если во всех его входных позициях (из которых ведут стрелки в переход) есть точки и, кроме того, наступает внешнее событие. При срабатывании перехода из каждой его входной позиции удаляется точка, а в каждую выходную позицию (в которую ведет стрелка из перехода) точка вносится.
При использовании графа операций как динамической модели функционирования, позиции соответствуют технологическим операциям реализуемым в объекте управления, а переходы - событиям, определяющим смену операций. Попадание точки в позицию означает начало операции, а ее удаление из позиции - конец операции. Таким образом, операция протекает во времени, переходы срабатывают мгновенно.
Позиции графа помечены функциями (коньюнкциями) сигналов на исполнительные механизмы и органы индикации объекта управления, а переходы функциями (коньюнкциями) сигналов от датчиков и органов управления.
Перечень сигналов от датчиков дан в таблице 1, перечень управляющих сигналов на исполнительные механизмы дан в таблице 2, операции, соответствующие позициям графа, указаны в таблице 3.
4. Граф операций работы РТК
Таблица 1. Датчики и органы исполнения
Датчики станка
| Х1 | Датчик крайнего верхнего положения |
| Х2 | Датчик крайнего рабочего положения |
| Х3 | Датчик крайнего нижнего положения |
| Х4 | Датчик стола |
| Х5 | Датчик перегрузки инструмента |
| Х6 | Датчик перегрузки двигателя |
Датчики робота
| Х7 | Датчик крайнего нижнего положения |
| Х8 | Датчик крайнего верхнего положения |
| Х9 | Датчик крайнего правого положения |
| Х10 | Датчик крайнего левого положения |
| Х11 | Датчик поворота руки |
| Х12 | Датчик поворота руки |
| Х13 | Датчик захвата заготовки |
| Х14 | Общее включение системы |
| Х15 | Цикловой пуск |
Таблица 2. Исполнительные механизмы и органы индикации
| Y1 | Сигнал управления мотором вращения |
| Y2 | Сигнал спуска инструмента |
| Y3 | Сигал подъема инструмента |
| Y4 | Сигнал перехода к отрезанию следующей детали |
| Y5 | Сигнал управления мотором вращения |
| Y6 | Сигнал спуска руки робота |
| Y7 | Сигнал подъема руки робота |
| Y8 | Сигнал выдвижения руки робота. |
| Y9 | Сигнал задвижения руки робота |
| Y10 | Сигнал захвата |
| Y11 | Сигнал поворота руки робота |
| Y12 | Сигнал поворота руки робота |
| Y13 | Сигнал на соседний агрегат и на индикацию оператору – станок находится в исходном состоянии (инструмент сверху) |
Таблица 3. Позиции.
| Позиции | Назначение |
| Ро | Исходное положение. Инструмент сверху. |
| Р1 | Быстрое опускание инструмента до рабочего положения |
| Р2 | Медленное опускание инструмента |
| Р3 | Подъем инструмента |
| Р4 | Зажим схвата робота |
| Р5 | Движение робота вверх |
| Р6 | Поворот руки робота. |
| Р7 | Разжим схвата робота |
5. Система секвенций, описывающая граф.
Система коньюктивных секвенций СКС – аналитическая форма представления ПГО, упрощающая переход от первичного графического описания к управляющим программам и эффективная как при ручном (традиционном) программировании, так и при машинном синтезе управляющих программ.
При этом:
-
В левой части секвенциальных операторов содержится коньюнкция, состоящая из логических переменных, кодирующих позиции(Pi), из которых ведет данный переход(ti) и логических переменных взвешивающих этот переход (xi).
-
В правой части секвенциальных операторов содержится коньюнкция, состоящая из логических переменных, кодирующих позиции, в которые ведет данный переход и логический переход взвешивающих этот позиции(yi).
Преобразование ПГО в виде секвенций эквивалентно с точки зрения управляющего алгоритма и соответствует принципу локальности преобразований.
М0: P0 Y13
_
t1: P0 x1 x7 x10 ├ P0 P1 P4 Y2 Y10
_
t2: P1 x2 x14 x4 ├ P1 P2 Y2
_
t3: P2 x3├ P2 P3 Y3
_
t4: P4 x13├ P4 P5 Y7
_
t5: P5 x8├ P5 P6 Y11
_
t6: P6 x11├ P6 P7 Y10
_ _
t7: P3 P7 x1 x15 x13 x2 x4 ├ P7 P1 P4 Y1 Y2 Y10
_ _
t8: P3 Р7 x1 x15 x13├ P3 Р7 Po Y13
6. Граф-схема алгоритма, реализующая систему секвенций методом последовательного просмотра переходов
Преимущества метода:
-
Удовлетворяет требованиям локальности преобразований.
-
Гарантирует правильность проекта управляющей программы
-
Гарантирует стабильность программного цикла.
Ориентирован на пользователя-непрограммиста.
Характеристики
Тип файла документ
Документы такого типа открываются такими программами, как Microsoft Office Word на компьютерах Windows, Apple Pages на компьютерах Mac, Open Office - бесплатная альтернатива на различных платформах, в том числе Linux. Наиболее простым и современным решением будут Google документы, так как открываются онлайн без скачивания прямо в браузере на любой платформе. Существуют российские качественные аналоги, например от Яндекса.
Будьте внимательны на мобильных устройствах, так как там используются упрощённый функционал даже в официальном приложении от Microsoft, поэтому для просмотра скачивайте PDF-версию. А если нужно редактировать файл, то используйте оригинальный файл.
Файлы такого типа обычно разбиты на страницы, а текст может быть форматированным (жирный, курсив, выбор шрифта, таблицы и т.п.), а также в него можно добавлять изображения. Формат идеально подходит для рефератов, докладов и РПЗ курсовых проектов, которые необходимо распечатать. Кстати перед печатью также сохраняйте файл в PDF, так как принтер может начудить со шрифтами.















