гргорьева и захаркин (1320307)
Текст из файла
МИНИСТЕРСТВО ОБРАЗОВАНИЯ РФ
МОСКОВСКИЙ ГОСУДАРСТВЕННЫЙ
ТЕХНИЧЕСКИЙ УНИВЕРСИТЕТ
«МАМИ»
Факультет: «Автоматизация и управление»
Кафедра: «Автоматика и Процессы Управления»
КУРСОВАЯ РАБОТА
«Разработка микропроцессорной системы управления (МСУ) РТК для автоматизированного разрезания заготовок на базе отрезного станка и промышленного робота».
Выполнили студенты: Григорьева Т.Г. Группа: 9-УИ-7
Захаркин М.Ю.
Допустить к защите: ___________________________
Руководитель: _____________ / Бунько Е.Б. /
Дата: «__» ________ 2005г.
Защита работы с оценкой: ______________________
_____________ / Бунько Е.Б. /
Москва 2005
Задание:
По технологической схеме объекта управления разработать микропроцессорную систему управления (МСУ) объектом, включая:
-
Структурную схему МСУ
-
Первичное описание функционирования объекта в виде параметрического графа операций (ПГО) (этап алгоритмического проектирования).
-
Промежуточное описание алгоритма управления объектом в виде систем секвенций (этап логического проектирования – логического программирования).
-
Алгоритм управления в виде граф-схемы алгоритмов.
-
Таблицы привязки датчиков и исполнительных механизмов к конкретным портам (входам и выходам) микроконтроллера.
-
Программу управления в системе команд микроконтроллера МКП – 1.
Вариант 10
Разработка микропроцессорной системы управления (МСУ) РТК для автоматизированного разрезания заготовок на базе отрезного станка и промышленного робота.
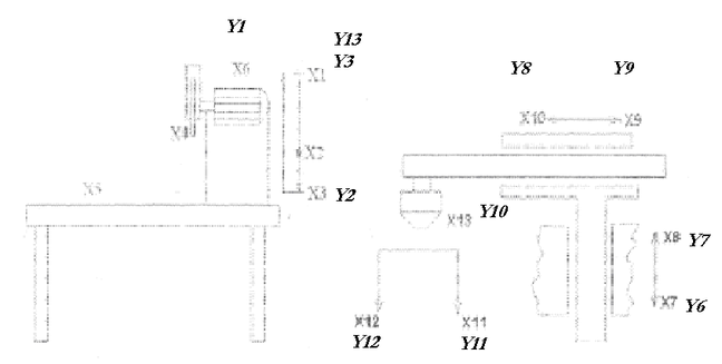
1. Технологическая схема РТК на базе отрезного станка и промышленного робота
1.Введение.
Один из эффективных путей повышения производительности труда в промышленном производстве это автоматизации технологических процессов.
В частности для автоматизации производства часто используются роботизированные технологические комплексы (РТК) - производственные системы, состоящие из перестраиваемых роботизированных станочных позиций. Система управления РТК должна обеспечивать взаимоувязанную работу всех его элементов и обязательно строится на базе микропроцессорных средств (МП-средств).
Применение МП-средств в составе системы управления оборудованием позволяют оперативно изменять технологический процесс и выпускать на одном оборудовании продукцию разной номенклатуры.
2. Структурная схема МСУ.
ОС- отрезной станок
М - манипулятор
ПУИ - пульт управления и индексации
БП - блок питания
МКП – программируемый микроконтроллер
3. Первичное описание алгоритма управления сборочной позицией.
Для первичного описания заданного объекта управления будем использовать разработанный ранее аппарат графов операций , основанный на построении специальным образом интерпретированной и помеченной сети Петри . В графе операций используются вершины двух типов, изображаемых кружками (позиции) и прямоугольниками (переходы), в котором стрелками соединяются только вершины разного типа. В позиции графа помещаются метки (маркеры, точки), которые перемещаются из одних позиций в другие по определенным правилам, отображая динамику управляемого процесса. Размещение точек в позициях в каждый момент времени называется маркировкой графа; при задании графа всегда фиксируется его начальная маркировка.
Изменение маркировки (перемещение точек из позиции в позицию) происходит в результате выполнения (срабатывания) переходов, с каждым из которых сопоставлено некоторое внешнее событие. Переход срабатывает, если во всех его входных позициях (из которых ведут стрелки в переход) есть точки и, кроме того, наступает внешнее событие. При срабатывании перехода из каждой его входной позиции удаляется точка, а в каждую выходную позицию (в которую ведет стрелка из перехода) точка вносится.
При использовании графа операций как динамической модели функционирования, позиции соответствуют технологическим операциям реализуемым в объекте управления, а переходы - событиям, определяющим смену операций. Попадание точки в позицию означает начало операции, а ее удаление из позиции - конец операции. Таким образом, операция протекает во времени, переходы срабатывают мгновенно.
Позиции графа помечены функциями (коньюнкциями) сигналов на исполнительные механизмы и органы индикации объекта управления, а переходы функциями (коньюнкциями) сигналов от датчиков и органов управления.
Перечень сигналов от датчиков дан в таблице 1, перечень управляющих сигналов на исполнительные механизмы дан в таблице 2, операции, соответствующие позициям графа, указаны в таблице 3.
Граф операций работы РТК
Таблица 1. Датчики и органы исполнения
Датчики станка
| Х1 | Датчик крайнего верхнего положения |
| Х2 | Датчик крайнего рабочего положения |
| Х3 | Датчик крайнего нижнего положения |
| Х4 | Датчик стола |
| Х5 | Датчик перегрузки инструмента |
| Х6 | Датчик перегрузки двигателя |
Датчики робота
| Х7 | Датчик крайнего нижнего положения |
| Х8 | Датчик крайнего верхнего положения |
| Х9 | Датчик крайнего правого положения |
| Х10 | Датчик крайнего левого положения |
| Х11 | Датчик поворота руки |
| Х12 | Датчик поворота руки |
| Х13 | Датчик захвата заготовки |
| Х14 | Общее включение системы |
| Х15 | Цикловой пуск |
Таблица 2. Исполнительные механизмы и органы индикации
| Y1 | Сигнал управления мотором вращения |
| Y2 | Сигнал спуска инструмента |
| Y3 | Сигал подъема инструмента |
| Y4 | Сигнал перехода к отрезанию следующей детали |
| Y5 | Сигнал управления мотором вращения |
| Y6 | Сигнал спуска руки робота |
| Y7 | Сигнал подъема руки робота |
| Y8 | Сигнал выдвижения руки робота. |
| Y9 | Сигнал задвижения руки робота |
| Y10 | Сигнал захвата |
| Y11 | Сигнал поворота руки робота |
| Y12 | Сигнал поворота руки робота |
| Y13 | Сигнал на соседний агрегат и на индикацию оператору – станок находится в исходном состоянии (инструмент сверху) |
Таблица 3. Позиции.
| Позиции | Назначение |
| Ро | Исходное положение. Инструмент сверху. |
| Р1 | Быстрое опускание инструмента до рабочего положения |
| Р2 | Медленное опускание инструмента |
| Р3 | Подъем инструмента |
| Р4 | Зажим схвата робота |
| Р5 | Движение робота вверх |
| Р6 | Поворот руки робота. |
| Р7 | Разжим схвата робота |
4. Система секвенций, описывающая граф.
Система коньюктивных секвенций СКС – аналитическая форма представления ПГО, упрощающая переход от первичного графического описания к управляющим программам и эффективная как при ручном (традиционном) программировании, так и при машинном синтезе управляющих программ.
При этом:
-
В левой части секвенциальных операторов содержится коньюнкция, состоящая из логических переменных, кодирующих позиции(Pi), из которых ведет данный переход(ti) и логических переменных взвешивающих этот переход (xi).
-
В правой части секвенциальных операторов содержится коньюнкция, состоящая из логических переменных, кодирующих позиции, в которые ведет данный переход и логический переход взвешивающих этот позиции(yi).
Преобразование ПГО в виде секвенций эквивалентно с точки зрения управляющего алгоритма и соответствует принципу локальности преобразований.
М0: P0 Y13
_
t1: P0 x1 x7 x10 ├ P0 P1 P4 Y2 Y10
_
t2: P1 x2 x14 x4 ├ P1 P2 Y2
_
t3: P2 x3├ P2 P3 Y3
_
t4: P4 x13├ P4 P5 Y7
_
t5: P5 x8├ P5 P6 Y11
_
t6: P6 x11├ P6 P7 Y10
_ _
t7: P3 P7 x1 x15 x13 x2 x4 ├ P7 P1 P4 Y1 Y2 Y10
_ _
t8: P3 Р7 x1 x15 x13├ P3 Р7 Po Y13
5. Граф-схема алгоритма, реализующая систему секвенций
методом последовательного просмотра переходов.
Преимущества метода:
-
Удовлетворяет требованиям локальности преобразований.
-
Гарантирует правильность проекта управляющей программы
-
Гарантирует стабильность программного цикла.
Ориентирован на пользователя-непрограммиста.
6.Программа управления РТК
| Адрес | Команда | Описание команды | Действия системы | Поз. |
| 000 | 2601 | Активизация счетчика 1 | Исходное положение. Инструмент сверху. | Р0 |
| 001 | 050D | Включение нагрузки Y13 | ||
| 002 | 0401 | Проверка датчика X1 на наличие сигнала | Проверяем положение станка | |
| 003 | 0B08 | Переход по указанному адресу, если БУ=0 | ||
| 004 | 0407 | Проверка датчика X7 на наличие сигнала | ||
| 005 | 0B08 | Переход по указанному адресу, если БУ=0 | ||
| 006 | 040A | Проверка датчика X10 на наличие сигнала | Проверяем положение робота | |
| 007 | 0B08 | Переход по указанному адресу, если БУ=0 | ||
| 008 | 2602 | Активизация счетчика 2 | Зажим схвата робота | Р1 |
| 009 | 0501 | Включение нагрузки Y1 | ||
| 00A | 050A | Включение нагрузки Y10 | ||
| 00B | 040D | Проверка датчика X13 на наличие сигнала | Проверка наличия детали в схвате | |
| 00C | 0B0D | Переход по указанному адресу, если БУ=0 | ||
| 00D | 2603 | Активизация счетчика 3 | Движение робота вверх | Р2 |
| 00E | 0507 | Включение нагрузки Y7 | ||
| 00F | 0408 | Проверка датчика X8 на наличие сигнала | ||
| 010 | 0B11 | Переход по указанному адресу, если БУ=0 | ||
| 011 | 2604 | Активизация счетчика 4 | Поворот руки робота | Р3 |
| 012 | 050B | Включение нагрузки Y11 | ||
| 013 | 040B | Проверка датчика X11 на наличие сигнала | ||
| 014 | 0B15 | Переход по указанному адресу, если БУ=0 | ||
| 015 | 2605 | Активизация счетчика 5 | Разжим схвата робота | Р4 |
| 016 | 060A | Выключение нагрузки Y10 | ||
| 017 | 0503 | Включение нагрузки Y3 | ||
| 018 | 0401 | Проверка датчика X1 на наличие сигнала | ||
| 019 | 0B1E | Переход по указанному адресу, если БУ=0 | ||
| 01А | 040F | Проверка датчика X15 на наличие сигнала | ||
| 01В | 0B1E | Переход по указанному адресу, если БУ=0 | ||
| 01С | 030D | Проверка датчика X13 на отсутствие сигнала | ||
| 01D | 0B1E | Переход по указанному адресу, если БУ=0 | ||
| 01E | 2606 | Активизация счетчика 6 | Быстрое опускание инструмента до рабочего положения | Р1 |
| 01F | 0502 | Включение нагрузки Y2 | ||
| 020 | 0402 | Проверка датчика X2 на наличие сигнала | ||
| 021 | 0B26 | Переход по указанному адресу, если БУ=0 | ||
| 022 | 0404 | Проверка датчика X4 на наличие сигнала | ||
| 023 | 0B26 | Переход по указанному адресу, если БУ=0 | ||
| 024 | 040E | Проверка датчика X14 на наличие сигнала | ||
| 025 | 0B26 | Переход по указанному адресу, если БУ=0 | ||
| 026 | 2607 | Активизация счетчика 7 | Медленное опускание инструмента | Р2 |
| 027 | 0502 | Включение нагрузки Y2 | ||
| 028 | 0403 | Проверка датчика X3 на наличие сигнала | ||
| 029 | 0B2A | Переход по указанному адресу, если БУ=0 | ||
| 02A | 2608 | Активизация счетчика 8 | Подъем инструмента | Р3 |
| 02B | 0503 | Включение нагрузки Y3 | ||
| 02C | 060A | Выключение нагрузки Y10 | ||
| 02D | 0402 | Проверка датчика X2 на наличие сигнала | Проверяем рабочее положение инструмента | |
| 02E | 0B31 | Переход по указанному адресу, если БУ=0 | ||
| 02F | 0404 | Проверка датчика X4 на наличие сигнала | ||
| 030 | 0B31 | Переход по указанному адресу, если БУ=0 | ||
| 031 | 2609 | Активизация счетчика 9 | Переход в исходное состояние | |
| 032 | 0503 | Включение нагрузки Y3 | ||
| 033 | 0401 | Проверка датчика X1 на наличие сигнала | ||
| 034 | 0B39 | Переход по указанному адресу, если БУ=0 | ||
| 035 | 030F | Проверка датчика X15 на отсутствие сигнала | ||
| 036 | 0B39 | Переход по указанному адресу, если БУ=0 | ||
| 037 | 030D | Проверка датчика X13 на отсутствие сигнала | ||
| 038 | 0B39 | Переход по указанному адресу, если БУ=0 | ||
| 039 | 0900 | Безусловный переход на адрес 000 |
Выводы
В результате была разработана микропроцессорная система управления (МСУ) РТК для автоматизированного разрезания заготовок на базе отрезного станка и промышленного робота. Составлена программа для МКП – 1. На каждом этапе проектирования соблюдался принцип локальности преобразований.
Обьем занимаемой памяти программы составляет 116 байт.
Быстродействие программы 0,054 сек.
Характеристики
Тип файла документ
Документы такого типа открываются такими программами, как Microsoft Office Word на компьютерах Windows, Apple Pages на компьютерах Mac, Open Office - бесплатная альтернатива на различных платформах, в том числе Linux. Наиболее простым и современным решением будут Google документы, так как открываются онлайн без скачивания прямо в браузере на любой платформе. Существуют российские качественные аналоги, например от Яндекса.
Будьте внимательны на мобильных устройствах, так как там используются упрощённый функционал даже в официальном приложении от Microsoft, поэтому для просмотра скачивайте PDF-версию. А если нужно редактировать файл, то используйте оригинальный файл.
Файлы такого типа обычно разбиты на страницы, а текст может быть форматированным (жирный, курсив, выбор шрифта, таблицы и т.п.), а также в него можно добавлять изображения. Формат идеально подходит для рефератов, докладов и РПЗ курсовых проектов, которые необходимо распечатать. Кстати перед печатью также сохраняйте файл в PDF, так как принтер может начудить со шрифтами.
















