Варианты курсовых работ (539894)
Текст из файла
Вариант 1
Разработка микропроцессорной системы управления (МСУ) отрезным станком.
Вариант 2
Разработка микропроцессорной системы управления (МСУ) РТК на базе отрезного станка и промышленного робота
Вариант3
«Разработка микропроцессорной системы управления (МСУ) резьбонарезным станком».
вариант 4
Разработка микропроцессорной системы управления (МСУ) манипулятором для загрузки деталей на конвейер.
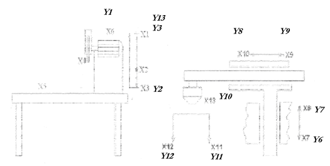
Рис. 1
Вариант 5
Разработка микропроцессорной системы управления (МСУ) РТК на базе сверлильного станка с автоматической подачей деталей с помощью промышленного робота М1 для сверления отверстий в деталях плоской и цилиндрической формы (рис.1.).
Вариант 6
Разработка микропроцессорной системы управления (МСУ) РТК на базе резьбонарезного станка и промышленного робота M1 для автоматизированного нарезания резьбы на деталях цилиндрической формы.
вариант 7 Разработка микропроцессорной системы управления (МСУ) Системы разбраковки деталей.
Х4
Х3
Х2
Х1
Х8
Х5
Х6
Бункер для негодных деталей
Бункер для годных деталей
Миниробот М1
Кассета с деталями
Х11
Х7
Y1
Y3
Y2
Y5
Y4
Y6
вариант 8
Разработка микропроцессорной системы управления (МСУ) Сборочного манипулятора с кассетной подачей деталей.
Вариант 9 Разработка микропроцессорной системы управления (МСУ)
РТК на базе токарного станка и промышленного робота (манипулятора) для загрузки-разгрузки деталей.
вариант 10 Разработка микропроцессорной системы управления (МСУ)
сверлильного станка
Характеристики
Тип файла документ
Документы такого типа открываются такими программами, как Microsoft Office Word на компьютерах Windows, Apple Pages на компьютерах Mac, Open Office - бесплатная альтернатива на различных платформах, в том числе Linux. Наиболее простым и современным решением будут Google документы, так как открываются онлайн без скачивания прямо в браузере на любой платформе. Существуют российские качественные аналоги, например от Яндекса.
Будьте внимательны на мобильных устройствах, так как там используются упрощённый функционал даже в официальном приложении от Microsoft, поэтому для просмотра скачивайте PDF-версию. А если нужно редактировать файл, то используйте оригинальный файл.
Файлы такого типа обычно разбиты на страницы, а текст может быть форматированным (жирный, курсив, выбор шрифта, таблицы и т.п.), а также в него можно добавлять изображения. Формат идеально подходит для рефератов, докладов и РПЗ курсовых проектов, которые необходимо распечатать. Кстати перед печатью также сохраняйте файл в PDF, так как принтер может начудить со шрифтами.















