Раздел 9 (1253007), страница 10
Текст из файла (страница 10)
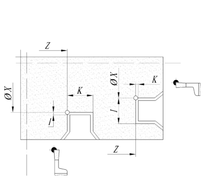
Пример (G836,837) (см. рис.9.66,а,б)
| N1 | ТЗ | G95 | F0.25 | G96 | S200 | МЗ |
| N2 | G0 | X120 | Z2 | |||
| N3 | G836 | X80 | Z2 | P4 | l1 | K0.3 |
Параметры в примере:
X1 начальная точка контура (размер диаметра)
Z2 конечная точка контура
Р глубина подвода: максимальная глубина подвода
I припуск по X (размер диаметра)
К припуск по Z
Q поперечная черновая обработка: Обработка продольно и поперечно
Q=0: обработка продольно
Q=1: обработка поперечно
а) б)
Рис.9.66 Циклы черновой обработки «параллельно к контуру» (G836, G837)
а) цикл черновой обработки параллельно к контуру продольно (G836)
б) цикл черновой обработки параллельно к контуру поперечно (G837).
9.7.2.4.Циклы чистовой продольной, поперечной обработки «снятием стружки», «контурной обработки», «параллельно контуру» (G89).
Все ранее представленные циклы черновой обработки G 70, G71, G 817, G 818, G 836,
G 837 могут быть реализованы и для чистового точения под другими подготовительными функциями.
Циклы чистовой продольного и поперечного точения методом «снятия стружки»
Последовательность движений:
Отработка цикла в случае продольного точения (рис. 9.67,а)
1 перемещение инструмента в поперечном направлении от «X, Z» к «начальной точке XI»
2 чистовая обработка сначала в продольном, а потом в поперечном направлении
3 возвращение инструмента в продольном направлении к точке старта
Отработка цикла в случае поперечного точения (рис. 9.67,б)
1. перемещение инструмента в поперечном направлении от «X, Z» к «начальной точке Z1»
2. чистовая обработка сначала в поперечном, а потом в продольном направлении
3. возвращение инструмента в поперечном направлении к точке старта
Общий формат
G89 X1…Z2…
Параметры циклов
Точка старта X, Z
Х1 начальная точка контура (чистовая обработка продольно)
Z2 конечная точка контура (чистовая обработка продольно)
Z1 начальная точка контура (чистовая обработка поперечно)
Х2 конечная точка контура (чистовая обработка поперечно)
Циклы чистовой продольной, поперечной обработки «контурной обработкой резанием»
Последовательность движений
Отработка циклов (рис.9.68 а,б) :
-
перемещается параллельно к оси от «X, Z» к «точке старта
контура» -
выполняет чистовую обработку отрезка контура
Общий формат
G89 X1…Z2…
Параметры циклов
Х1 начальная точка контура (чистовая обработка продольно)
Z2 конечная точка контура (чистовая обработка продольно)
Z1 начальная точка контура (чистовая обработка поперечно)
Х2 конечная точка контура (чистовая обработка поперечно)
Циклы чистовой продольной, поперечной обработки «параллельно к контуру».
Последовательность движений:
Отработка циклов (рис.9.69 а,б) :
-
перемещение параллельно к оси от «X Z» к «точке старта контура»
-
выполнение чистовой обработки отрезка контура
Общий формат
G89 X1…Z2…
Параметры циклов:
Х1 начальная точка контура (чистовая обработка продольно)
Z2 конечная точка контура (чистовая обработка продольно)
Z1 начальная точка контура (чистовая обработка поперечно)
Х2 конечная точка контура (чистовая обработка поперечно)
Инструмент останавливается в конце каждого цикла.
а) б)
Рис.9.67 Циклы чистового продольного и поперечного точения « снятием стружки»
а) цикл «чистовая обработка продольно» выполняет чистовую обработку отрезка
контура «Х1» до «Z2».
б) цикл «чистовая обработка поперечно « выполняет чистовую обработку отрезка
контура « Z1» до «Х2».
Инструмент возвращается в конце цикла к точке старта.
а) б)
Рис.9.68 Циклы чистового продольного и поперечного точения « контурной обработкой»
а) цикл чистового продольного точения.
б) цикл чистового поперечного точения.
а) б)
Рис.9.69 Циклы чистового продольного и поперечного точения « параллельно к контуру»
а) цикл чистового продольного точения.
б) цикл чистового поперечного точения.
9.7.2.5 Цикл прорезки (G76)
G76 производит простые радиальные и аксиальные внутренние и наружные прорезки с фасками. Вид прорезки (радиальное/аксиальное, внутреннее/наружное) устанавливается на основе «ориентации инструмента».
Последовательность движений в цикле
-
подвод резеца в точку реза;
-
обработка фаски или закругления, если определено;
-
прорезка детали;
-
возврат резеца в исходную точку.
Общий формат
G76 X…Z…[I][K][E]
Параметры:
-
X угловая точка дна по координате X (размер диаметра);
-
Z угловая точка дна по координате Z;
-
I припуск:
-
радиальная прорезка: припуск без предпрорезки;
-
аксиальная прорезка: ширина прорезки - нет ввода: наступает один ход прорезки (ширина прорезки = ширина инструмента)
-
К ширина;
-
радиальная прорезка: ширина прорезки - нет ввода: наступает один ход прорезки (ширина прорезки = ширина инструмента);
-
аксиальная прорезка: припуск без предпрорезки;
Е время пребывания при окончательной прорезке.
Пример программирования G76 (рис.9.70)
| N1 ТЗ0 G9S F0.15 G96 S200 МЗ | |
| N2 G0 X62 Z2 | |
| N3 G86 X54 Z-30 I0.2 К7 Е2 | В кадре N3 радиальная прорезка |
| N4 G14 Q0 | |
| N5 Т38 G95 F0.15 G96 S200 МЗ | |
| N6 G0 X120 Z1 | |
| N7 G86 Х102 Z-4 I7 К0.2 Е1 | В кадре N7 продольная прорезка |
Рис.9.70
Цикл прорезки G76.
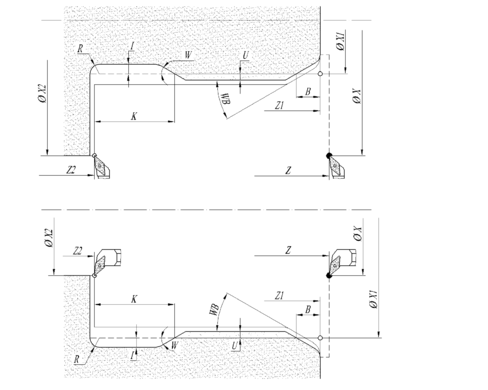
9.7.2.6 Цикл обработки выточки (G25)
G25 обрабатывает выточку перед обработкой резьбы и шлифованием цилиндрической поверхности.
Последовательность движений в цикле
-
подводит инструмент из «X, Z»:
-
на позицию «точка старта цилиндра Х1»;
-
для надреза резьбы;
-
производит надрез резьбы, если определено;
-
выполняет чистовую обработку цилиндра до начала выточки;
-
производит выточку;
-
выполняет чистовую обработку до «конечной точки торцевой поверхности Х2»;
-
окончание цикла:
-
«без возврата»: Инструмент останавливается на «конечной точке Х2»;
-
«с возвратом»: перемещается по диагонали к точке старта.
Параметры:
-
Точка старта X, Z;
-
Х1, Z1 точка старта цилиндра;
-
Х2, Z2 конечная точка торцевой поверхности;
-
Е редуцированная подача для погружения и для надреза резьбы;
-
Т номер инструмента;
-
S скорость вращения
-
F вращательная подача;
-
I глубина выточки;
-
К длина выточки;
-
W угол выточки;
-
R радиус выточки (по обеим сторонам выточки);
-
В длина надреза цилиндра;
-
WB угол надреза;
-
RB радиус надреза;
-
U шлифовальный припуск для участка цилиндра
Пример программирования G25 (рис. 9.71.)
| N1 Т21 G95 F0.23 G96 S248 МЗ |
| N2 G0 X62 Z2 |
| N3 G25 Х60 Z-30 10.3 |
| N4 G1 Х80 |
| N5 G25 X80 Z-40 КО |
| N6 G1 Х100 |
| N7 G25 Х100 Z-60 11.2 К6 Е0.11 |
| N8 G1 Х110 |
Рис. 9.71
Цикл обработки выточки G25.
9.7.2.7 Цикл отрезки (G859)
Цикл G859 отрезает точеную деталь. Производится выборочно фаска или закругление на наружном диаметре. После отработки цикла инструмент перемещается над плоской поверхностью вверх и на точку старта.
Последовательность движений в цикле
-
подвод резца в точку реза;
-
обработка фаски или закругления, если определено;
-
отрезка детали;
-
возврат резца в исходную точку.
Общий формат
G859 X…Z…[I][XE][E][B]
Параметры:
-
X диаметр отрезки;
-
Z позиция отрезки;
-
I диаметр с редуцированной подачей:
-
I указано: с этой позиции переключается на подачу «Е»;
-
I не указано: без редуцирования подачи
-
ХЕ внутренний диаметр (деталь - труба);
Е редуцированная подача;
В фаска / закругление:
-
В>0. Радиус закругления
-
В<0: Ширина фаски
Пример программирования G859 (рис. 9.72.)
| N1 Т30 G95 F0.23 G96 S248 МЗ |
| N2 G0 X62 Z-28 |
| N3 G859 Х50 Z-30 I10 XE8 E0.11 B1 |
Рис. 9.72
Цикл отрезки G859.
9.7.2.8 Цикл резьбофрезерования (G799)
Цикл G799 фрезерует резьбу в имеющемся отверстии.
Последовательность движений в цикле
-
позиционирование шпинделя на угол «С » (при ручном режиме - обработка под актуальным углом шпинделя);
-
позиционирование инструмента на «дно фрезерования Z2 » в пределах отверстия;
-
перемещение инструмента по «входной дуге R »;
-
фрезерование резьбы поворотом на угол 360° , при этом осуществляется подвод инструмента на шаг резьбы F1;
-
отвод инструмента из материала и возврат в «точку старта»
Общий формат















