УП (лаб1) (1252981)
Текст из файла
%
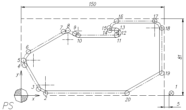
N001 G01 X+015753 Y+000250 F0712 LF
N002 Z-004000 LF
N003 M38 S51 LF
N004 M03 LF
N005 X-013180 F0660 LF
N006 G17 LF
N007 G02 X-000736 Y+000425 J-000850 LF
N008 G01 X-001446 Y+002505 LF
N009 G17 LF
N010 G 02 X-000141 Y+000525 I-000909 J-000525 LF
N011 X+000525 Y+000909 I-001050 LF
N012 G01 X+003653 Y+002109 LF
N013 G17 LF
N014 G02 X+000475 Y+000127 I-000475 J+000823 LF
N015 X+000727 Y-000339 J+000950 LF
N016 G03 X+000345 Y-000161 I-000344 J-000289 LF
N017 G01 X+004028 LF
N018 G17 LF
N019 G03 X+000250 Y+000250 J-000250 LF
N020 X-000250 Y+000250 I+000250 LF
N021 G01 X-000707 LF
N022 G17 LF
N023 G02 X-000043 Y+000250 I-000707 J-000250 LF
N024 X+000750 Y+000750 I-000750 LF
N025 G01 X+004000 LF
N026 G17 LF
N027 G02 X+000750 Y-000750 J+000750 LF
N028 G01 Y-004744 LF
N029 X-003647 Y-002106 F4660 LF
N030 Z+004000 F0712 M05 LF
N031 X-011106 Y-000250 LF
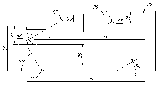
Проведем коррекцию участков 17-18 (кадр №027),18-19 (кадр №028),19-20 (кадр №029).
1. Корректор 18: величина коррекции 200 мкм (-0020).
№027 G52 X+000750 Y-000750 J+000750 L218 LF
Реальная отработка кадра:
№027 G02 X+000730 Y-000730 J+000730 LF
2
. Корректор 10: величина коррекции 110 мкм (-0011)
№028 G51 Y-004744 L210 LF
Реальная отработка кадра:
№028 G01 Y-004733 LF
3
. Корректор 15: величина коррекции 30 мкм (+0003).
№029 G41 X-003647 Y-002106 F4660 L115 LF
Реальная отработка кадра:
№029 G01 X-003650 Y-002106 F4660 LF
Характеристики
Тип файла документ
Документы такого типа открываются такими программами, как Microsoft Office Word на компьютерах Windows, Apple Pages на компьютерах Mac, Open Office - бесплатная альтернатива на различных платформах, в том числе Linux. Наиболее простым и современным решением будут Google документы, так как открываются онлайн без скачивания прямо в браузере на любой платформе. Существуют российские качественные аналоги, например от Яндекса.
Будьте внимательны на мобильных устройствах, так как там используются упрощённый функционал даже в официальном приложении от Microsoft, поэтому для просмотра скачивайте PDF-версию. А если нужно редактировать файл, то используйте оригинальный файл.
Файлы такого типа обычно разбиты на страницы, а текст может быть форматированным (жирный, курсив, выбор шрифта, таблицы и т.п.), а также в него можно добавлять изображения. Формат идеально подходит для рефератов, докладов и РПЗ курсовых проектов, которые необходимо распечатать. Кстати перед печатью также сохраняйте файл в PDF, так как принтер может начудить со шрифтами.
















