Раздел 7 (исправлено) (1252992)
Текст из файла
Раздел 7 : “Технологическая подготовка при создании УП для станка с ЧПУ.”
7.1. Разработка маршрутной технологии при создании УП.
7.1.1. Выбор последовательности обработки детали по зонам.
Является одной из наиболее важных задач, решаемых при проектировании технологического процесса. Последовательность обработки, указанная с комплексом оснастки и режущего инструмента, полностью определяет маршрут обработки детали на станке с ЧПУ.
Прежде всего, должен быть решен вопрос о количестве установов (положений) детали на столе станка. Первый установ, как правило, выбирают из условия наиболее удобного базирования заготовки на черные или заранее подготовленные чистые поверхности. Последующие установы (если они требуются) производятся на обработанные чистые базы. Конечной задачей является поиск схемы, обеспечивающей наиболее полную обработку детали со всех сторон с наименьшим количеством установов. Одновременно производится эскизное проектирование приспособлений для базирования и зажима заготовки во всех положениях.
Для каждого установа детали определяется:
-
Последовательность обработки по зонам, связанную с конструктивными особенностями детали (зона наружных и внутренних контуров, зона торцов ребер, плоскости и т.д.);
-
Последовательность обработки по ее видам (черновая, чистая) в каждой из зон;
Последовательность обработки по зонам.
Токарная обработка
Так как обработка деталей на токарных станках с ЧПУ может выполняться в центрах или в патронах, то приводятся две типовые последовательности обработки зон.
При обработке в центрах:
1)Черновая обработка основных зон, из числа которых первыми обрабатываются поверхности, требующие рабочих перемещений режущего инструмента по направлению к передней бабки.
2)Черновая и чистовая обработка дополнительных зон, кроме канавок для выхода шлифовального круга, резьбы и мелких выточек.
3)Чистовая обработка основных зон, причем первой выполняется подрезка торца, далее обработка наружных поверхностей.
4) Обработка дополнительных зон, не требующих черновых переходов.
При обработке в патронах:
1) Центрование (выполняется при сверлении отверстий диаметром менее 20мм).
2) Сверление (при сверлении ступенчатых отверстий сначала выполняется сверление сверлом большего диаметра до 20 мм, а потом меньшего).
3) Черновая обработка основных зон (сначала подрезка внешнего торца предварительно и окончательно, затем обработка наружных поверхностей и далее внутренних поверхностей).
4) Черновая и чистовая обработка дополнительных зон, кроме канавок для выхода шлифовального круга, резьбы и мелких выточек).
5)Чистовая обработка основных зон кроме внешнего торца (сначала внутренние поверхности, затем наружные).
6)Обработка дополнительных зон не требующих черновой обработки (сначала в отверстиях или на торце, затем на наружных поверхностях).
Последовательность обработки заготовок в трёхкулачковом патроне показана на рис 7.1.
Фрезерная обработка
Для фрезерной обработки при определении последовательности обработки по зонам необходимо соблюдать условие получение максимальной жёсткости детали на каждом участке обработки. Так, при наличии рёбер в детали наиболее целесообразно в начале, до обработки контуров детали, обработать торцы рёбер, т.к. ребра при этом будут более жёсткими.
Затем желательно обработать внутренние контуры детали и заключенные в них плоскости. При обработке внутренних контуров можно вырезать окна или технологические отверстия, через которые с помощью накладных прижимов осуществляется крепление детали для последующей операции – обработки наружного контура.
В качестве типовой последовательности обработки по зонам корпусной симметричной детали, изготовленной из поковки (рис. 7.2), может быть принята следующая последовательность:
-
Обработка зон верхней области I симметрии детали:
-
черновая обработка открытых основных зон (зон торцевой плоскости 9, наружного контура 8, рёбер 4);
1.2 выборка основного массива металла в основных закрытых зонах (зоне внутренних контуров: кармане 1);
1.3 черновая обработка основных и дополнительных полуоткрытых и закрытых зон (зоны внутреннего контура 1, сопряжения 11, уступа 3, зоны сопряжения 11).
-
обработка зон нижней области II симметрии детали:
2.1 черновая и чистовая обработка открытых основных зон (зоны торцевой плоскости 10, рёбер 6, кроме наружного контура);
2.2 выборка основного массива металла в основных закрытых зонах, кармане 2;
2.3 черновая и чистовая обработка основных и дополнительных полуоткрытых зон и закрытых зон 2, 7, 12.
-
обработка зон верхней области I симметрии детали:
3.1 чистовая обработка открытых основных зон 9, в том числе и зоны наружного контура 8, ребер 4;
3.2 чистовая обработка основных и дополнительных полуоткрытых и закрытых зон: 1, 3, 11.
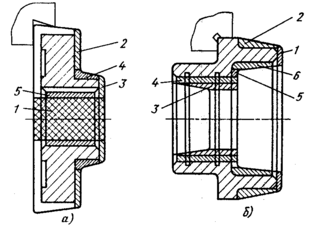
Рис. 7.1. Последовательность обработки заготовки в трехкулачковом патроне:
а – зубчатое колесо; б – втулка; 1-6 – последовательность обработки.
Рис. 7.2. Последовательность обработки корпусной детали из поковки.
7.1.2. Выбор режущих инструментов и расчет его параметров.
Процесс выбора инструментов для станков с ЧПУ может быть условно разбиты на четыре этапа:
1 этап - назначение совокупности видов инструмента, определяющего маршрут обработки
данной детали;
2 этап - выбор технологических параметров каждого вида инструмента (материал режущей
части, углов заточки режущей кромки, количества зубьев), который производится по
машиностроительным нормам;
3 этап - расчет геометрических параметров выбранного инструмента, отражающих специфику обработки на станке с ЧПУ и определяющей содержание операции;
4 этап определение конструктивных особенностей специальных режущих инструментов.
Укрупненная блок-схема выбора режущего инструмента показана на рис.7.3.
1) Назначение совокупности видов инструментов, определяющих маршрут обработки.
Для токарных станков
Число инструментов, их назначение и последовательность обработки определяются характером основных и дополнительных зон, из которых образован контур, размерами и необходимостью обработки отверстий, а также числом рабочих позиций револьверной головки.
Для обработки наружных основных зон поверхности назначают проходной и чистовой проходной (контурный) резцы. Эти резцы устанавливаются перпендикулярно или параллельно оси вращения обрабатываемой заготовки.
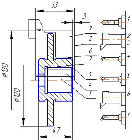
Обработку внутренних основных зон (зон отверстий), при отсутствии их в заготовке, начинают со сверления. Отверстия диаметром до 25мм обрабатывают спиральным сверлом с углом при вершине 118° (рис.7.4а). Отверстия диаметрами 25мм, 30, 35, 40, 45, 50 мм обрабатывают двумя сверлами с углом при вершине 118° и донным сверлом с углом при вершине 180° (рис.7.4б). Отверстия диаметром более 25 мм с углубленным донышком обрабатывают тремя инструментами: сверлом с углом при вершине 118°, донным сверлом с углом при вершине 180°,проходным расточным резцом с подрезанием торца выступающей части донышка (рис.7.4в). Отверстия диаметром более 46 мм с плоским донышком обрабатывают двумя инструментами: сверлом с углом при вершине 118° и проходным расточным резцом с подрезанием торца до места прохождения оси отверстия (рис. 7.4г).
Для обработки дополнительных зон необходимы резцы прорезные наружные, прорезные торцевые, для угловых канавок, резьбовые, отрезные.
Из инструментов различной конфигурации, позволяющих обработать одинаковые зоны, выбирают тот, которым можно обработать большее разнообразие зон.
На рис 7.5 показана типовая последовательность обработки детали на токарном станке с ЧПУ с назначенной совокупностью режущих инструментов.
Для фрезерных, многоцелевых станков
Основные и дополнительные зоны обрабатываются широкой номенклатурой фрез: торцевых, концевых, сферических, пазовых, грибковых, с осевым врезанием и т.п.
При выборе торцовых фрез, рекомендуемых для обработки плоскостей, выбирают фрезу, обеспечивающую минимальное число проходов. Однако при окончательном выборе учитывают диаметры торцовых фрез, выбираемых для обработки всех плоскостей, обрабатываемых в операции. Необходимо обеспечить производительную работу одной фрезой возможно большего числа плоскостей. Поэтому из применяемых торцовых фрез необходимо выбирать фрезы меньшего диаметра.
Сложные контуры, отверстия и пазы большей ширины (более 50 мм) рекомендуется фрезеровать концевыми фрезами, оснащенными твердосплавными пластинками, длина режущей части которых зависит от числа пластин на одном зубе. Для фрезерования пазов небольшой ширины могут быть использованы быстрорежущие и твердосплавные концевые и шпоночные фрезы стандартных размеров, дисковые и трехсторонние фрезы, набор дисковых фрез. Пазы, канавки следует обрабатывать концевыми, дисковыми, шпоночными фрезами, имеющими размер (диаметр или ширину), отличающуюся от размера паза или канавки.
Быстрорежущие концевые фрезы имеют диаметр 5-50 мм, твердосплавные 20-50 мм, трехсторонние фрезы для обработки пазов и канавок имеют диаметр до 160 мм и ширину 5-36 мм. Диаметр шпоночных фрез 5-12 мм (из быстрорежущей стали) и 4-12 (из твердого сплава) D диаметр концевых, шпоночных и трехсторонних фрез принимают максимально возможным для обработки данного паза и контурной поверхности детали.
Для чернового растачивания отверстий диаметром свыше 80 до 250мм следует применять расточные регулируемые головки с механическим креплением четырехгранных пластин из твердого сплава. Для черновой обработки отверстий диаметром свыше 22 до 180мм могут быть рекомендованы черновые двухрезцовые расточные оправки с резцами, оснащенными твердосплавными пластинами. Растачивание отверстий диаметром 10-30мм следует выполнять расточными головками с радиальным настроечным перемещением резца.
На рис. 7.6 показана последовательность обработки по зонам при фрезеровании детали типа «корпус»:
Зона А – фрезерование верхней плоскости; фреза торцевая 1;
Зона Б - фрезерование верхнего уступа; фреза торцевая 2 со вставными ножами с прямым углом;
Зона В - фрезерование нижнего уступа; фреза торцевая 2;
Зона Г – фрезерование боковой поверхности; фреза концевая быстрорежущая 3;
Зона Д – фрезерование окна; фреза концевая с торцевыми зубьями 4;
Зона Е – фрезерование контурной выемки; фреза концевая 5 твердосплавная;
Зона Ж – фрезерование продольного паза; фреза дисковая 6 пазовая с твердосплавными вставными ножами.
Рис. 7.3 Укрупненная блок-схема выбора режущего инструмента для станков с ЧПУ.
Рис. 7.4 Инструмент для обработки внутренних основных зон.
Рис. 7.5. Типовая последовательность обработки с назначенной совокупностью режущих инструментов. 1 – 7 – последовательность переходов и инструментов.
Рис. 7.6. Зоны обработки детали типа “корпус”.
1-6 – применяемый инструмент.
2. Определение технологических параметров выбранного режущего инструмента.
Основным критерием при выборе технологических параметров являются: жёсткость, стойкость, точность и универсальность. Для назначения параметров инструментов необходимо знать основные требования, предъявляемые к ним при работе на станках с ЧПУ.
Требования, предъявляемые к резцам:
Резцы должны:
-
Максимально содержать неперетачиваемые пластины, механически закрепляемые на корпусе инструмента, что обеспечивает постоянство его конструктивных и геометрических параметров в процессе резания;
-
Иметь рациональные формы пластин, обеспечивающих универсальность инструмента, что позволяет обрабатывать одним резцом максимальное число поверхностей детали;
-
Допускать возможность работы всех инструментов в прямом и перевёрнутом положениях;
-
Предусматривать применение в левом исполнении;
-
Обеспечивать повышенную точность инструмента, особенно резцовых вставок, по сравнению с универсальным инструментом для станков с ручным управлением;
-
Удовлетворительно формировать стружку и отводить её по канавкам, образованным в процессе прессования и спекания твёрдого сплава или выточенным алмазным кругом на передних поверхностях пластин.
Требования, предъявляемые к фрезам:
Фрезы должны:
-
Обеспечивать усиленный выход стружки. Это достигается повышением угла наклона спирали. Например, при обработке алюминиевых сплавов рекомендуется специальные 2-3 зубные фрезы с углом наклона 35-45 градусов. Рекомендуется также полирование стружечных канавок и алмазная доводка режущих кромок;
-
Изменять направление осевой составляющей усилия резания таким образом, чтобы она прижимала деталь к столу станка. Это достигается применением праворежущих фрез с левой спиралью и леворежущих с правой спиралью, что способствует улучшению условий обработки тонких плоских деталей;
-
Уменьшать вибрации инструмента, несимметричным расположением зубьев фрезы (рис. 7.7а);
-
Заточка торца фрезы должна позволять осуществлять вертикальное врезание в металл. Такая заточка может быть выполнена на двух и четырёх зубных фрезах. В последнем случае два противоположных зуба стачиваются под углом (рис. 7.7б);
-
Иметь повышенную жёсткость режущей части инструмента, что достигается повышением диаметра сечения сердечника (т.е. понижением глубины канавки), а также применением конического сердечника (канавки переменной глубины) (рис. 7.7в);
-
Иметь возможность увеличения вылета инструмента в том случае, когда при обработке не требуется слишком длинной режущей части, однако выступающие элементы детали не позволяют опустить пиноль на требуемый уровень. В этом случае для сохранения жёсткости инструмента необходимо предусматривать усилительный конус (рис. 7.7г).
а)
Характеристики
Тип файла документ
Документы такого типа открываются такими программами, как Microsoft Office Word на компьютерах Windows, Apple Pages на компьютерах Mac, Open Office - бесплатная альтернатива на различных платформах, в том числе Linux. Наиболее простым и современным решением будут Google документы, так как открываются онлайн без скачивания прямо в браузере на любой платформе. Существуют российские качественные аналоги, например от Яндекса.
Будьте внимательны на мобильных устройствах, так как там используются упрощённый функционал даже в официальном приложении от Microsoft, поэтому для просмотра скачивайте PDF-версию. А если нужно редактировать файл, то используйте оригинальный файл.
Файлы такого типа обычно разбиты на страницы, а текст может быть форматированным (жирный, курсив, выбор шрифта, таблицы и т.п.), а также в него можно добавлять изображения. Формат идеально подходит для рефератов, докладов и РПЗ курсовых проектов, которые необходимо распечатать. Кстати перед печатью также сохраняйте файл в PDF, так как принтер может начудить со шрифтами.















