Раздел 7 (исправлено) (1252992), страница 4
Текст из файла (страница 4)
Рис.7.26 Формирование ЭОП при точении.
Рис.7.27 Движение центра инструмента при фрезеровании.
Рис.7.28 Движение центра вершины резца при точении.
Рис.7.29 Траектории инструментов при обработке на станках с ЧПУ.
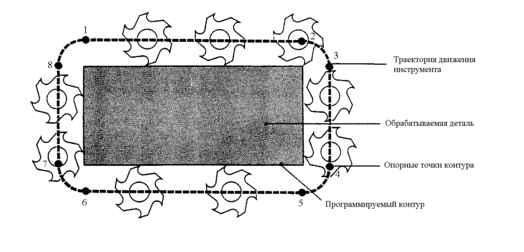
Рис.7.30 Траектория инструмента как совокупность опорных точек.
Рис.7.31 Пример задания опорных точек эквидистанты Р1-Р6 в декартовой системе
координат.
а) б)
в)
Рис.7.32 Обработка плоских (а) и объемных деталей (б).
7.2.2. Правила формирования траекторий во вспомогательных переходах.
1) Начальная точка врезания обычно отстоит на 1-2мм от внешней границы припуска, конечная точка совпадает с начальной точкой инструментального перехода.
2) Начальная точка траектории выхода из зоны обработки совпадает с конечной точкой инструментального перехода.
3) Траектория холостого хода инструмента представляет собой совокупность отрезков траектории соединяющих конечную точку траектории выхода из какого-либо инструментального перехода с начальной точкой врезания при выполнении следующего инструментального перехода.
4) При фрезеровании для врезания в припуск обрабатываемой детали выбирается выпуклый конструктивный элемент, подход к вершине которого возможен по касательной (рис.7.33 а,б,в)
Подход к плоской поверхности осуществляется под малым углом 5-10 град. (рис.7.44 г,е) или по касательной окружности (рис.7.33 д). Подход к контуру окна (выпуклой поверхности) осуществляется по дуге окружности касательной к обрабатываемому контору или поверхности (рис.7.34).
5) В случае подхода к обрабатываемой поверхности с перемещением по оси Z наиболее производительной является вертикальное врезание при использовании фрез с осевым врезанием. При значительном припуске врезание следует проводить либо с предварительным опусканием инструмента в заранее высверленное отверстие (рис.7.46 а) либо зигзагообразным движением инструмента под углом 10-15 град. (рис.7.35 б).
6) Не допускается остановка фрезы или резкое изменение подачи в процессе резания, когда режущие кромки инструмента соприкасаются с обрабатываемой поверхностью. Перед остановкой, режимом изменения подачи, подъемом или опусканием инструмента необходимо обеспечить отвод инструмента от поверхности.
Рис.7.33 Формируемые траектории врезания:
а,б,в,д- подход инструмента к обрабатываемой поверхности по касательной;
г,е- подход инструмента к обрабатываемой поверхности под углом 5-10°.
Рис.7.34 Формирование траектории врезания при обработке внутреннего контура
а) б)
Рис. 7.35 Формирование траектории врезания с перемещением по оси Z:
а) опускание в заранее просверленное отверстие;
б) зигзагообразным движением инструмента.
7.2.3. Правила формирования траекторий рабочих перемещений в инструментальных переходах.
При выборе формы траекторий рабочих перемещений инструментов учитывают такие факторы как:
-
конструктивные особенности участка обработки (наличие препятствий по контуру плоскости, жестких элементов);
-
метрические и топологические характеристики обрабатываемой плоскости и ее контура (площадь, многосвязность, вид контура );
-
тип кривых, составляющих контур;
-
марка обрабатываемого материала;
-
состояние заготовки ( штамповки, проката, литье и т.д.);
-
динамические характеристики станка, например разность скоростей рабочих органов при изменении направления траектории инструмента.
Наиболее распространенные формы траекторий рабочих перемещений приведены: в табл.7.1 – для точения; в табл.7.2 – для обработки отверстий; в табл.7.3 – для обработки фрезерованием.
При разработке плана операций построение траекторий рабочих перемещений в инструментальных переходах производится с учетом следующих правил:
1) В целях понижения колебаний и предупреждения зарезов обработка
конструктивного элемента детали производится от менее жесткого участка к
более жесткому. Например, обработка колодца должна начинаться из центра, а
кармана с середины открытой стороны.
2) Последний чистовой проход выполняется со снятием припуска не
более 0.1-0.2 Dфр.
3) При обработке внешнего контура детали применяется попутное
фрезерование, т.е. обход внешнего контура по часовой стрелке, внутреннего
контура против часовой стрелки.
4) Обычно обработка контура производится за два или более проходов
(черновая, получистовая и чистовая обработки). При этом избегают отдельного
программирования черновой обработки путем использования одной УП
для чистовой и черновой обработок при применении разных диаметров фрез (рис.7.36 а) и смещением исходной точки программы (рис.7.36 б).
5) В случае обработки зеркально отображенных контуров на станке с
ЧПУ можно получить контур левой части по УП, записанной для правой
части, путем переключения полярности сигналов управления. При этом
изменяют направление вращения шпинделя станка на обратное и выбирают
леворежущий инструмент (вместо праворежущего ).
6) Расстояние между соседними проходами Н при торцевой обработке концевыми фрезами (рис.7.37 а) в случае применения траектории типа "строка", "спираль" и "ленточная спираль" выбирается из условия достаточного перекрывания соседних проходов по формуле:
Н = DnP * Кп, где DnP = D – 2r, где г - радиус заточки фрезы;
Кп-коэффициент перекрытия.
А) Для траектории "строка" Кп = 0.9-0.95 (при чистовой обработке)
Б) Для траектории "спираль" и "ленточная спираль" при Кп = 0.9 на детали может появиться недорез в случае, например, обработки угловой поверхности.
Поэтому, Кп=(1+sinα/2)/2, где α/2 - величина наименьшего угла образованного сторонами контура ( рис.7.37 б ).
7) Расстояние необходимого выхода инструмента L за открытую границу контура из условия полной обработки поверхности при использовании траектории типа «строка» и «ленточная спираль» с Н=0.9Dфр определяется по формуле:
где Н- шаг строки, а- угол между направлением ориентации строки и открытой стороны (рис.7.38).
Формы траекторий инструмента при точении
Таблица 7.1
| Основные зоны обработки | ||
| Обработка открытых зон | Обработка полуоткрытых зон | Обработка закрытых зон |
| Траектория «Петля» | ||
| Траектория «Виток» | ||
| Траектория «Спуск» | ||
| Дополнительные зоны обработки | ||
| Специальные траектории | ||
| Обработка угловых канавок | Обработка канавок для колец | Обработка канавок для шкивов |
| Обработка наружных проточек | Обработка прямых канавок | |
Формы траекторий инструмента при обработке отверстий
Таблица 7.2
| Центрование центровочным или спиральным сверлом | Сверление, зенкерование, развертывание | Зенкерование донным резцом, цекование | |
| Зенкование фаски | Растачивание отверстия | Нарезание резьбы | |
| Фрезерование отверстия концевой фрезой | |||
Формы траекторий инструмента при фрезеровании
Таблица 7.3
| Зоны обработки | |||||
| Открытые зоны | |||||
| Полуоткрытые зоны | |||||
| Траектория обработки выступа левой антиспиралью правой антиспиралью | Траектория обработки кармана левой ленточной спиралью правой ленточной спиралью | Траектория выборки массива «правой строкой» «левой строкой» | |||
| Закрытые зоны | |||||
| Траектория обработки колодца левой спиралью правой спиралью | Траектория обработки колодца эквидистантными контурам | Траектория подход фрезы к плоской поверхности по касательной окружности под малым углом | |||
















