Раздел 9 (1253007), страница 13
Текст из файла (страница 13)
Вариант 2
Смена инструмента осуществляется при использовании инструментального магазина и автооператора (рис. 9.88).
Для смены инструмента на станке необходимо выполнить некоторые подготовительные
операции. Это следующие шаги:
- Необходимый инструмент должен быть найден в магазине. В данный момент указание в программе номера инструмента приводит к его поиску и установке его в позицию смены. Эта операция производится на «заднем плане», т.е. вместе с обработкой.
- Оси (или только одна из осей) перемещаются в позицию смены.
- Происходит смена инструмента по функции М06. Система ожидает перед выполнением смены инструмента, пока необходимый инструмент не окажется в позиции смены. После этого новый инструмент устанавливается в шпиндель. Сейчас можно продолжить процесс обработки.
- Предыдущий инструмент устанавливается в магазин. Эта операция производится вместе с обработкой.
- Далее производится поиск нового инструмента в магазине.
Рис. 9.86. Смена инструмента с помощью револьверно головки.
Рис. 9.87. Пример ускоренного подвода рабочих органов станка к позиции смены инструмента (G14)
Рис. 9.88. Смена инструмента с помощью инструментального магазина
1- иструментальный магазин
2- инструмент, необходимый для обработки
3- автооператор
4- сменяемый инструмент
Пример М06: (рис. 9.89)
| N10 | G91 | |||||||
| N20 | G1 | X-80 | Y-15 | F3000 | ||||
| N30 | G1 | X40 | F300 | |||||
| N40 | Y45 | |||||||
| N50 | X-40 | T16 | ||||||
| N60 | Y-45 | M6 | ||||||
| N70 | G81 | X70 | Y65 | Z-40 | R-80 | F200 | H1 | |
| N80 | Y45 | T18 | ||||||
| N90 | Y25 | M6 | ||||||
| N100 | G83 | X35 | Y50 | Z-20 | R-80 | K-20 | H2 | F300 |
| N110 | G80 | Z-100 | H0 | M30 |
Выполнение перемещения с помощью М06:
| N20 | P0→P1 | позиционирование при активной G91 |
| N30 | P1→P2 | обработка с подачей |
| N40 | P2→P3 | обработка с подачей |
| N50 | P3→P4 | обработка с подачей, вызов инструмента №16 |
| N60 | P4→ P1 | обработка с подачей, после достижения позиции Р1 вводится цикл смены инструмента, происходит установление G0, G80 и G90 |
| N70 | N→P5 | выполнение расточного цикла G81, становится активной коррекция длины по иси Z |
| N80 | P5→P6 | выполнение расточного цикла G81, вызов инструмента №18 |
| N90 | P6→P7 | выполнение расточного цикла G81, по окончании расточного цикла вводится цикл сены инструмента, происходит установление G0, G80 и G90, коррекция длины Н1 изымается |
| N100 | N→P8 | выполнение расточного цикла G83, становится активной коррекция длины Н2 по оси Z |
Рис. 9.89. Пример автоматической смены инструмента М06.
9.10. Вспомогательные функции.
Вспомогательные функции М
Система ЧПУ позволяет записывать несколько М функций из разных групп в одном кадре (до 7) (см. раздел 8.2.4). Только одна из М функций от каждой группы может быть запрограммирована в одном кадре:
группа 1 М06 (смена инструмента)
группа 2 М11, М12, М13, М14 (смена диапазона скорости шпинделя)
группа 3 М03, М04, М05, М19 (управление шпинделем)
группа 4 М08, М09 (управление охлаждением)
группа 5 Mnnn (любая другая функция М)
группа 7 М00, М01, М02, М30, М98, М99 (функции управления программой)
Выполнение каждой М функции определяется производителям конкретного станка. Исключение составляют функции управления программой.
Функции управления программой.
М00 – программный останов
Условие останова будет выполнено в конце кадра, содержащего М00. Все модальные функции остаются неизменными. Повторный запуск осуществляется нажатием кнопки START на пульте УЧПУ.
М01 – останов с подтверждением
Его действие идентично коду М00. Он будет действовать, если функциональная клавиша условного установа на пульте оператора будет активной. Если данная функциональная клавиша не активна, эта функция не эффективна.
М02 – конец программы
Означает конец основной программы. Все операции прекращаются.
М98 – вызов подпрограммы
Команда М98 вызовет подпрограмму
М99 – конец подпрограммы
М99 возвратит систему в основную программу.
Различные функции, записанные в одном кадре, будут исполняться системой ЧПУ в следующей последовательности:
| 1 | Смена инструмента | М06 |
| 2 | Поиск инструмента | Т |
| 3 | Выбор диапазона шпинделя | М11, М12, М13, М14 |
| 4 | Скорость шпинделя | S |
| 5 | Управление шпинделем | М03, М04, М05, М19 |
| 6 | Охлаждение | М08, М09 |
| 7 | Другие М функции | Mnnn |
| 8 | Коды управления программой | М00, М01, М02, М30, М98, М99 |
Если вышеуказанная последовательность нежелательна, кадр может быть разбит на отдельные кадры, в которых функции будут записаны по отдельности в необходимой последовательности.
9.11. Коррекция инструмента.
УП создается для конкретных значний вылета резца X и Z при точении и значений вылета фрезы L и диаметра D при фрезеровании (см. п.7.1.3). Однако, значения этих параметров при фактическм использовании режущих инструментов на станке с ЧПУ могут быть другими (наприме, из-за износа инструмента). Применение фрез различного вылета (рис. 9.90), диаметра (рис. 9.91) или резцов различного вылета (рис. 9.92) может привести к откланению размеров детали при обработке по УП. Поэтому в системах ЧПУ предусмотрена возможность проведения коррекции:
-
коррекция геметрии инструмента (диаметра, вылета);
-
коррекция износа инструмента.
При выполнении коррекции система ЧПУ пересчитывает опорные точки траекторий движения в УП с учетом фактических параметров инструмента.
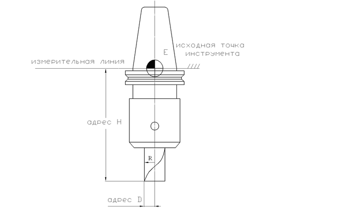
Данные по коррекции инструментов заносятся в регистры коррекции (корректоры) памяти УЧПУ (их может быть до 400 и более). Корректоры используют для коррекции вылета, диаметра и износа инструмента. Вид коррекции связан с программируемым адресом для вызова коррекции (рис. 9.93):
- адрес Н – указывает, что коррекция может быть произведена по вылету инструмента;
- адрес D – указывает, что коррекция может быть произведена по диаметру инструмента.
Число, стоящее позади адреса Н или D указывает номер корректора в памяти УЧПУ, куда заносится фактическая величина коррекции. Таблица 9.6 показывает содержание корректоров в памяти УЧПУ.
Значение коррекции по адресам H и D, записываемые в корректоры памяти УЧПУ, должен иметь положительные или отрицательные значения.
Пример знаков коррекции см. на примере обработки сверлом (рис. 9.94). В приведенном примере применяемое сверло отличается от запрограммированного, и эта разница устраняется за счет коррекции вылетинструмента.
При слишком длинном сверле в таблицу коррекций длины записывается положительное значение H, при слишком коротком сверле в таблицу коррекций записывается отрицательное значение коррекции длины - Н.
Когда в УП происходит ссылка на применение коррекции с помощью адресов Н или D, система ЧПУ будет всегда суммировать геометрическую величину коррекции с величиной износа.
Если, например, в программе имеется ссылка на коррекцию с адресом Н2, коррекция на длину инструмента определится по вышеуказанной таблице как 830.500 + (-0.102) = 830.398. Адреса Н и D модальные. Величины коррекции сохраняются в памяти системы ЧПУ после отключения питания.
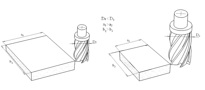
Рис. 9.90 Использование в УП фрез с различным вылетом L
Рис. 9.91 Использование в УП фрез с различным диаметром D
Рис. 9.92 Использование в УП резцов с различным вылетом по оси X
Рис. 9.93. Адреса Н и D для определения коррекции инструментов.
1 – запрограммированная глубина сверления;
2 – значение коррекции “-“;
3 – значение коррекции “+”.
Рис. 9.94. Пример ввода знаков коррекции длины инструмента в таблицу корректоров.
Содержание корректоров в памяти СЧПУ: Таблица 9.4.
| Адрес | Адрес | |||
| номер коррекции | геометрическая величина | износ | геометрическая величина | износ |
| 01 02 . . | -350.200 830.500 . . | 0.130 -0.102 . . | -32.120 52.328 . . | 0.012 -0.008 . . |
9.11.1. Задание велечины коррекции в корректор УЧПУ.
Формат: G10 R L P
где R – величина коррекции, переносимая в корректор;
L – выбор вида коррекции:















