Раздел 9 (1253007)
Текст из файла
Раздел 9: «Описание функций программирования».
При описании программируемых кадров будут встречаться следующие обозначения:
- Все элементы, заключенные в [ ], должны рассматриваться как необязательные.
- Все элементы, заключенные в { }, должны рассматриваться как альтернативные.
9.1. Тип программирования.
9.1.1. Программирование в абсолютной системе, по приращениям относительно нуля станка, (G 90, G 91, G 79).
Функциями, определяющими тип программирования (в абсолютной системе, по приращениям, относительно нуля станка, в полярных координатах) являются:
• G90 - программирование в абсолютной системе (движения относительно фактической начальной точки).
• G91 - программирование в системе по приращениям (движения относительно последнего местоположения).
• G79 - программирование относительно нуля станка.
• G15 - програмирование в полярных координатах.
Общий формат:
{G90}
{G91} [другие G] [команды]
{G79}
{G15}
9.1.1.1 Задание перемещений в абсолютных значениях (G90).
Когда перемещения заданы по функции G90, инструмент перемещается на расстояние, считаемое от точки начала системы координат детали (нуля детали) к точке, позиция которой была определена координатами (рис 9.1).
Команды G90 X50 Y80 Z40 в данном примере переместят инструмент в точку вышеуказанной позиции, независимо от того, какую позицию занимает инструмент в предыдущем кадре.
G90 является модальной функцией. Программируется с и без путевой информации.
Формат: G90 [другие команды]
Пример G90: (рис. 9.2).
9.1.1.2. Задание перемещений в приращениях (G91)
В случае задания данных в приращениях, система управления интерпретирует координатные данные таким образом, что инструмент будет перемещаться на расстояние, считаемое от занятой позиции, заданной в предыдущем кадре (рис. 9.3).
Команды G91 X70 Y-40 Z-20 переместят инструмент на заданные расстояния по осям от предыдущей позиции инструмента.
G91 является модальной функцией. Стирает функцию G90. Не может быть использована с расточными циклами G81-G89.Програмируется с и без путеовй интерполяции.
Формат: G91 [другие команды]
Пример G91: (см. рис. 9.2)
Рис. 9.1. Задание переменной в абсолютных значениях (G90).
Рис. 9.2. Пример задания перемещений в абсолютных значениях (G90), в приращениях (G91).
Рис. 9.3. Задание перемещений в приращениях (G91).
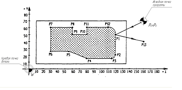
9.1.1.3. Задание перемещений относительно нуля станка (G79).
Когда перемещение задано по функции G79, инструмент перемещается на расстоние считаемое от точки начала системы координат станка(нуля станка).
G79 является немодальной функцией. После программирования кадра с G79 система возвращается в состояние программирования (G90/G91), которое было активным в предыдущем кадре (G90/G91).
Формат: G79 [другие команды]
Пример (G79): Рис. 9.4.
| N1 GXY | перемещение осей X, Y к нулевой точке детали W. |
| N2 ХЗ0 Y4 0 | перемещение осей X, Y к точке 1. |
| N3 G91 Х50 Y25 | перемещение по приращениям к точке 2 (X+50, Y+25 относительно очки 1). |
| N4 Х-71 Y12 | перемещение осей к точке 3 (X-71, Y+12 относительно точки 2). |
| N5 G90 Х110 Y35 | перемещение осей к точке 4 (X+110, Y+35 относительно нулевой точки детали W). |
| N6 G79 Х70 Y55 | перемещение осей к точке 5 (X+70, Y+55 по отношению к нулю станка). |
Примечания
Если ни одна из функций G90, G91, G79, не запрограммирована, автоматически осуществляется программирование в абсолютной системе координат.
Рис 9.4. Пример задания в программе подготовительных функций: G90, G91, G79
9.1.2 Программирование в полярных координатах (G15,G16).
В другом случае координаты конечной точки могут быть введены в полярных координатах, т.е. задавая радиус и угол.
G16- задание в полярных координатах установлен
G15- задание в полярных координатах отменено
Система ЧПУ устанавливает G15 при начальном включении. G15 и G16 являются модальными функциями.
При назначении программирования в полярных координатах функции G00, G01, G03 перезаписываются c определением конечной точки через радиус и угол и становятся:
G00=G10
G01=G11
G02=G12
G03=G13
Кроме функций G16 отменяют программирование в полярных координатах функции М02 и М30.
а) Задание полярной плоскости и полюса (рис.9.5, рис.9.6).
Полярная плоскость - это плоскость, в которой программирование полярных координат активно.
Полюс - начало координат полярной координатной системы. Выбор полярной плоскости и позиции в этой плоскости происходит путем задания G15 и 2х осевых значений.
Команды N150 G16 X100 Y75 означают, что полярная плоскость = Х,Y и позиция полюса = Х100,Y75.
Данные, введенные в полярных координатах, являются эффективными в выбранных плоскостях интерполяции G17, G18, G19.
Когда данные задаются, адреса горизонтальной и вертикальной осей воспринимаются соответственно как радиус и угол. Например, при функции G17 информация, записанная по адресам Х(U) и Y(V) является соответственно радиусом и углом. При этом полюс всегда соответствует началу координат (см. рис. 9.6).
б) Задание радиусной оси, угла и главной оси (рис.9.7 а, б).
Радиусная ось - присвоенный радиусу адрес оси полярной плоскости. Положительное направление радиусной оси соответствует углу А=0°. При определении полярной плоскости радиусная ось = главной оси.
Угол - угол, относящийся к радиусной оси в положительном направлении. Если имеется ось А, углу может быть присвоен другой адрес. При определении полюса угол А устанавливается на 0.
Главная ось – при G03 главная ось перемещается в направлении побочной оси (при x,y x – главная ось).
При задании угла положительное или отрицательное направление угла соответственно определяется перемещением против часовой стрелки или по часовой стрелке. Остальные данные об оси будут восприниматься в декартовой системе координат. Радиус и угол могут быть заданы как в абсолютных значениях, так и в приращениях.
в) Задание точки на полярной плоскости по углу и радиусу в абсолютных значениях G90.
При активном полярно- координатном программировании все движения позиционирования в полярной плоскости определяются заданием угла А и радиуса (радиусная ось и значение). Выбор радиусной оси определяет положение угла 0°. Например, если ось Х используется как радиусная ось, все задания угла относятся к направлению Х.
Пример 1 (G16). (см. рис. 9.7 а).
| Радиусная ось = Х | |||
| N150 | G16 | X100 | Y75 |
| N160 | G10 | X50 | A75,5 |
Пример 2 (G16). (см. рис. 9.7 б).
| Радиусная ось = Y | |||
| N150 | G16 | X100 | Y75 |
| N160 | G10 | X50 | A75,5 |
г) Задание точки на полярной плоскости по углу и радиусу (в приращениях G91).
В полярно- координатной системе угол и радиус на ускоренном ходу и при линейной интерполяции задаются в приращениях (рис.9.8). Радиус и угол при круговой интерполяции также задаются в приращениях. Центр окружности всегда соответствует полюсу.
Пример 3 (G16). (см. рис. 9.8 а).
| N100 | G91 | |||
| POL | N110 | G16 | X100 | Y75 |
| P1 | N120 | G10 | X30 | A45 |
| P2 | N130 | X25 | ||
| P3 | N140 | X35 |
Пример 4 (G16). (см. рис. 9.8 б).
| N200 | G91 | |||
| POL | N210 | G16 | X100 | Y75 |
| P1 | N220 | G10 | X170 | A23 |
| P2 | N230 | G13 | A12 | |
| P3 | N240 | A15 | ||
| P4 | N250 | A17 |
д) Задание контура в полярных координатах (абсолютные значения G90).
Путем выбора функций G (G10…G13) устанавливается вид интерполяции , с помощью которой точки, определенные полярно- координатным программированием, должны быть соединены.
Пример 5 (G16). (рис. 9.9)
| POL | N150 | G15 | X100 | Y75 | |
| P0 | N160 | G10 | X50 | A75,5 | |
| P1 | N170 | G12 | X50 | A37 | R-25 |
| P2 | N180 | G11 | X36 | A26 | |
| P3 | N190 | G13 | X44 | A351 | R25 |
Рис. 9.5. Задание полярной Рис. 9.6. Определение плоскостей интерполяции
плоскости и полюса. в полярных координатах.
Характеристики
Тип файла документ
Документы такого типа открываются такими программами, как Microsoft Office Word на компьютерах Windows, Apple Pages на компьютерах Mac, Open Office - бесплатная альтернатива на различных платформах, в том числе Linux. Наиболее простым и современным решением будут Google документы, так как открываются онлайн без скачивания прямо в браузере на любой платформе. Существуют российские качественные аналоги, например от Яндекса.
Будьте внимательны на мобильных устройствах, так как там используются упрощённый функционал даже в официальном приложении от Microsoft, поэтому для просмотра скачивайте PDF-версию. А если нужно редактировать файл, то используйте оригинальный файл.
Файлы такого типа обычно разбиты на страницы, а текст может быть форматированным (жирный, курсив, выбор шрифта, таблицы и т.п.), а также в него можно добавлять изображения. Формат идеально подходит для рефератов, докладов и РПЗ курсовых проектов, которые необходимо распечатать. Кстати перед печатью также сохраняйте файл в PDF, так как принтер может начудить со шрифтами.















