8.АВТОМАТИЗАЦИЯ ПРОЦЕССОВ ЛИСТОВОЙ И ХОЛОДНОЙ ОБЪЕМНОЙ ШТАМПОВКИ ИЗ ШТУЧНОЙ ЗАГОТОВКИ (1171741)
Текст из файла
АВТОМАТИЗАЦИЯ ПРОЦЕССОВ ЛИСТОВОЙ И ХОЛОДНОЙ ОБЪЕМНОЙ ШТАМПОВКИ ИЗ ШТУЧНОЙ ЗАГОТОВКИ
ТИПОВЫЕ СХЕМЫ И ОСОБЕННОСТИ ОРГАНИЗАЦИИ АВТОМАТИЗИРОВАННЫХ ПРОЦЕССОВ
Наряду с заготовками из непрерывного материала в кузнечно-штамповочном производстве изделия часто штампуются из листовой и объемной заготовки. Многообразие способов и видов штамповки, особенно из штучной заготовки, когда контуры последней соответствуют особенностям формы изделия, позволяет получать внешние и внутренние формы (контуры), которые по своему разнообразию не уступают изделиям, получаемым другими методами (литьем, резанием), но значительно превосходят их по производительности, экономии металла, снижению себестоимости и возможностям автоматизации.
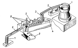
Рис. 1. Схема автоматического участка мелкой штамповки
Особенности технологических процессов штамповки из штучных заготовок вызывают необходимость осуществления непрерывно протекающего процесса ориентации заготовок и периодичности подачи их в рабочую зону технологического агрегата.
На рис. 1 показана схема автоматического участка штамповки шайб (пробивка отверстия). Заготовки (кружки) навалом насыпаются в бункер 1, ориентируются в нем и по лотку 2 подаются в специальный накопитель 3. Из накопителя подающее устройство 4 шиберного типа подает заготовки непосредственно на рабочую позицию в штамп 8, где осуществляется пробивка отверстия, деталь после пробивки остается на пуансоне и после снятия ее специальным съемником выносится толкателем 5 на лоток 6 и попадает в стапелирующее устройство 7. Отходы (просечки) специальным транспортером 9 выносятся из рабочей зоны пресса.
Рис. 2. Схема автоматизированного участка штамповки средних деталей
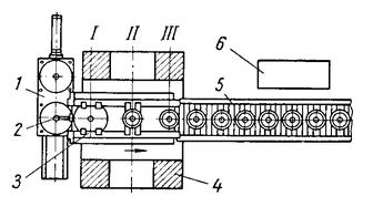
На рис. 2 показана схема процесса штамповки из штучных листовых заготовок.
Уложенные в стопу заготовки установлены в двухместном магазинном ориентирующем устройстве 1. С помощью механической руки 2 одна заготовка подается на пресс 4 на позицию загрузки I, где она захватывается клещевым захватом грейферной подачи 3, перемещается в направлении, указанном стрелкой, и попадает на рабочую позицию II. После совершения технологической операции отштампованная деталь захватами второй позиции грейферной подачи З перемещается на позицию выгрузки III, где она попадает на приводной рольганг 5, который направляет ее к следующему прессу или на сборку. Управление работой средств автоматизации осуществляется от пульта 6.
Рис. 3. Автоматизированный участок штамповки крупных листовых деталей
На рис. 3 показан автоматический участок штамповки крупных листовых деталей. Для подачи листа используется специальный переносной листоукладчик 1, который обеспечивает перемещение заготовки упорами З, прикрепленными к каретке 2, приводимой в движение от цепной передачи. Пружинное устройство на каретке смягчает удар, когда заготовка достигает фиксатора штампа. Отштампованная на прессе деталь удаляется из штампа 4 механической рукой 6 и сбрасывается на приемный лоток 5 устройства для межоперационного ориентирования 8. После ориентации деталь 7 предается на транспортер 9 и направляется к следующему прессу.
На основании приведенных примеров можно составить структурную схему организации участка автоматической штамповки из штучной заготовки (рис. 4).
Рис. 4. Структурные схемы автоматизации (а и б) и комплексной механизации (в) штамповки из штучной заготовки
При операционной штамповке на технологическом агрегате 1 (рис. 4, а) применяются следующие средства автоматизации: ориентирующее 2, питающее З, подающее 4, удаляющее 5, стапелирующее или транспортное устройство 6, а также устройства для удаления отходов 7; при многооперационной штамповке (рис. 4,б) роль удаляющего устройства обычно выполняет передающее устройство 8, в остальном состав средств автоматизации тот же, что и на рис. 4, а.
Характер работы подающих, передающих и удаляющих устройств при автоматизации процессов штамповки из штучной заготовки обусловливает их блокировку с основным технологическим агрегатом. Это отражено в структурных схемах (рис. 4, см. наличие обратной связи между элементами 1-4; 1-5 и 1-8). При комплексной механизации наиболее распространенной является схема без подающего устройства, так как во многих случаях установка заготовок в штамп требует применения очень сложных, а, следовательно, и неустойчиво работающих подающих устройств. Структурная схема комплексно механизированного участка с применением ручного труда на операции установки заготовок состоит (рис. 4, в) из технологического агрегата 1, ориентирующего 2, питающего З, удаляющего 5, транспортного или стапелирующего 6 устройств, функции которых определяются их названиями.
Автоматизация процессов штамповки из штучных заготовок развивается по пути создания средств автоматизации, устанавливаемых на прессе, т. е. универсальных, и средств автоматизации, встраиваемых непосредственно в инструмент (штамп), т. е. специализированных.
В первом случае средства автоматизации проектируются для обслуживания нескольких технологических процессов. Поэтому в конструкции средств автоматизации вводятся различные приспособления для переналадки их и для отключения, когда использование автоматизирующих устройств невозможно. Во втором случае средства автоматизации являются уже специализированными устройствами, что позволяет во многих случаях значительно упростить конструкцию устройств, а следовательно, сделать ее более надежной, однако приводит к большой номенклатуре средств автоматизации. Специализированные автоматизирующие устройства обычно имеют привод от штампа пресса. В условиях серийного и даже крупносерийного производства целесообразно применять универсальные, легко переналаживаемые средства автоматизации. Это уменьшает общую номенклатуру средств автоматизации и позволяет осуществлять более тщательный контроль за их эксплуатацией.
С точки зрения проектирования и расчета, а также функций, выполняемых теми или иными устройствами, никакой принципиальной разницы между специализированными и универсальными средствами автоматизации не существует. Различия возникают лишь при конструктивной проработке средств автоматизации.
В автоматизации процессов листовой и холодной объемной штамповки есть очень много общего, но есть и некоторые отличия, из которых главным является трудность сохранения постоянства ориентации детали при многопереходной холодной объемной штамповке. Поэтому, если при листовой штамповке транспортные устройства иногда используются в качестве питающих устройств (деталь сохраняет ориентацию), то при холодной объемной штамповке транспортные устройства обычно направляют изделия в соответствующее ориентирующее устройство, установленное около следующего технологического агрегата.
ОРИЕНТИРУЮЩИЕ И ПИТАЮЩИЕ УСТРОЙСТВА
Условия, необходимые для автоматического ориентирования изделий
Ориентирующие устройства обеспечивают выдачу заготовок, ориентированных в заданном положении. Различают автоматические ориентирующие устройства, в которых ориентация деталей производится без вмешательства человека, и неавтоматические.
Первые обычно называются автоматическими бункерными захватно - ориентирующими устройствами (АБЗОУ) или просто бункерными устройствами, вторые — магазинными устройствами. Принципиальное отличие ориентирующих устройств для штучных заготовок от устройств для непрерывного материала заключается в том, что для штучных заготовок процесс ориентации многократно повторяется, в то время как для непрерывного материала ориентация осуществляется лишь при заправке материала, т. е. является однократной.
Создание надежно действующих автоматических ориентирующих устройств является очень сложной задачей, связанной со своеобразием их работы, которое заключается в вероятной зависимости их производительности, а не в функциональной, имеющей место в большинстве случаев. В машиностроении почти все рабочие устройства обычно загружаются полуфабрикатами, находящимися в строго определенном положении; в бункерное устройство заготовки загружаются навалом и занимают в нем произвольное положение. В процессе работы бункера эти заготовки должны быть соответствующим образом ориентированы и поданы к технологическому агрегату в определенные заданные заранее интервалы времени.
Общая характеристика АБЗОУ.
Бункерные загрузочные устройства бывают двух основных типов: вибрационные, перемещение захвата которых имеют малую амплитуду и большую частоту, и механические, захваты в которых имеют цикловое перемещение небольшой частоты. И в тех и в других устройствах заготовки загружают в массовом порядке – навалом. Основным рабочим органом этих устройств является бункер. Движущей силой в таких устройствах является сила тяжести (для вибрационных – сила инерции). Необходимым условием работоспособности является подвод механической энергии к заготовкам с целью изменения их пространственного положения. Как правило, эти устройства предназначены для поштучной выдачи заготовки в ориентированном состоянии. Различные конструкции АБЗОУ определяются, прежде всего, типом захвата.
В основу работы АБЗОУ заложен принцип вероятности захвата изделий, засыпанных в бункер произвольно. Для осуществления ориентации изделие должно находиться в положении, благоприятном для его захвата. Вероятность появления такого положения оказывает решающее значение не только на размеры, форму и конструкцию бункера, но и на выбор захватных органов и механизмов для ориентации деталей.
Различают следующие виды равновесия изделия на плоскости:
-
устойчивое, когда изделие, выведенное из первоначального положения, возвращается вновь в это положение;
-
неустойчивое, когда изделие не возвращается в первоначальное положение и падает,
-
безразличное изделие сохраняет равновесие в любом положении.
Положение изделия, благоприятное для захвата, — это наиболее устойчивое (преимущественное) из всех возможных положений.
Рис. 5. Влияние на устойчивость положения детали отношения L/D: 1 - для параллелепипеда; 2 - для цилиндра.
Для иллюстрации этого на рис. 5 приведен график, характеризующий устойчивое положение изделия на торце в зависимости от соотношения длины к диаметру. Как видно из рис. 5, изделия с отношением - D/L < 1/3 имеют устойчивое положение на образующей, так как вероятность устойчивого положения на торце менее 20%, а D/L > З - на торце (вероятность более 70%).
Зная все причины, влияющие на преимущественное положение тех или иных изделий на плоскости или в объеме, можно путем исключения второстепенных причин или сведения их к минимуму предсказать заранее, какое преобладающее положение и ориентацию будут они занимать. Затем математически с помощью теории вероятности определить, сколько изделий будет попадать на захватный орган автоматического ориентирующего устройства.
Как правило, каждое изделие характеризуется какими-то индивидуальными особенностями (или признаками), которые могут быть определяющими для ориентации. В качестве признаков ориентации используются отверстие, лыска, канавка, ребро, выступ, утолщение и др. При проектировании ориентирующих устройств очень важно найти преобладающий признак, позволяющий создать несложную конструкцию захвата и достигнуть высокой вероятности захватывания изделий.
При выборе признаков ориентации следует обращать внимание на способность изделий к самоориентации относительно тех или иных признаков, а также на степень их подвижности.
Работа бункерных устройств основывается на вероятности попадания заготовок на захватный орган, выдача заготовок из бункера должна производиться через различные промежутки времени. Однако для сравнительно больших отрезков времени среднюю производительность бункера можно считать постоянной. Так как к технологическому агрегату (пресс, установка т. в. ч. и т. д.) заготовки должны поступать равномерно, то для надежной работы механизмов должно быть выполнено следующее условие:
Характеристики
Тип файла документ
Документы такого типа открываются такими программами, как Microsoft Office Word на компьютерах Windows, Apple Pages на компьютерах Mac, Open Office - бесплатная альтернатива на различных платформах, в том числе Linux. Наиболее простым и современным решением будут Google документы, так как открываются онлайн без скачивания прямо в браузере на любой платформе. Существуют российские качественные аналоги, например от Яндекса.
Будьте внимательны на мобильных устройствах, так как там используются упрощённый функционал даже в официальном приложении от Microsoft, поэтому для просмотра скачивайте PDF-версию. А если нужно редактировать файл, то используйте оригинальный файл.
Файлы такого типа обычно разбиты на страницы, а текст может быть форматированным (жирный, курсив, выбор шрифта, таблицы и т.п.), а также в него можно добавлять изображения. Формат идеально подходит для рефератов, докладов и РПЗ курсовых проектов, которые необходимо распечатать. Кстати перед печатью также сохраняйте файл в PDF, так как принтер может начудить со шрифтами.
















