5.ПРИВОД СРЕДСТВ АВТОМАТИЗАЦИИ (1171738)
Текст из файла
ПРИВОД СРЕДСТВ АВТОМАТИЗАЦИИ
Классификация
Привод средств автоматизации должен обеспечивать требуемые движения захватного органа с деталью и без нее. В средствах автоматизации используются разнообразные приводы, классификация которых дана на рис. 1. Из классификации следует, что средства автоматизации, применяемые в кузнечно-штамповочном производстве, бывают с индивидуальным приводом или с приводом от пресса (от главного вала или ползуна), т. е. не имеют самостоятельного привода.
Рис. 1. Классификация приводов средств автоматизации
Практика показывает, что различные схемы привода при надлежащей отработке конструкции и подборе параметров, могут быть выполнены равноценными для конкретных условий. При эксплуатации приводов в условиях кузнечно-штамповочного производства решающее значение имеют их специфические особенности (табл. 1).
Выбор типа привода зависит от многих факторов: от особенностей автоматизирующего устройства и деталей, для которых они применяются, типа захватного органа, от вида пресса, и т. д.
Индивидуальный привод по сравнению с приводом от пресса имеет следующие преимущества:
-
обеспечивает оптимальную скорость перемещения изделия;
-
позволяет более рационально скомпоновать автоматизирующее устройство;
-
может быть использован для перемещения детали во время холостого хода и в период выстаивании пресса и др.
Для надежной работы средств автоматизации с индивидуальным приводом необходимо осуществлять надежные блокировки, исключающие попадание деталей устройств механизации под штамп при сдваивании ходов пресса или при другом аварийном случае.
Привод средств автоматизации от пресса позволяет добиться наиболее высокой производительности.
Поэтому во всех случаях, когда требуется обеспечить съем крупных деталей в количестве 15 шт., средних - 40 шт. и мелких - 90 шт. за 1 мин, необходимо проектировать специализированные машины с пониженным числом ходов ползуна, но с приводом средств автоматизации от пресса. Для крупно - габаритных деталей, вне зависимости от быстроходности пресса, целесообразно применять индивидуальный привод средств автоматизации.
Индивидуальный привод средств автоматизации может быть электрическим, гидравлическим, пневматическим или пневмогидравлическим.
Приводы, обеспечивающие поступательное движение, являются, как правило, приводами двустороннего (реверсивного) действия. Обеспечивающие вращательное движение - одностороннего (нереверсивного) действия.
Обычно при применении приводов реверсивного действия отпадает необходимость в использовании механизма периодического движения, так как средства автоматизации приводом возвращаются в исходное положение. В большинстве случаев при использовании нереверсивных приводов (от вала отбора мощности, от электродвигателя) применяется механизм периодического движения.
Электрический привод
К электрическим приводам относятся приводы средств автоматизации от электродвигателя и электромагнита. Привод от электродвигателя применяется главным образом для обеспечения большого хода или для поддерживания постоянства вращения захватного органа, т. е. в приводах механизмов передвижения и поворота, в приводах транспортеров, бункерных устройств и т. д. Электрические приводы с поступательно движущимся рабочим элементом (электромагниты) не нашли широкого применения, так как могут обеспечить небольшой ход.
В настоящее время электрический привод нельзя применять без сложного преобразующего механизма, в котором обычно используется винтовая пара или цепная передача. На рис. 2(49) показаны загрузочные тележки 9 и 10 для периодической подачи листов в листоукладчик 7 (тип АП-10), который применяется в автоматической линии штамповки купальных ванн. Наличие двух тележек 9 и 10 позволяет обеспечить загрузку одной из них в период работы листоукладчика. Для этого предусмотрены две загрузочные позиции: на первой загружают тележку 9, на второй — тележку 10.
Перемещение тележек осуществляется двигателем 1 типа А52-6 (ЛТ = 45 кВт, n = 950 об/мин) через упругую муфту 2, червячный редуктор З (тип РЧП-180-51-П) и цепную передачу 5. Ведущая 4 и ведомая 11 звездочки имеют шаг 1 = 65 мм и = 8. Цепь крепится к двум пружинным буферам 8. двигатель 1 с редуктором З и натяжная станция 12 установлены на фундаменте на специальных стойках. Тележки перемещаются по рельсам 6 со скоростью 0,2 м/сек. При вращении двигателя по часовой стрелке движение происходит в направлении стрелки А (подача тележки 9 на загрузку, а тележки 10 в листоукладчик), при вращении против часовой стрелки — в обратном направлении (подача тележки 10 на загрузку, а тележки 9 в листоукладчик). Электродвигатель работает в реверсивном режиме с небольшим числом включений.
На рис. 3 (22) показан в бункер, где в качестве приводного элемента применяются электромагниты, питающиеся постоянным пульсирующим электрическим током, под действием которого катушка электромагнита попеременно притягивает и отпускает сердечник, вызывая вибрации. В результате этого заготовки начинают перемещаться в нужном направлении.
Рис. 3 Вибрационное автоматическое бункерное захватно - ориентирующее устройство
Расчет электрического привода состоит в выборе электродвигателя или силового электромагнита.
Выбор электродвигателя производится по мощности, определяемой по расчетному усилию или моменту сопротивления в зависимости от заданной скорости перемещения по известным формулам общего машиностроения.
После того как выбран двигатель, определяется предельное число Z включений или переключений в минутах, а затем сравнивается с допускаемыми значениями [Z] .При этом должно быть выдержано следующее условие: Z < [Z]
допускаемое число включений [ZВ] для типовых асинхронных электродвигателей колёблется в пределах [ZВ] = 10 - 80 в минуту, а переключений [Zn]= 4 - 30 в минуту, причем большие значения этих величин соответствуют быстроходным двигателям (nдв≤ 3000 об/мин), а меньшие — двигателям с (nдв≤ 1000 об/мин).
В случае невыполнения условия Z < [Z] необходимо использовать дополнительные механизмы, обеспечивающие работу двигателя без частых переключений, или выбрать другой привод (гидравлический или пневматический).
Электромагнит выбирают по тяговому усилию, определяемому в зависимости от типа средств автоматизации.
В настоящее время в кузнечно-штамповочном производстве применяют электромагниты переменного и постоянного тока. Следует иметь в виду, что когда технические данные и характеристики электромагнитов переменного тока отвечают требованиям, предъявляемым к ним исполнительными механизмами, их использование является более предпочтительным по сравнению с электромагнитами постоянного тока. Однако применение электромагнитов и электродвигателей переменного тока ограничивается числом допускаемых включений, обусловленным их нагревом от пусковых токов. Поэтому при большой частоте включений электропривода (свыше 50 включений в минуту) рекомендуется применять электромагниты постоянного тока, не имеющие указанного недостатка. Например, в бункере, приведенном на рис. 2, применен электромагнит постоянного тока.
Гидравлический привод
Гидравлический привод в средствах автоматизации кузнечно - штамповочного производства находит все большее применение. Этот привод используется в устройствах с небольшими габаритными размерами рабочего пространства, где необходимы значительные усилия (например, в средствах автоматизации, обслуживающих свободную ковку на мощных прессах, и т. д.). Вследствие несжимаемости масла гидравлические системы позволяют практически осуществлять любой закон движения рабочего органа при значительных усилиях, это делает их незаменимыми в механизмах, в которых требуется точно выдерживать заданный закон движения.
Проектирование гидравлического привода заключается:
-
в выборе рабочей жидкости и характере ее циркуляции (открытые или закрытые системы);
-
в подборе типа гидронасоса и аппаратуры управления и контроля;
-
в расчете и конструировании различного рода компенсаторов, баков и др.;
-
в расчете гидроцилиндров, сечений трубопроводов, времени срабатывания и установлении закона движения захватного органа.
В задачу проектировщиков средств автоматизации не входит решение всех перечисленных проблем. Они освещены в специальной литературе. При конструировании средств автоматизации решаются в основном вопросы компоновки силовых цилиндров, т. е. определяются их габаритные размеры, и получения скоростей срабатывания, т. е. подбираются сечения трубопроводов и тип насоса. При этом используются регулируемые системы (обычно с дроссельным регулированием), с тем чтобы в процессе доводки средств автоматизации можно было скорректировать скорости перемещения и довести их до оптимальных.
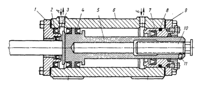
Рис. 3. Гидравлический цилиндр двустороннего действия
При проектировании гидроцилиндров для средств автоматизации следует пользоваться нормалями машиностроения. В нормали МН 1250—60 даются диаметры гидроцилиндров, штоков и золотников. Диаметры цилиндров и штоков основного размерного ряда следующие: 20, 25 и далее через каждые 5 мм до диаметра 80, затем 90, 100, 110, 125, 140 и 150 мм. При выборе рабочего давления нужно исходить из характеристик гидронасосов. Для средств автоматизации в основном применяются шестеренчатые гидронасосы (рабочее давление до З МН/м) или лопастные (рабочее давление до 7 МН/м). Максимальное давление для средств автоматизации считается до 5 МН/м, оптимальное 2 - 3 МН/м.
Гидравлические цилиндры, применяемые в приводах средств автоматизации, обычно являются цилиндрами двустороннего действия (прямое и обратное движение осуществляется гидравликой).
На рис. 3 показана конструкция гидравлического цилиндра с регулированием хода поршня. Корпус цилиндра 6 устанавливается на лапах. Рабочая жидкость, в правую (стрелка Б) и левую (стрелка А) полости цилиндра, поступает через отверстия в корпусе 6 и проточки по зеркалу цилиндра. Поршень 5 выполнен заодно со штоком и уплотняется манжетами 4. Шток уплотняется Манжетами З и 7. В рассматриваемой конструкции привода левая 1 и правая 9 крышки цилиндра уплотняются различными типами манжет 2 и 8, что нерационально. Величина хода поршня вправо может регулироваться винтом 10, упирающимся при движении в упор. Чтобы предотвратить возможность отвинчивания винта 10 при ударе об упор, установлен стопор 11. В случае конструирования гидравлических цилиндров без регулировки хода поршня удается в самом цилиндре уплотнять обе крышки и поршень одними и теми же манжетами 2 и 4. Благодаря этому сокращается число типоразмеров манжет и облегчается эксплуатация гидравлических цилиндров.
Рис. 4. Гидравлический цилиндр с буферным устройством
На рис. 4(51) показана крышка гидравлического цилиндра с буферным устройством для гашения скорости движения поршня 1 в направлении, указанном стрелкой А. Применение такого устройства допустимо в механизмах, приводящих в движение большие массы, или при высоких скоростях перемещения поршня гидравлического цилиндра ( vn ≥ 0,6 м/сек).
Буферное устройство работает следующим образом. В полости II поддерживается рабочее давление; в полостях 1 и III — давление сливной магистрали. По мере движения поршня 1 шток 2 заходит во втулку 4, смонтированную в крышке 5. Сопряжение втулки 4 со штоком 2 поршня выполнено по посадке, поэтому выход жидкости из полости 1 происходит через отверстия З в штоке 2 поршня. Так как сечение отверстия З небольшое, то в полости 1 постепенно повышается давление, т. е. увеличивается сила сопротивления движению поршня; при этом поршень плавно останавливается. Изменяя длину штока 2 и площадь сечения отверстий З, можно получить оптимальные скорости при останавливании поршня. При движении поршня влево обеспечивается плавное нарастание скорости, так как давление в полости II действует в начальный период на небольшую кольцевую площадь штока. Применение буферного устройства возможно лишь в том случае, когда в начале движения требуются меньшие усилия, чем в процессе работы. Если на протяжении всего хода необходимо полное рабочее усилие, то в крышке 5 между полостями I и I устанавливается обратный клапан, пропускающий жидкость только в направлении полости 1.
При проектировании гидравлических приводов следует избегать вертикальной компоновки гидравлического цилиндра. В случае, когда такая компоновка неизбежна, предусматривают гидравлическое уравновешивание подвижных узлов, для чего в системе гидроуправления предусматриваются подпорные клапаны, при помощи которых создается необходимое давление подпора pn , препятствующее падению узла во время опускания и предохраняющее его в случае прекращения подачи рабочей жидкости.
Характеристики
Тип файла документ
Документы такого типа открываются такими программами, как Microsoft Office Word на компьютерах Windows, Apple Pages на компьютерах Mac, Open Office - бесплатная альтернатива на различных платформах, в том числе Linux. Наиболее простым и современным решением будут Google документы, так как открываются онлайн без скачивания прямо в браузере на любой платформе. Существуют российские качественные аналоги, например от Яндекса.
Будьте внимательны на мобильных устройствах, так как там используются упрощённый функционал даже в официальном приложении от Microsoft, поэтому для просмотра скачивайте PDF-версию. А если нужно редактировать файл, то используйте оригинальный файл.
Файлы такого типа обычно разбиты на страницы, а текст может быть форматированным (жирный, курсив, выбор шрифта, таблицы и т.п.), а также в него можно добавлять изображения. Формат идеально подходит для рефератов, докладов и РПЗ курсовых проектов, которые необходимо распечатать. Кстати перед печатью также сохраняйте файл в PDF, так как принтер может начудить со шрифтами.
















