4.Захватные органы (1171737)
Текст из файла
25
Захватные органы
Классификация
Проектирование средств автоматизации начинается с выбора захватного органа, в функции которого входит: захват детали, удерживание захваченной детали в процессе перемещения и ее освобождение. Рациональный выбор захватного органа позволяет значительно упростить и сделать надежнее работу автоматизирующего устройства.
Захватные органы, применяемые в средствах автоматизации механизации кузнечно-штамповочного производства, бывают самостоятельным силовым устройством или без такого устройства. Первые для осуществления процессов захвата или освобождения захваченной детали имеют специальные силовые устройства; у вторых захват обеспечивается в процессе перемещения детали, осуществляемого приводом средств автоматизации.
Захватные органы в зависимости от характера взаимодействия между захватом и изделием бывают: фрикционными, пневматическими, электромагнитными, клиновыми, ножевыми, клещевыми, крючковыми, толкающими, карманчиковыми и гравитационными. Некоторые типы захватных органов различают еще и по форме рабочих элементов, например роликовый, шариковыми, шиберный и другие, или по типу привода — механический, гидравлический, пневматический, нескольких механизмов, дополняющих друг друга. Например, толкающий (шиберный) и клещевой в грейферных подачах; фрикционный клиновой (роликовый) в валковых подачах; пневматический и толкающий (планочный) в листоукладчиках и т. д.
Классификация захватных органов, применяемых в средствах автоматизации и механизации кузнечно-штамповочного производства.
Фрикционный захват
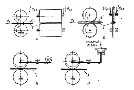
Особенностью фрикционного захвата является осуществление захвата и перемещения заготовок за счет сил трения. Конструктивные схемы фрикционных захватных органов показаны на рис. 1.
Рис. 1. Схемы фрикционных захватных органов: а — для ленты и б — для проволоки; в — с механическим и г — с пневматическим силовыми устройствами
Из рис. 1 видно, что во фрикционных захватных органах для создания тягового усилия QЗ ‚ необходимо к осям валков (роликов) приложить нажимное усилие QР.З. . При этом для движения заготовки 1 в направлении А преобразующий механизм должен обеспечивать вращение валиков (роликов) в направлении Б. Фрикционные захватные органы с управляемым силовым устройством (рис. 1, в и г) отличаются от неуправляемых (рис. 1, а и б) тем, что один из рабочих валков может выходить из соприкосновения с заготовкой (штриховая линия, рис. 1, в и г); при этом заготовку можно свободно переместить относительно валков. QР.З
Расчет фрикционного захватного органа сводится к определению усилия сжатия валков или роликов QР,З,, необходимого для осуществления передачи за счет силы трения тянущего усилия QЗ.
Расчетное усилие сжатия валков для ленты равно:
при одном приводном валке
,
при двух приводных валках
В общем случае при zв приводных валках расчетное усилие для
захватного органа равно
; где
β - коэффициент надежности сцепления, выбираемый в зависимости от ускорений, развиваемых при подаче, и равный 1,5 - 2; причем большие значения коэффициента принимаются при ускорениях, превышающих 10 м/сек2;
QЗ - тянущее усилие, определяемое схемой компоновки средства автоматизации (см. § 13);
zв - число приводных валков;
µ - коэффициент трения; для металла по металлу со смазкой принимают µ = 0,08-0,12.
Рис. 2. Расчетная схема фрикционного захватного органа для проволоки
При расчете захватного органа для проволоки или круглого проката величина расчетного усилия захвата зависит от профиля канавки ролика. Для случая, показанного на рис. 2, а, расчетное усилие захвата определяется по формуле, аналогичной формуле:
, где
zР - число приводных роликов.
Остальные обозначения аналогичны обозначениям, принятым ранее. Для случая, показанного на рис. 2, б имеем
; где
QN - нормальное усилие. Согласно схеме действующих сил (рис.2,б)
, откуда окончательно получаем
, где
α - угол наклона канавки к плоскости подачи заготовки.
Пневматический захват
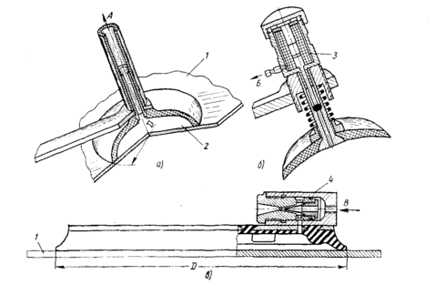
В пневматическом (вакуумном) захватном органе связь между захватом и заготовкой осуществляется за счет разрежения, образующегося в полости пневматического захвата (присоса). Силами, удерживающими заготовку, являются подъемная сила захвата и сила трения между заготовкой и захватом.
Рис. 3. Разновидности управляемых пневматических захватных органов: (А — к вакуумной установке; Б — в атмосферу: В — сжатый воздух)
Пневматические захваты бывают управляемыми и неуправляемыми. В первых создание вакуума во внутренней полости присоса обеспечивается работой специальных вакуумных или эжекционных устройств, создающих необходимое разрежение. Для этого захват должен быть введен в соприкосновение с деталью и слегка прижат. Конструктивные схемы пневматических управляемых захватов приведены на рис. 3. для случая, показанного на рис. 3, а, работа присоса при захвате детали 1 осуществляется включением вакуумной установки; отключение — соединением внутренней полости 2 с атмосферой.
В захвате, показанном на рис. 3, б, для соединения внутренней полости присоса с атмосферой применен электромагнитный клапан 3; включение в работу присоса, показанного на рис. 3, в, осуществляется за счет подачи сжатого воздуха в специальный эжектор 4, отсасывающий воздух из внутренней полости присоса. Подъемная сила таких присосов (рис. 3, в), по данным ЭНИКМАШ, при Р = 370 мм составляет свыше 0,58 кН при давлении воздуха свыше 200 кН/м2.
В неуправляемых пневматических захватах разрежение, необходимое для работы присоса, создается за счет уменьшения объема внутренней полости присоса. Величина вакуума в полости захвата зависит от жесткости резины. При чистой и ровной поверхности заготовки изменение жесткости резины сравнительно мало влияет на снижение вакуума. Оптимальная твердость применяемой резины устанавливается обычно опытным путем для конкретных условий производства.
Неуправляемые захваты не нашли широкого применения, так как время, в течение которого может удерживаться заготовка, ограничено (быстро нарушается вакуум). В таких захватах необходимо предусматривать специальные устройства для отрывания заготовки от присосов. Распространение получили управляемые пневматические захваты.
Расчет пневматического захвата сводится к определению расчетной (подъемной) силы захвата QР.З. которая создается за счет атмосферного давления. Величина силы QР.З. определяется давлением разрежения (перепад давлений Δp), создаваемого во внутренней полости пневматического захвата, и площадью соприкосновения захвата с заготовкой, а также зависит от характера приложения нагрузки QЗ..
При сосредоточенной нагрузке QЗ., когда площадь заготовки немного больше площади захвата и центр тяжести заготовки совпадает с центром захвата, подъемная сила определяется по формуле
; где
β - коэффициент запаса, учитывающий возможные утечки воздуха и состояние рабочей кромки захвата, равный
1,2 - 1,3;
Δp - перепад давлений (давление разрежения), создаваемый в полости пневматического захвата;
- площадь соприкосновения пневматического захвата с заготовкой (площадь захвата);
D - расчетный диаметр захвата.
Рис.5. Расчетная схема для пневматического захвата при внецентренном нагружении
На рис. 5 дана схема для определения расчетной подъемной силы пневматического захвата в случае внецентренного приложения нагрузки (нагрузка рассредоточенная, так как площадь захвата намного меньше площади заготовки). Как видно из рис. 5, отрыв заготовки от пневматического захвата происходит за счет действия силы QЗ и момента M= QЗl , возникающего вследствие несовпадения центра захвата и центра тяжести заготовки, к которому условно приложена подъемная сила захвата (рис. 5, а).
Для определения силы QР.З принимаем линейным (жесткая заготовка) по периметру закон распределения давлений (рис. 5, б), тогда среднее давление qср , отнесенное к единице длины периметра, можно выразить
давление в любой точке по периметру захвата равно (рис. 5, б)
, где
.
Так как неравномерность распределения давлений является следствием действия момента М, то для уравновешивания этого момента необходимо соблюдать равенство
В результате интегрирования получаем:
Если Δqmax>qср то произойдет отрыв заготовки от захвата, поэтому всегда следует выполнять следующее условие:
Δqmax< qср или, подставляя выражения для Δqmax и qср получим
При решении этого неравенства относительно силы QЗ, получим:
Так как вследствие гибкости пневматического захвата происходит его изгиб, т. е.
момент, перераспределяющий давление по периметру, уменьшается, расчетная подъемная сила пневматического захвата при внецентренном приложении нагрузки определяется по формуле:
где
- коэффициент, учитывающий влияние изгибающего момента при внецентренном приложении нагрузки; причем l - расстояние от центра тяжести заготовки до центра захвата, а при применении нескольких захватов - до центра наиболее удаленного захвата. Перепад давлений Δp зависит от типа захватного органа. Для управляемых захватов величина Δp определяется параметрами вакуумной установки, для неуправляемых захватов Δp обычно равно 1,2-1,5атм.
Характеристики
Тип файла документ
Документы такого типа открываются такими программами, как Microsoft Office Word на компьютерах Windows, Apple Pages на компьютерах Mac, Open Office - бесплатная альтернатива на различных платформах, в том числе Linux. Наиболее простым и современным решением будут Google документы, так как открываются онлайн без скачивания прямо в браузере на любой платформе. Существуют российские качественные аналоги, например от Яндекса.
Будьте внимательны на мобильных устройствах, так как там используются упрощённый функционал даже в официальном приложении от Microsoft, поэтому для просмотра скачивайте PDF-версию. А если нужно редактировать файл, то используйте оригинальный файл.
Файлы такого типа обычно разбиты на страницы, а текст может быть форматированным (жирный, курсив, выбор шрифта, таблицы и т.п.), а также в него можно добавлять изображения. Формат идеально подходит для рефератов, докладов и РПЗ курсовых проектов, которые необходимо распечатать. Кстати перед печатью также сохраняйте файл в PDF, так как принтер может начудить со шрифтами.
















