4.Захватные органы (1171737), страница 3
Текст из файла (страница 3)
где h - расстояние от центра тяжести заготовки до ближайшей крайней точки губки захвата;
l — длина губки захвата.
Из условия равновесия сил для схемы на рис. 11, г получаем
Анализ приведенных выше выражений показывает, что в случае шарнирных губок захвата силовое устройство должно развивать усилие, примерно в З раза большее, чем в случае жестких губок.
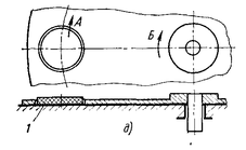
На рис. 12 показана расчетная схема для фигурного захвата, состоящего из губок А и Б, обеспечивающего захват и удерживание заготовки, когда плоскости действия рабочей нагрузки в усилия захвата совпадают (схема II) и не совпадают (схема I).
Рис. 12. Расчетные схемы действия сил для клещевого фигурного захватного
органа: а - общая: б и г - в крайней задней точке и в и д - в крайней передней точке губок захвата А и Б; В - заготовка
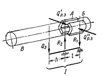
Схемы равновесия сил (рис. 12, а) зависят от типа захвата. Анализ расчетной схемы I (рис. 12, ,б и в) показывает, что так как
реакция R1 и R2 воспринимаются обеими губками, то расчетное усилие для каждой из них равно:
Усилия Q1 и Q2 согласно расчетным схемам (рис. 12,б и в) и с учетом сил трения Т’ и Т”, возникающих на губках А и Б от сил R’N и R’’N равны
Усилия R1 и R2 для схем на рис. 12, б и в для жестких и шарнирных губок определяются по формулам
и
; при этом с учетом последних выражений получаем, что расчетные усилия захвата для схемы 1 равны
где α — половина угла скоса губок захвата, принимаемого равным 0,785 - 1,05 рад (45—60°);
- угол трения;
μ - коэффициент трения между заготовкой и губкой захвата, обычно μ= 0,2 - 0,3 (без рифления) и μ= 0,3-0,4 (с рифлением).
Расчетная схема II (рис. 12, г и д) принципиально ничем не отличается от схем на рис. 11, в или г, т. е. для нее усилия захвата определяются в зависимости от типа губок захвата по зависимостям
Анализ полученных расчетных зависимостей для определения QР.З показывает, что для уменьшения силы захвата необходимо увеличивать его длину l. Однако это не всегда целесообразно, так как влечет за собой увеличение длины заготовки в месте захвата. Поэтому в большинстве случаев необходимо определять минимальную длину губок захвата, исходя из условия отсутствия смятия в месте контакта захвата с заготовкой (для деталей, не допускающих повреждения наружной поверхности) или из условия отсутствия пластической деформации в месте контакта заготовки с захватом.
При повороте заготовки в плоскости действия рабочей нагрузки ее удерживание происходит за счет сил трения, создаваемых от нормальных сил RN. Угол поворота заготовки φ допускаемый условием заклинивания изделия губками захвата, определяется из выражения
где ρ- угол трения между изделием и заготовкой.
При коэффициенте трения μ= 0,3 - 0,4 (губки имеют рифление) максимальный угол поворота равен φ=0,28 - 0,384 рад (16—22°). При дальнейшем повороте заготовки заклинивающее действие захвата уменьшается и появляется осевая составляющая рабочей нагрузки, стремящаяся вырвать заготовку из захватов. При повороте заготовки на 1,57 рад (90) получается расчетная схема, показанная на рис. 11, б.
В клещевых захватных органах усилие для удерживания заготовки может передаваться непосредственно (см. рис. 11, а) или через систему рычагов, изменяющих направление и величину усилия.
Толкающий захватный орган
При использовании толкающего захватного органа заготовка перемещается проталкиванием ее по плоскости. В зависимости от конструкции толкателя захватные органы этого типа бывают: шиберные (с плоским или круглым шибером), планочные и дисковые. Плоский шиберный захват применяется при однопозиционной, а планочный — при многопозиционной штамповке. Дисковый захватный орган применяется при подаче заготовок по радиусу и используется при однопозиционной и многопозиционной штамповке. Толкающий захватный орган с круглым шибером используется при автоматизации процессов объемной штамповки.
Рис. 13. Схемы толкающих захватных органов: а — шиберного с поштучной подачей; б — шиберного с подачей «дорожкой»; в — шиберного с подачей «каскадом»; г — планочного; д — дискового; I - рабочая позиция; II—позиция загрузки; III - исходное положение шибера; 1- заготовка; 2 - шибер; З – планка
На рис. 13 приведены наиболее распространенные схемы толкающих захватных органов. На рис. 13, а - в показаны способы захвата и движение заготовок (стрелки А) в случае открытого шибера, имеющего возвратно-поступательное движение (стрелки Б). Когда шибер находится в исходном положении, заготовка, находящаяся над шибером, опускается на плоскость подачи и при движении шибера влево передвигается на рабочую позицию. Способ захвата заготовок выбирается в зависимости от расстояния подачи, толщины заготовок и др. Поштучная подача (рис. 13, а) может быть осуществлена для любых заготовок толщиной свыше 0,5 мм и при малых расстояниях подачи; подача дорожкой (рис. 13, 6) возможна для заготовок правильной геометрической формы (прямоугольника, шестигранника, круга и др.) толщиной свыше 1 мм, имеющих отклонения по плоскостности не более 10—15% от толщины; подача «каскадом» или ступенчатым шибером (рис. 13, в) - для любых заготовок вне зависимости от степени их коробления и расстояния подачи.
На рис. 13, г показан планочный захватный орган. В этом случае проталкивание заготовок (по стрелке А) с позиции на позицию осуществляется специальными планками с возвратом их в исходное положение над заготовками (стрелки Б).
На рис. 13, д дана схема дискового захватного органа. Отличительной его особенностью является движение заготовки и толкателя (диска) в одном направлении (стрелки А и Б) с остановкой на рабочих позициях.
Расчет рассматриваемых захватных органов сводится к определению хода захвата hЗ.. Величину хода захвата необходимо определять с учетом некоторого перехода толкателя при возвращении в исходное положение.
Для шиберных захватных органов величина хода захвата равна:
при поштучном транспортировании: hЗ = L+hX ,
при транспортировании «дорожкой» hЗ = L/zЗ.+hX=h+ hX
при транспортировании «каскадом» hЗ = L/zЗ.+hX=h+2 hX
где L - расстояние подачи;
h - размер заготовки в направлении подачи;
zЗ - количество заготовок, находящихся между рабочей и исходной позициями; hX - величина перехода толкателя, которая принимается обычно равной 0,8 – 1,2 мм.
Для планочных захватных органов расстояние подачи равно расстоянию между рабочими позициями, ход захвата определяется по формуле hЗ = L+hX.
Расчет дискового захвата сводится к определению угла поворота диска между позициями φ=2π/z
где φ - ход захвата в рад;
z — число рабочих позиций.
Крючковый захват
Крючковый захват обеспечивает поступательное движение заготовки или движение по дуге при наличии плоскости, по которой она может перемещаться.
Крючковый захватный орган является одним из самых простых захватов, применяемых для штучных заготовок (чаще для горячей штамповки) и для непрерывного материала при наличии в нем перемычек после штамповки.
Р
ис. 14. Схемы крючковых захватов с цеплянием за отверстие (а, в) и за наружную поверхность (б): 1 — заготовка; 2 — захватный орган
При применении крючковых захватов для штучных заготовок необходимо учитывать особенности их геометрии (наличие отверстий, рис. 14, а или выступов, рис. 44, б), характер поверхности, по которой может перемещаться заготовка, и т. д. Крючковый захват (рис. 14, в) можно использовать для фиксации и укладки заготовок (стапелирования).
При расчете крючковых захватов следует учитывать скорость движения захватного органа и путь, который должна пройти заготовка или захват в процессе захватывания.
Карманчиковый захватный орган
В карманчиковом захватном органе захват изделий осуществляется за счет западания их в специальные карманы (полости). Используются они для объемных деталей простой геометрической формы: цилиндр, трубка и др. Конструктивные схемы карманчиковых захватных органов показаны на рис. 15.
Рис. 15. Схемы карманчикового захватного органа: а — при радиальном: б — хордальном: в и г — аксиальном расположении
заготовок: 1 — заготовка: 2 — захватный орган
Расчет карманчиковых захватов сводится к определению оптимальных размеров кармана с учетом скорости движения захватного органа (направление А), которая обеспечивала бы западание в них заготовок определенной формы (размеры d и l) и вместе с тем исключала бы их заклинивание при неправильном положении в кармане.
Гравитационный захватный орган
















