8.АВТОМАТИЗАЦИЯ ПРОЦЕССОВ ЛИСТОВОЙ И ХОЛОДНОЙ ОБЪЕМНОЙ ШТАМПОВКИ ИЗ ШТУЧНОЙ ЗАГОТОВКИ (1171741), страница 2
Текст из файла (страница 2)
Пn = (1,1-1,25)Пср
где Пn — производительность технологического агрегата;
1,1 - 1,25 - коэффициент превышения средней производительности;
Пср - средняя производительность бункера.
Возможности автоматической ориентации изделий резко уменьшаются по мере увеличения массы, габаритных размеров и сложности формы изделий. Это объясняется резким увеличением динамических нагрузок, возникающих при работе бункеров, и значительным снижением коэффициента выдачи. Поэтому автоматическое ориентирование применяется в основном для мелких и редко для средних деталей простой геометрической формы. Для изделий сложной формы, а также для большинства средних и крупных деталей применяются устройства без автоматического ориентирования (типа магазинов). Автоматические ориентирующие устройства, применяемые в кузнечно-штамповочном производстве, обычно подразделяются на три большие группы:
-
бункерные с поштучной выдачей заготовок;
-
бункерные, выдающие заготовки порциями, и
-
бункерные, выдающие заготовки непрерывным потоком.
Основные разновидности автоматических бункерных захватно-ориентирующих устройств (АБЗОУ)
Рис. 6. Классификация автоматических бункерных захватно - ориентирующих устройств (АБЗОУ)
Автоматические ориентирующие устройства состоят из захватного органа, средств ориентации и переориентации, преобразующего механизма, привода и системы управления и блокировки.
В бункерных устройствах применяются в основном крючковый, карманчиковый и гравитационный захватные органы. В зависимости от конструктивного исполнения захватного органа бункерные устройства подразделяются (рис. 6) на крючковые, карманчиковые наклонные и вертикальные, щелевые, секторные, ножевые, с подвижными полувтулками, барабанные, с вращающейся втулкой, вибрационные и т. д.
В бункерных устройствах используется электрический привод. Расчетные зависимости для определения мощности электродвигателей большинства бункерных устройств имеют множество необоснованных допущений. Это объясняется тем, что для нахождения моментов сопротивлений необходимо учитывать, во-первых, трение между заготовками, захватным органом и неподвижным основанием бункера; во-вторых, влияние угла естественного откоса материала , зависящего от формы и размеров заготовки; в третьих, динамические нагрузки и т. д.
В качестве преобразующих механизмов в АБЗОУ используются различного типа редукторы, зубчатые и цепные передачи.
Крючковые АБЗОУ.
Рис. 15. Схема устройства
1 – бункер, 2 – крючковый захват,
3 – лоток выдачи, 4 – заготовка в бункера,
5 – заготовка в момент выдачи.
В крючковую подачу заготовки загружается навалом в бункер. При включении подачи захват в виде ротора с крючками начинает вращаться, и крючки поочередно взаимодействуют с заготовками, расположенными в нижней части бункера. Если заготовка сориентирована на захват, то происходит ее удержание на крючке, подъем и сброс в вертикальный лоток. Если заготовка не сориентирована на захват, то крючок изменяет ее ориентацию. При каждом прохождении крючка через бункер ориентация близлежащих заготовок изменяется.
Рис. 7. Конструкция крючкового АБЗОУ
На рис. 7 и 8 показаны типовые конструкции бункерных устройств, обеспечивающих через определенные интервалы времени поштучную выдачу ориентированных заготовок.
В крючковом бункерном устройстве (см. рис. 7) заготовки, засыпанные в предбункер 5, скатываются в основной бункер 6. Крючковые захваты 2, закрепленные на вращающемся диске 3, проходя через массу заготовок, находящихся в нижней части, захватывают правильно ориентированные детали и поднимают их вверх. Далее захваты 2, продвигая заготовки под направляющей 4, вводят их в приемник, после чего заготовки под действием силы тяжести попадают в питающее устройство 1 (например, трубчатый лоток).
При переполненном питающем устройстве или при неправильном положении заготовок на крючковом захвате 2 диск З останавливается. Это обеспечивается кулачковой предохранительной муфтой, состоящей из сидящего на валу 7 кулачка 9, имеющего четыре выступа 12; фланца 8; штифтов 11 и пружины 13. При возникновении нагрузки больше расчетной вал 7 останавливается и штифты 11, сжимая пружину 13, выходят из зацепления с кулачком 9.
Для освобождения зажатых заготовок диск 3 поворачивается пружиной 14 в обратном направлении на угол 0,175-0,262 рад (10-15°) за счет наличия полукруглого паза 10.
Карманчиковая АБЗОУ с наклонным захватом.
Рис. 16. Схема устройства
1 – бункер, 2 – захват,3 – лоток,
4 - заготовки в исходном положении,
5 – заготовка в момент выдачи.
Рис. 8. Карманчиковые АБЗОУ Рис. 9. Схема карманчикового АБЗ0У
На рис. 8,а показаны конструктивные схемы вертикального, а на рис. 8, б- наклонного карманчикового бункеров. Принцип работы их показан на схеме рис. 9. Заготовки, засыпанные в бункер 2, размещаются на захватном органе (диске) 1, приводимом в движение через редуктор 4. При вращении захватного органа 1 в его карманы попадают заготовки и, поднимаясь вверх, попадают в питающее устройство З через отверстие в корпусе.
Производительность всех типов бункеров с поштучной выдачей заготовок может определяться по формуле
где z — число захватных органов, принимающих участие в одном цикле работы (один поворот, один полный ход вперед-назад);
n — число циклов работы (оборотов, полных ходов) в мин;
η— коэффициент выдачи.
Определение коэффициента выдачи зависит от многих факторов, учет которых обычно производится на основании законов теории вероятности.
Коэффициент выдачи может быть определен из следующей зависимости:
где ηmax - предельное значение коэффициента выдачи, зависящее от типа АБЗОУ
v- скорость движения захватных органов, в м/сек;
ξ и ψ коэффициенты, определяемые по таблицам.
АБЗОУ выдающие заготовки порциями.
а) секторный АБЗОУ
б) ножевой АБЗОУ
с) щелевой АБЗОУ
рис. 8
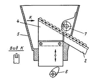
На рис. 8 а показано бункерное устройство с качающимся сектором для заготовок с головками. Бункер состоит из кожуха 5, в который навалом засыпаны заготовки; захватного органа (сектора) 4; устройства З ориентации и переориентации и питающего устройства (отводящего лотка) 2.
Когда сектор 4 находится в нижнем положении, в щель, имеющуюся в нем, западают заготовки. При подъеме сектора вверх они под действием силы тяжести соскальзывают из щели в лоток 2. Устройство З служит для задержки неправильно ориентированных заготовок. Качательное движение сектора осуществляется приводом через рычаг 1.
1 рычаг;
2 лоток (питающее устройство);
З устройство ориентации и переориентации;
4 захватный орган (сектор);
5кожух;
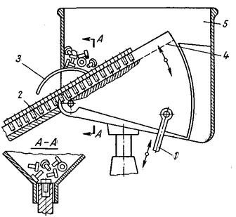
На рис. 8, б представлено бункерное устройство ножевого типа, захватньтй орган которого получает возвратно-поступательное движение от привода через кулачок 6. В щель захватного органа, находящегося в нижнем положении, западают заготовки из кожуха 5. При подъеме захватного органа (в верхней точке) заготовки скатываются в питающее устройство (лоток) 2. Не правильно ориентированные заготовки ориентирующим устройством, состоящим из вращающегося профильного ролика 7, сбрасываются обратно в кожух.
2 питающее устройство (лоток);
4 захватный орган;
5 кожух;
6 кулачок;
7 профильный ролик;
На рис. 8,с показана конструктивная схема щелевого бункерного устройства, состоящего из корпуса 1, в основании которого имеется кольцевой паз. На вращающемся диске 2 смонтированы утопающие захваты 3. При вращении диска 2 в щель между ним и корпусом 1 западают заготовки, которые проталкиваются за хватами 3 и транспортируются по щели до питающего устройства (лотка) 4. Если лоток 4 заполнен, то заготовки, находящиеся в щели, не будут перемещаться, так как захваты З могут отжиматься и утопать в пазу диска, благодаря чему последний может продолжать вращение; заготовки при этом остаются в щели в неподвижном состоянии.
1 корпус
2 вращающийся диск
3 утопающие захваты
4питающее устройство (лоток)
Производительность бункерных устройств с выдачей заготовок
порциями определяется по формуле
где m — число заготовок, которое может быть захвачено одним
захватным органом, z – число захватных органов, ηmax – коэффициент выдачи.
АБЗОУ выдающие заготовки потоком
АБЗОУ с вращающейся втулкой.
Рис. 17. Схема устройства
1 – бункер, 2 – захват,3 – лоток,
4 - заготовки в исходном положении,
5 – заготовка в момент выдачи.
Работает захват следующим образом. Заготовки засыпают в бункер. Захват приводится во вращение. Косой торец захвата непрерывно изменяет ориентацию заготовки в нижней части бункера. Заготовки, имеющие вертикальную ориентацию, проваливаются в отверстие захвата и уходят в лоток.
Захват и выдача заготовок бункерными устройствами имеет вероятностный характер. Это означает, что не каждое взаимодействие захвата с заготовкой привод к ее удержанию и выдаче. Работа устройства характеризуется коэффициентом выдачи, который меньше 1.
Бункерные питатели подобно разматывающему устройству, работающему с валковой подачей, работают с прессом в режиме опережающей производительность. При этом заготовки накапливаются в лотке и в соответствии с ритмом штамповки выдаются механизмами поштучной выдачи. При этом бункерное устройство периодически отключается при накоплении заготовок в лотке.
Наибольшее распространение среди бункерных устройств, выдающих заготовки потоком, получили устройства типа воронок с подвижными полувтулками, с вращающейся втулкой и вибробункеры. Схемы бункеров типа воронок приведены на рис. 10.
Рис. 10. Схемы АБЗОУ типа воронки:
а - с подвижными полувтулками; б - с вращающейся втулкой
В бункерах с подвижными полувтулками (рис. 10, а) ориентация заготовок, засыпанных в бункере навалом, осуществляется совмещением осей заготовок и лоткового питающего устройства за счет возвратно-поступательного движения захватного органа; в бункерах с вращающейся втулкой (рис. 10, б)- за счет вращательного движения втулки с крючковым ворошителем. Производительность бункерных устройств типа воронок зависит от времени прохождения заготовок через отверстие в основании бункера, т.е.
где t — время выхода из бункера одной заготовки в сек.
Можно принять, что движение заготовок у входа в питающее устройство. Подчиняется закону равномерного прямолинейного движения под действием ускорения силы тяжести, для которого
















