6.ПРЕОБРАЗУЮЩИЕ МЕХАНИЗМЫ (1171739), страница 4
Текст из файла (страница 4)
Назначение средств ориентации и переориентации определяется их названием. Введение их в автоматизирующие устройства вызвано тем, что некоторые захватные органы не обеспечивают четкой фиксации заготовки в заданном положении при подаче ее в рабочую зону машины. Применяются они в основном в средствах автоматизации, предназначенных для автоматической ориентации заготовок и транспортировки их между переходами.
Процесс автоматической ориентации можно подразделить на две существенно различные стадии.
-
На первой стадии (первичная ориентация) деталь из произвольного положения приводится в какое-либо устойчивое положение.
-
На второй стадии (вторичная ориентация) деталь переводится с одного устойчивого положения в другое и так до тех пор, пока деталь не будет перемещена в заранее заданное положение.
Обычно функции первичной ориентации выполняют захватные органы (лотки, крючки, карманы и др.). Средства ориентации и переориентации предназначены для выполнения вторичной ориентации деталей. Вторичная ориентации или переориентация происходит под действием сил тяжести, от воздействия внешних сил (встряхивание, вибрация и т. д.) или за счет механического воз действия.
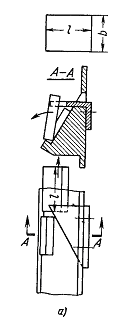
Рис. 13. Переориентация заготовок без изменения направления движения
а — за счет перехода на другую плоскость движения
б — за счет разворота заготовок под действием силы тяжести
В автоматизирующих устройствах в зависимости от характера работы средства ориентации и переориентации обеспечивают либо переориентацию детали в захватном органе, не прерывая движения их к инструменту (рис. 13, 14),
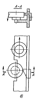
Рис. 14. Переориентация заготовок с изменением направления движения:
а — за счет использования неподвижных ловителей
б — за счет применения специальных механизмов
либо служат контрольно-исполнительным органом, который снимает неправильно ориентированные детали с захватного органа (см. рис. 15), либо выполняют функции распределителей потока (см. рис. 16), т. е. являются механизмами поштучной выдачи.
На рис. 13, а показан процесс переориентации изделия длиной l со смещенным относительно середины центром тяжести (l1 ≠l2). При размере окна s> l1 заготовка, двигаясь широкой частью вперед, опрокинется вниз. При движении заготовки узкой частью (s> l2) ее переориентация будет осуществлена после про хождения центра тяжести над окном (см. сечение АА).
На рис. 13, б переориентация осуществляется аналогично, с той лишь разницей, что при движении изделий головками вперед или назад после прохождения ими конца стержня над прорезью стержень проваливается и изделия занимают вертикальное положение.
На рис. 14, а показана схема переориентации с использованием иглы 1, которая выполняет роль упора при движении колпачка дном вперед или переориентатора при движении отверстием вперед и направляет деталь в приемный лоток 2.
На рис. 14, б показана схема переориентации с применением специального механизма, с помощью которого заготовки занимают требуемое положение. Одновременно механизм играет роль и блокирующего устройства.
рис.15 средства ориентации типа контрольно–исполнительных органов
а - для неправильно ориентированных плоских;
б - для неправильно ориентированных объемных;
в – для сбрасывания лишних заготовок.
На рис. 15 показаны схемы средств ориентации и переориентации, в которых использованы клиновые сбрасыватели различного типа, обеспечивающие сбрасывание с захватного органа (лотка) неправильно ориентированных заготовок . На рис. 15, а показан процесс сбрасывания прямоугольной заготовки (1>b), движущейся по лотку большей стороной; на рис. 15, б — ступенчатой заготовки, занявшей неправильное положение (ступицей вниз) и на рис. 15, в - слипшейся заготовки, двигающейся во втором ряду.
рис.16 механизмы поштучной выдачи
а – с поступательным;
б – с маятниковым;
в - с вращательным движение отсекателя.
На рис. 16 показаны механизмы поштучной выдачи, служащие для изменения характера движения деталей из непрерывного в прерывное.
Расчет средств ориентации и переориентации сводится в основном к определению неустойчивого положения детали и разработке средств для приведения ее в заданное положение.
СИСТЕМЫ УПРАВЛЕНИЯ И БЛОКИРОВКИ
Общие сведения и классификация. Предпосылки программирования
Системы управления и блокировки средств автоматизации и механизации обеспечивают включение привода, связывают работу захватного органа с работой привода, предотвращают поломки элементов средств автоматизации и технологического оборудования при нечеткой или неправильной работе захватного органа в опасной зоне пресса. При рассмотрении систем управления и блокировки средств автоматизации и механизации необходимо отличать их от средств контроля за технологическим процессом или за состоянием оборудования, которые по выполняемым функциям относятся к средствам автоматики.
Рис. 1(79). Классификация систем управления и блокировки
Классификация систем управления и блокировки дана на рис. 79; рассматриваемые механизмы подразделяются на средства предохранения, исключающие поломки различных средств автоматизации и механизации или воздействие инерционных сил на захватные органы.
-
Средства блокировки, обеспечивающие отключение привода в случае, если захватный орган занял неправильное положение относительно детали или инструмента, а также, если в нем отсутствует деталь.
-
Средства управления, обеспечивающие включение и выключение привода или силового устройства захватного органа.
Конструкция систем управления и блокировки во многом определяется приводом средств автоматизации и механизации. Различают механическую, электрическую, гидравлическую и пневматическую системы автоматизации. Характерной чертой механической системы автоматизации является привод средств автоматизации с главного привода (распределительного вала или ползуна) технологического агрегата. Такая система получила преимущественное распространение в многопозиционных прессах - автоматах, гвоздильных, холодно-высадочных и других автоматах кузнечно - штамповочного производства. Применение механической системы сейчас имеет место при конструировании многих средств автоматизации (валковые, ролико - клиновые, крючковые, револьверные, грейферные, шиберные подачи и другие).
С увеличением размеров машин и средств автоматизации, с усложнением заданий для захватных органов все отчетливее становятся недостатки механических систем автоматизации. Конструкции машин крайне усложняются, удлиняются линии передач, затрудняется решение задачи по обеспечению всех циклов движения захватного органа.
При электрической, гидравлической и пневматической системах автоматизации удается значительно упростить преобразующий механизм. Существенное отличие этих систем автоматизации от механической заключается в том, что в них привод технологического агрегата и привод средств автоматизации осуществляются различными механизмами. Поэтому в этих системах для автоматизации функций управления могут быть с успехом применены различные электронные устройства, что значительно расширит возможности автоматизации. В этой связи большое будущее принадлежит программированию технологического процесса.
В механических системах автоматизации программирование процесса изготовления детали обеспечивается за счет введения различных кулачковых и распределительных механизмов, определяющих последовательность воздействия инструмента на заготовку для получения требуемой формы детали. При этом форма детали не может быть изменена, так как она обусловливается штампом. Переход с изготовления одного изделия на другое требует замены штампа, а во многих случаях и распределительных устройств. Это характерно для всех машин с жестким ходом, а также для некоторых машин с нежестким ходом, в которых форма изделия получается не в результате относительного перемещения инструмента, а в результате формообразования в штампах.
В электрических, гидравлических и пневматических системах‚ автоматизации каждый исполнительный орган приводится в движение индивидуальным приводом, обеспечивающим перемещение исполнительного органа пропорционально числу импульсов. В результате сложные системы распределительных устройств заменяются легко сменяемыми лентами или картами. При этом необходимые перемещения исполнительных механизмов обеспечиваются за счет соответствующего кодирования параметров процесса.
Цикловые диаграммы
Автоматизация производства — это расчет цикла, а расчет времени цикла — это расчет производительности с учетом характера взаимодействия (последовательного или совмещенного) всех основных и вспомогательных механизмов, включение в работу которых осуществляет система управления. Исходным материалом для проектирования системы управления и блокировки является цикловая диаграмма, которая вместе с диаграммой путей и скоростей показывает, как взаимодействуют механизмы средств автоматизации между собой и технологическим агрегатом. С помощью цикловых и технологических диаграмм определяется положение всех механизмов в процессе совершения технологической операции.
Различают два способа изображения цикловых диаграмм: с прямоугольных и круговых координатах. Наиболее универсальными являются циклограммы в прямоугольных координатах, которые позволяют установить взаимодействие механизмов в период работы технологического агрегата и при его остановке. Однако для некоторых машин, в основном роторного типа (см. ниже), более наглядными являются круговые циклограммы.
Круговые и прямоугольные циклограммы строятся на полный цикл работы технологического агрегата, включая средства автоматизации и все механизмы, в том числе и блокирующие. В круговой диаграмме составляющие цикла выражены в углах поворота главного или распределительного валов и имеют вид концентрических колец, причем число колец соответствует количеству механизмов в данной автоматизированной установке.
Иногда для увязки движений различных механизмов циклограммы совмещаются с ходограммой механизмов. Для этой цели наиболее целесообразно использовать циклограммы в прямоугольных координатах.
Составление циклограммы работы автоматизированной установки начинается с выбора основного циклового механизма, в качестве которого используется обычно исполнительный механизм технологического агрегата (ползун пресса). Началом цикла считается одно из крайних положений циклового механизма, обычно крайнее верхнее (заднее) положение ползуна (к. в. п.). Полны цикл работы автоматической установки состоит из интервала времени, характеризующих периоды холостого и рабочего перемещений, выстоя, разгона, торможения каждого механизма.
Если в полном цикле работы механизма содержится по одному интервалу одинакового содержания, то такой цикл называется простым; если два и больше — сложным.
















