6.ПРЕОБРАЗУЮЩИЕ МЕХАНИЗМЫ (1171739), страница 3
Текст из файла (страница 3)
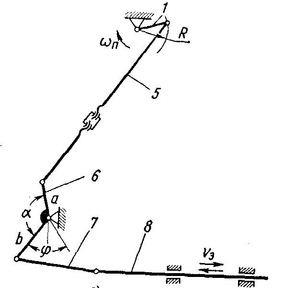
На рис. 8, а показан байонетный механизм, обеспечивающий маятниковое движение захватного органа, а на рис. 8, б - развертка по образующей обоймы. Механизм состоит из подвижной в вертикальной плоскости колонки 2, на которой укреплен палец 3, перемещающийся в вазу цилиндрической обоймы 4. На обойме крепится рычаг 5, соединяемый с захватным органом.
Маятниковое движение обоймы 4 и соединенного с ней рычага 5 производится при воздействии упора 1 на застопоренную от проворота колонку 2. В результате палец 3, обкатываясь по профилю канавки, приводит в движение обойму 4.
Расчет байонетного механизма сводится к определению величины перемещения привода hn в зависимо от угла поворота рычага φ. Величина перемещения hn по дуге hφ находится по формуле для клинового механизма
или, выразив hφ через угол поворота, получаем
где φ - угол поворота рычага механизма в рад;
D - диаметр окружности обоймы
Β - угол наклона профильной канавки;
r - радиус перехода, обычно принимают r >d (где d - диаметр пальца).
передаточное отношение байонетного механизма в период установившегося движения постоянно и равно
где R - радиус качания ведущего звена захватного органа.
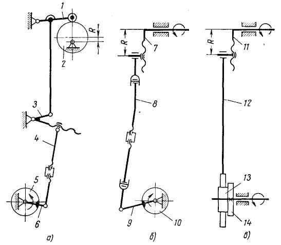
На рис. 9 изображен рычажно-роликовый механизм, работа которого осуществляется следующим образом. Выступ ползушки 3 нажимает на ролик 4, который закреплен на свободном конце рычага 5, качающегося вокруг оси 2. Рычаг 5 через механизм периодического движения 1 приводит во вращение ось 2. При движении ползушки З вниз вращения оси 2 не происходит, т. е. механизм периодического движения обеспечивает выстаивание оси. При изменении движения ползушки происходит выборка пространства h0 , т. е. обеспечивается выстаивание на участке движения ползушки З вверх, а затем поворот рычага 5, а с ним и оси 2 на угол φ.
Расчет рычажно-роликового механизма сводится к определению хода привода hn , в зависимости от поворота оси 2 на угол φ.
Из схемы на рис. 9 имеем
где h0 - величина выстаивания механизма в нижней точке (обычно h0 принимается в пределах 20—40 мм);
R - радиус рычага;
φ - угол качания, обычно меньше 1,31 рад (75°).
Рис. 10. Реечный механизм:
а — без механизма и б — С механизмом периодического движения
В случае, если необходимый угол качания φ> 1,31 рад (75°), то между захватным органом и осью 2, связанной с механизмом периодического движения, встраивают зубчатый перебор для соответствующего увеличения угла поворота. Расчетная формула при этом имеет вид
где φ’ — угол поворота ведущего звена захватного органа;
i — передаточное отношение между осью рычага и валом привода.
На рис. 10 показаны реечные механизмы для преобразования поступательного движения во вращательное. Механизм периодического движения (рис. 10, б) находится между приводной шестерней и ведущим звеном захватного органа. Здесь, в отличие от схем, показанных на рис. 7, только одна рейка.
Ход рейки hn определяется по формуле
где φ — угол поворота ведущего звена захватного органа (шестерни) в рад;
d — диаметр шестерни.
Передаточное отношение находим из выражения
,
Где R – радиус перемещения захватного органа.
Для уменьшения хода привода применяется, как правило зубчатый перебор. В этом случае расчетные формулы имеют вид
и
где i передаточное отношение зубчатого перебора от вала приводной шестерни к валу захватного органа.
Механизмы преобразования вращательного движения во вращательное
Механизмы для преобразования вращательного движения во вращательное бывают двух типов: для периодического вращения захватного органа (прерывное движение) и для постоянного вращения (непрерывное движение). Последние изучаются в курсе «Детали машин» и представляют собой зубчатые, червячные, цепные, ременные и другие передачи, расчет которых производится по известным формулам.
Для осуществления периодического движения захватного органа в схему преобразующего механизма встраивается механизм периодического движения. При установке механизма мальтийского креста, получервячного или фрикционного механизма кинематическая схема преобразую механизма не имеет принципиального отличия от схемы механизма непрерывного движения и состоит из зубчатых, червячных или других механизмов и соответствующего механизма периодического движения. При встраивании других механизмов периодического движения в кинематическую схему преобразующего механизма должны быть внесены соответствующие изменения. На рис. 11 показаны наиболее распространенные кинематические схемы, в которых использованы обгонные муфты или храповые механизмы.
Рис. 11. Кинематические схемы механизмов для преобразования постоянного вращательного движения в прерывистое вращательное
На рис. 11, а показан рычажно-роликовый механизм, состоящий из копира 2, приводимого в движение от вала отбора мощности; специального рычага 1 с роликами; двуплечего рычага З для регулирования угла поворота захватного органа; тяги 4 и рычага 6 с механизмом периодического движения 5.
На рис. 11, б приведена схема кривошипно-рычажного механизма. Здесь регулируемый кривошип 7, приводимый в движение от главного вала машины или от вала отбора мощности, соединен с шарнир ной тягой 8, позволяющей передавать движение во взаимно перпендикулярных плоскостях, и рычагом 9, связанным с механизмом периодического движения 10.
Показанная на рис. 11, в схема кривошипно-реечного механизма состоит из кривошипа 11; тяги 12, оканчивающейся рейкой; шестерен 13, соединенных с механизмом периодического движения 14 и далее с захватным органом.
При проектировании этих механизмов определяется радиус кривошипа R в зависимости от требуемого угла поворота захватного органа. Поэтому тяги 4 (см. рис. 11, а) и 8 (см. рис. 11, б) должны быть регулируемыми по длине.
Расчетные формулы для ориентировочного радиуса R имеют вид:
где l — длина рычага, приводящего механизм периодического движения;
i0 - передаточное отношение двуплечего рычага;
φp - угол поворота механизма захвата в рад, причем для схем рис. 11, а и б 1,31 рад (75°);
φ0 - угол заклинивания механизма периодического движения в рад;
d - начальный диаметр колеса, сопрягаемого с рейкой.
При установке в схему механизмов, показанных на рис. 11, для увеличения угла φp при меньшем радиусе кривошипа зубчатых переборов в расчетные формулы вводится передаточное отношение этого перебора, т. е.
где iв — передаточное отношение зубчатого перебора.
Схемами, приведенными на рис. 11, далеко не исчерпываются все варианты механизмов преобразования вращательного движения во вращательное. Однако большинство схем содержит в той или иной комбинации основные элементы, показанные на рис. 11. Следует еще раз отметить, что шарнирно - роликовый механизм по сравнению с кривошипно - рычажным механизмом несколько сложнее в эксплуатации и в изготовлении, однако конструкция его позволяет предусмотреть любой режим работы захвата. Кривошипно – рычажный механизм, обеспечивает одинаковый угол поворота захватного органа с кривошипно-реечным механизмом, имеет значительно большие габаритные размеры, но более прост в изготовлении.
Механизмы преобразования вращательного движения в поступательное
Механизмы для преобразования вращательного движении в поступательное в большинстве случаев изготовляются на базе кривошипного механизма они обеспечивают возвратно поступательное движение захватного органа. В отдельных случаях, когда захватному органу необходимо сообщить прерывное движение в одну сторону то в преобразую механизм встраивается механизм периодического движения, обычно им является храповой механизм с поступательно движущейся собачкой. При этом собачка устанавливается на последний поступательно движущийся элемент механизма периодического движения.
На рис. 12 показаны типовые схемы механизмов преобразования вращательного движения в поступательное.
Кривошипный механизм (рис. 12, а) представляет собой кривошип 1, который через шатун 2 сообщает ползуну 3, соединенному с захватным органом, возвратно -поступательное движение.
Кулисно-рычажный механизм (рис. 12, б) состоит из кривошипа 1, двуплечего рычага 4 с кулисой, соединенной с регулируемой тягой 5. Последняя приводит в движение двуплечий рычаг б и далее через серьгу 7 ползушку 8, к которой и крепится захватный орган.
Кривошипно -рычажные механизмы (рис. 12, в и г) состоят из кривошипа 1, регулируемой тяги 5, двуплечего рычага б и ползушки 8. Так как механизм, показанный на рис. 12, в, обеспечивает передачу движения в двух взаимно перпендикулярных плоскостях, то тяга 5 снабжена еще шарнирными муфтами. Кроме того, привод ползушки 8 осуществляется через тягу 9, дополнительный рычаг 10, соединенный с ползушкой 8. в механизме на рис. 12, г ползушка 8 с тягой 5 соединяется аналогично показанному на рис. 12, б.
Средства ориентации и переориентации
















