АСУ15Т1 (991601)
Текст из файла
Лекция 15.
15.1.Автоматическое регулирование деаэраторных установок
Деаэратор предназначен для удаления растворенного в питатель? воде кислорода. В нижнюю часть деаэраторной головки, устал ленной над аккумуляторным баком питательной воды, подводи греющий пар (рис15.1). Поток пара, стремясь к выходу в атмосферу, расположен ном ν в верхней части головки, нагревает до температуры кипения движущуюся навстречу ему питательную воду. Выделившийся из воды в процессе кипения кислород вместе с лишками пара сбрасывают в атмосферу или расширитель Для непрерывного нагрева и деаэрирования воды в деаэраторе поддерживают избыточное давление пара рд и соответствующая ему температура насыщения.
Рис. 15.1. Автоматическое регулирование деаэраторной установки
1 — аккумуляторный бак, 2 — деаэраторная головка, 3 — регулирующий клапан, 4 — поиоротная заслонка, 5 — регулятор давления; 6 — регулятор уровня
Схемы регулирования уровня воды H6 в аккумуляюрном баке 1 и избыточного давления пара в деаэраторной головке 2 изображены на рис 15.1
Входным сигналом П- или ПИ-регупятора уровня 6, воздействующего на перемещение клапана 3 на линии химической очищенной воды, служит уровень воды Hб. Обычно регулятор уровня охватывают жесткой отрицательной обратной связью, ЖОС по положению регулирующего клапана, способствующей стабплизаиии расхода воды. Входным сигналом регулятора давления 5, который воздействует на регулирующую заслонку 4 на линии пара, служит давление pд. Из-за необходимости точного поддержания рд и tн регулятор давления должен реализовать ПИ закон регулирования.
При параллельной работе группы деаэраторов регулятор давления и регулятор уровня воздействуют на соответствующие регулирующие клапаны на линиях общего подвода пара и химически очищенной воды.
15.2. Автоматизация теплофикационных установок.
При наличии производственного потребителя, не допускающего перерывов в снабжении паром, промышленные отборы турбин резервируют также с помощью БРОУ, находящихся в состоянии горячего резерва.
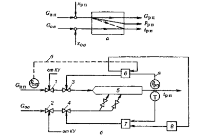
Точность поддержания давления и температуры редуцированного пара диктуется потребителем или в случае сброса редуцированного пара в конденсатор условиями его безопасной работ Как объект регулирования РОУ (БРОУ) представляет собой динамическую систему с двумя входными регулирующими воздействиями: Gпп,. и Gпв , и тремя регулируемыми величинами: t, р и G. Функциональная схема этих связей показана рис. 15.2..
Динамические свойства РОУ по каналам Gпп— tрп и Gпв - t"рп определяются в основном инерционностью темперного датчика (термопары),
Кривая переходного процесса РОУ по давлению пара при возмущении расходом пара приведен ι на рис. 15.3.
Рис. 15.2. Редукционно-охладительная установка (РОУ)
а — функциональная схема связей между входными регулируемыми величина ми, б — принципиальная схема АСР, 1,2 — запорные задвижки, 3, 4 — регу лирующие клапаны, 5 — коллектор редуцированного пара, 6 — регулятор давления, 7 — регулятор температуры, 8 — устройство динамической связи
Сигнал по давлению редуцированного пара ррп в коллекторе 5 (см. рис. 15.2) поступает на вход регулятора давления 6, который воздействует на перемещение парового редукционного клапана 3, осуществляя принцип регулирования давления "после себя" (рис. 15.2, б, линия а),
Входным сигналом регулятора температуры 7 служит tрп , в зависимости от которой он перемещает регулирующий клапан 4 на линии охлаждающей воды. Для увеличения быстродействия регулятора температуры и улучшения качества процесса регулирования на его вход целесообразно подавать опережающий сигнал с выхода регулятора давления через устройство динамической связи 8.
Быстродействующая РОУ отличается от обычной наличием быстрозапорных клапанов 1 и 2 на подводящем паропроводе на трубопроводе охлаждающей воды. Эти клапаны открывают по сигналу от командного устройства (КУ), которое в свою очередь действует в зависимости от назначения БРОУ. Например, в случае резервирования БРОУ промышленного отбора турбины КУ — реле давления, подающее сигнал на открытие быстрозапорных клапанов 1 и, 2 при понижении давления в коллекторе редуцированного пара ниже допустимого.
Если редуцирующее устройство установлено в параллель с турбиной и служит для перепуска пара в конденсатор при внезапных сбросах электрической нагрузки турбогенератора, быстродействующие клапаны открывают при повышении давления пара перед ЬРОУ сверх допустимого (например, при внезапном закрытии стопорного клапана черед турбиной). Регулятор давления РОУ в этом случае действует по принципу регулирования давления пара "до себя" (линия о). Его входным сигналом елу»ит дааленме пара перед редукционным клапаном.
Рис. 15.3. Кривая разгона РОУ но давлению пара при возмущении расходом перегретого пара регулирующими клапанами
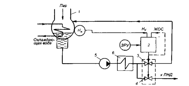
15.3. Автоматическое регулирование уровня воды в конденсаторе
Среднее значение уровня воды в конденсаторе поддерживают по возможности постоянным независимо от расхода пара через турбину или режима ее работы (теплофикационного или конденсационного). Стабилизация уровня необходима по условиям устойчивой работы конденсатных насосов и эжекторов.
Положение уровня регулируют изменением подачи конденсатных насосов. Нижний предел подачи насосов задают минимальным пропуском конденсата через эжекторы и систему регенеративных подогревателей. Поэтому при малых нагрузках турбины часть конденсата с напорной стороны конденсатных насосов необходимо вновь сбрасывать в конденсатор. С учетом этого требования выполняют синему регулирования уровня воды в конденсаторе, принципиальная схема которой изображена на рис. 10.24.
Как объект регулирования уровня конденсатор 1 — герметический бак с насосом на стоке. Динамику объекта описывают уравнением интегрирующего звена [12, 22], т.е. он не обладает свойством самовыравнивания. Регулирование уровня воды осуществляют изменением подачи конденсатных насосов 5 при воздействии на двухпоточный клапан (3, 4).
Рис. 15.4. Система регулирования уровня конденсата в конденсаторе турбинь
/ — конденсатор; 2 — регулятор уровня; .5 — конденсатные насосы,
3,4 — спаренный регулирующий орган
При снижении уровня вследствие сброса нагрузки турбины рабочий клапан 4 прикрывают, обеспечивая требуемый нерегулируемый пропуск воды в системе охлаждения эжекторов 6 и регенеративных подогревателей. При дальнейшем снижении уровня начинают открывать клапан рециркуляции 3, поддерживая уровень воды в конденсаторе. Для удобства управления и согласованности в работе клапаны 3 и 4 выполнены в одном корпусе и управляются одним исполнительным механизмом.
Обычно на регулятор уровня 2 поступают два входных сигнала — по уровню конденсата Нк и по положению регулирующего органа ЖОС.
15.4. Автоматическое регулирование подогревателей сетевой воды.
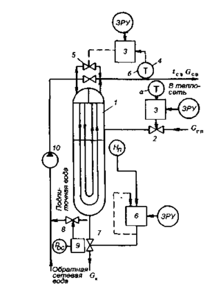
Подогреватель теплофикационной воды предназначен для ее подогрева до требуемой температуры, значение которой задают в зависимости от температуры наружного воздуха. Подогреватель — поверхностный теплообменник 1 (рис. 15.5), по змеевикам которого с помощью сетевого насоса 10 прокачивают воду. Снаружи змеевики обогревают паром. Источником греющего пара обычно служат отборы паровых турбин или резервирующие их РОУ. Основной регулируемой величиной подогревателя служит температура прямой воды (с в, которую необходимо поддерживать на заданном уровне с высокой точностью, диктуемой в основном условиями экономичной работы теплофикационных турбин.
Рис. 15.5. Подогреватель воды (принципиальная схема АСР)
1 — корпус подогревателя, 2 — регулирующая заслонка; 3 — регулятор температуры; 4 — термоприемники; 5 — регулирующий клапан на линии обвода; 6 — регулятор уровня конденсата; 7, 8 — регулирующие клапаны; 9 — регулятор давления обратной сетевой воды; 10 — сетевой насос
Другой регулируемой величиной служит уровень конденсата греющего пара в корпусе подогревателя Яп. Его следует поддерживать вблизи среднего значения по условиям оптимального теплообмена в подогревателе и опасности заброса воды в трубопровод греющего пара.
Вода циркулирует обычно по замкнутому контуру: насос — подогреватель — тепловая сеть — насос. При этом неизбежные потери в тепловой сети восполняют за счет подпиточной воды, которая поступает на всас сетевых насосов под избыточным давлением. Потери воды в сети имеют характер случайных и неконтролируемых возмущений. Поэтому желательно предусматривать автоматическое регулирование расхода подпиточной воды в зависимости от давления обратной сетевой воды. Подогреватель разделяют на три самостоятельных участка: температуры прямой сетевой воды tcв, уровня конденсата в корпусе Нп и давления обратной сетевой воды рс в.
Рис. 15.6. Кривая разгона по температуре сетевой воды по каналу регулирующего воздействия как объект регулирования
Регулирование температуры прямой сетевой воды можно осуществлять тремя способами.При первом (см. рис. 15.5, линия а) — регулятор температуры 3 получает сигнал по tcв и воздействует на перемещение регулирующей заслонки 2 на трубопроводе греющего пара. Судя по графику tс в =f(t) (рис. 15.6), этому участку свойственна значительная инерция. Для обеспечения требуемой точности поддержания значений регулируемой величины при этом варианте могут потребоваться относительно большие перемещения регулирующей заслонки, что может привести к существенным колебаниям давления пара источника. Чтобы избежать этого, температуру прямой сетевой воды можно регулировать перепуском части обратной сетевой воды через клапан 5 в обвод подогревателя в трубопровод прямой сетевой воды, т.е. смешением подогретого и холодного потоков сетевой воды (рис. 15.5, линия б).
Второй способ регулирования, кроме уменьшения инерционности регулируемого участка, позволяет сохранить неизменный расход греющего пара и тем самым способствует стабилизации давления в теплофикационных отборах турбины. Однако этот метод не экономичен и эффективен лишь при значительных перепадах температур обратной и прямой сетевой воды (не менее 20—30 °С). Для регулирования tc B обычно используют ПИ-регуляторы с автоматическим или ручным изменением задания в зависимости от температуры наружного воздуха.
В третьем, наиболее экономичном способе, регулирование tсв происходит изменением давления пара в теплофикационном отборе при полностью открытой регулирующей заслонке 2. Давление пара в отборе изменяют с помощью системы регулирования паровой турбины и специального автоматического задатчика температуры, действующих в зависимости от электрической нагрузки турбогенератора и температуры наружного воздуха.
Регулирование уровня осуществляют регулятором 6. Его входными сигналами служат уровень конденсата в корпусе и положение регулирующего органа. Регулятор воздействует на открытие или закрытие клапана 7 на линии слива конденсата.
Расход подпиточной воды стабилизируют регулятором 9, работающим по принципу регулирования давления "после себя". Он воздействует на клапан 8, установленный на трубопроводе подпитки.
Автоматическое регулирование пиковых водогрейных котлов. Подогрев сетевой воды свыше tc B = 104 °С, соответствующей температуре насыщения при максимальном давлении в теплофикационном отборе, выполняют по двухступенчатой схеме: вначале сетевыми подогревателями, а в диапазоне температур 104—150 °С пиковыми водогрейными котлами, которые работают на газе или мазуте и естественной тяге. Пуск котлов проводят с помощью растопочных горелок по сигналу наличия 30% расхода сетевой воды через контур. Регулирование температуры сетевой воды на выходе водогрейных котлов реализуют либо дистанционно по графику тепловой нагрузки, либо автоматически в зависимости от температуры наружного воздуха. В обоих случаях регулирующим воздействием служит включение и отключение части рабочих горелок.
Для стабилизации работы горелочных устройств на котле устанавливают регулятор давления газа или мазута "до себя", воздействующий на соответствующую заслонку или клапан на общей линии подвода топлива. Регулирование разрежения вверху топки осуществляют с помощью автоматического регулятора разрежения, воздействующего на положение газового шибера перед дымовой трубой.
Характеристики
Тип файла документ
Документы такого типа открываются такими программами, как Microsoft Office Word на компьютерах Windows, Apple Pages на компьютерах Mac, Open Office - бесплатная альтернатива на различных платформах, в том числе Linux. Наиболее простым и современным решением будут Google документы, так как открываются онлайн без скачивания прямо в браузере на любой платформе. Существуют российские качественные аналоги, например от Яндекса.
Будьте внимательны на мобильных устройствах, так как там используются упрощённый функционал даже в официальном приложении от Microsoft, поэтому для просмотра скачивайте PDF-версию. А если нужно редактировать файл, то используйте оригинальный файл.
Файлы такого типа обычно разбиты на страницы, а текст может быть форматированным (жирный, курсив, выбор шрифта, таблицы и т.п.), а также в него можно добавлять изображения. Формат идеально подходит для рефератов, докладов и РПЗ курсовых проектов, которые необходимо распечатать. Кстати перед печатью также сохраняйте файл в PDF, так как принтер может начудить со шрифтами.
















