АСУ07Т1 (991593)
Текст из файла
Лекция 7. Принципы автоматизированного управления технологическим объектом
Общие положения. Функции управления в АСУ ТП разделяют между оператором (ЛПР) и УВК, Оператор может управлять процессом лишь при условии его представления в логическом или формальном виде и наличии критерия управления, заданного в виде числа или соотношения чисел,
В отличие от этого непременным условием управления технологическим процессом через машину служит его описание и наличие функции цели в виде математических моделей, представленных на языке машин. Перевод математических моделей на язык машин осуществляют с помощью программ. Программа определяет:
-
порядок, в котором машина извлекает из ЗУ ту или иную часть информации;
-
вычислительные операции, выполняемые в определенной последовательности;
-
места хранения результатов вычислений и т. д.
Оператор воздействует на технологический процесс посредством перемещения регулирующих органов, управляемых дистанционно с БЩУ или другого центра с помощью исполнительных механизмов.
В отличие от этого управление исполнительными механизмами в АСУ ТП осуществляют по сигналам, которые вырабатывает (вычисляет) центральный процессор УВК на основе алгоритмов, соответствующих поставленным задачам управления. Последние задают формулами (математическими моделями) и также составляют в виде программ. Вычисленные по программам значения управляющих воздействий при помощи устройств вывода УВК предаются объекту.
Управление в режиме советчика оператора. Использование УВК в режиме советчика показано на рис. 7.1. Сигналы измерительной информации х0и z0 , поступающие с объекта, преобразуют с помощью ЦАП в цифровую форму (код) для передачи в ЭЦВМ Далее их используют в алгоритмах расчета управляющих воздействий u и ТЭП Последние представляют оператору в наглядной форме и регистрируют в случае необходимости. Оператор, руководствуясь ими, управляет процессом с помощью изменения задания АСΡ или воздействуя на систему дистанционного управления регулирующими органами.
Рис. 7.1. Управление в режиме советчика оператора
Преимущество этого вида управления в том, что УВК постоянно "помогает" оператору в его стремлении оптимизировать технологической процесс. Недостаток — в ограниченном числе управляющих воздействий, которые может реализовать оператор в единицу времени.
Например, в переменных или пусковых режимах, когда интенсивность потока выполняемых требований по контролю и управлению становится, оператор может не успеть вовремя выполнить все рекомендации ЭВМ и управление в режиме советчика потеряет смысл.
Следовательно, этот вид управления существенно облегчает работу оператора только в базовом режиме эксплуатации. Он применяется также при отладке и опробования новых программ автоматизированною управления, нуждающихся в квалифицированной оценке со стороны операторов, обладающих опытом оптимизации технологических процессов с помощью обычных технических средств.
Супервизорное управление. В режиме супервизорного управления УВК периодически подключают к автоматическим системам непрерывного регулирования. С точки зрения управления технологическими объектами наибольший практический интерес представляют дна вариант этого режима:
автоматическая коррекция заданных значений регулируемых величин (рис. 7.2, стрелка а);
автоматическая коррекция динамических параметров настройки АСР нижнего уровня (рис. 7.2, стрелка б).
Рис. 7.2. Функциональная схема супервизорного управления
В первом случае УВК используют в решении задач статической оптимизации ТОУ, во втором — привлекают к решению задач динамической оптимизации.
Автоматическая коррекция заданных значений регулируемых величин. Значения многих технологических параметров существенно зависят от нагрузки агрегата и нуждаются в коррекции при переходе с одного уровня нагрузки на другой.
Автоматическую коррекцию заданных значений у0з (критериальное управление) осуществляют в самоорганизующейся системе (СОС), реализуемой с помощью УВК, штатной и переносной аппаратуры
Алгоритм формирования u1(у0з) для обобщенной СОС показан на рис. 7.3. В качестве исходных данных (блок 1) использованы ограничения, накладываемые на изменения значения ур3 ступенчатого сигнала «г, и на возмущения по нагрузке хв, вид и параметры модели-эталона.
Рис. 7.3. Алгоритм формирования сигнала задания.
Автоматическая коррекция параметров настройки АСР.
Автоматическую коррекцию настройки АСР осуществима в самонастраивающейся системе (СНС), реализуемой с помощью УВК, «штатной» и переносной аппаратурой.
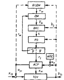
Обобщенная функциональная схема CНC с подстраиваемой моделью изображена на рис.7.4. Она содержит:
-
блок определения параметров динамической модели БОДМ;
-
динамическую модель с подстраиваемыми параметрами ДМ;
-
вычислитель критерия соответствия ВКС модели объекту;
-
вычислительное устройство (решающий элемент РЭ);
-
управляющее устройство УУ и источник пробных сигналов различной формы ИПС.
Рис. 7.4. Обобщенная функциональная схема СНС с подстраиваемой моделью
Процесс самонастройки (адаптации) осуществляют в два этапа: на первом - решают задачу идентификации ТОУ, на втором — проводят расчет и коррекцию динамических параметров настройки АГР.
Приведенные структура СНС и алгоритм адаптации считают обобщенными. Функциональные структуры СНС и алгоритмы адаптации промышленных СНС во многом зависят от выбранных способов идентификации ТОУ, динамической оптимизации АСР и технологических и эксплуатационных особенностей объекта управления.
Обобщенная функциональная схема реализации СНС с использованием УВК и серийной аппаратуры с унифицированным токовым сигналом связи изображена на рис. 7.5.
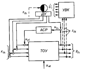
Централизованное цифровое управление на основе ПТК. Система ЦЦУ изображена на рис. 7.6. Сигнал от первичного измерительного преобразователя через АЦП поступает в арифметическое устройство ЭВМ, сравнивается с заданным значением и преобразуется в -
Рис. 7.5. Обобщенная функциональная схема реализации СНС
1 — указатель токового выхода, 2 — преобразователь "вход—выход", 3 — измерительный блок, 4 — нормирующий преобразователь, 5 — усилитель мощности, АРП — автоматический регулирующий прибор, Rн — нагрузочный резистор.
Рис. 7.6. Функциональная схема централизованного цифрового управления
соответствии с требуемым алгоритмом управления для данного контура. Результаты вычислений преобразуются устройством вывода УВК в электрический сигнал, воздействующий на исполнительный механизм, установленный на объекте.
В отличие от рассмотренных принципов управления в режиме ЦУ отсутствуют АСР нижнего уровня. Сигналы, используемые для управления исполнительными механизмами, поступают непосредственно от УВК. Это дает определенные преимущества. Основные из них:
-
отсутствие лишнего звена в системе передачи сигналов управления к объекту;
-
возможность формирования разнообразных по виду (П, И, ПИ и более сложных) законов регулирования в зависимости от сложности задачи и типа технологического объекта управления (наличие или отсутствие существенного запаздывания или самовыравнивания);
-
возможность сочетания в одном и том же контуре различных принципов регулирования (по отклонению и возмущению) и принципов управления (дуального и критериального), а также изменения алгоритмов управления простой заменой программы вычисления по заданному контуру.
Гибкость системы ЦУ практически неограниченна. Тем не менее, применение "чистых" систем централизованного цифрового управления в теплоэнергетике нельзя считать перспективным из-за недостаточной надежности отдельных элементов и живучести системы в целом.
Распределенное управление. Централизация управления технологическим процессом с помощью ПТК, высшей формой которого служит цифровое управление, ведет к противоречивым результатам.
С одной стороны, система управления становится высокоавтоматизированной и неограниченно гибкой, с другой — отказ одного из звеньев высшего уровня ведет к потере управления в пределах всей иерархической системы.
Опыт показывает, что АСУ ТП, рассчитанные на централизованное управление всем предприятием, ведут к росту издержек на внедрение за счет увеличения капитальных затрат на приобретение дублированных или троированных ЭВМ с повышенной вычислительной мощностью и прокладку дополнительного количества электрического контрольного кабеля в системе связи ПТК с объектами. В то же время появление новейших средств вычислительной техники — микропроцессоров, построенных на больших интегральных схемах (БИС), позволяет, сохранив преимущества цифровых методов обработки информации, разделить общую вычислительную мощность АСУ между несколькими территориально-разобщенными подсистемами, уменьшив затраты на кабель.
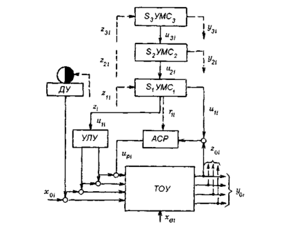
Управление с использованием микроЭВМ (универсальных модульных станций — УМС) получившее условное название распределенного, становится особенно удобным в системах, построенных по функционально-групповому принципу. Система, изображенная на рис. 7.7, в целом сохраняет многоуровневую структуру и с точки зрения иерархии целей и принятия решений служит примером четырехслойной системы. Нижний слой образуют автоматические системы стабилизации технологических параметров котла и турбины, реализующие простые (типовые) законы регулирования. Второй слой составляют УМС, целью управления которых служит статическая оптимизация ТОУ с помощью АСР и УЛУ нижнего уровня в пределах ФГ и ФПГ (изменение заданных значений регулируемых параметров, перевод на другой режим работы переключением регулирующих и запорных органов и др.).
При этом УМС становится высшим уровнем по отношению к ФГ или ФПГ и используется в сочетании с главной или вспомогательной ролью оперативного персонала, имеющего возможность влиять на протекание технологического процесса посредством подсистем дистанционного управления (СДУ). Третий слой, состоящий из общепоточной УМС, имеет целью оптимизацию общих параметров и режимов.
Рис. 7.7. Функциональная схема распределенного управления
Верхний слой системы распределенного управления образует общую УМС. Она осуществляет оптимизацию технологических процессов в масштабе всего производства перераспределением нагрузок между отдельными цепочками и выполняет другие общезаводские функции (критериальное управление по отношению к блочным системам управления и АСР нижнего уровня, определение статических или динамических характеристик отдельных цехов и др.).
Несомненно, что управление оборудованием предприятия должно быть высокоавтоматизированным, но в то же время децентрализованным или централизованным в разумных пределах. Широкие возможности для такого подхода содержатся в организации управления с использованием микропроцессорной техники.
Характеристики
Тип файла документ
Документы такого типа открываются такими программами, как Microsoft Office Word на компьютерах Windows, Apple Pages на компьютерах Mac, Open Office - бесплатная альтернатива на различных платформах, в том числе Linux. Наиболее простым и современным решением будут Google документы, так как открываются онлайн без скачивания прямо в браузере на любой платформе. Существуют российские качественные аналоги, например от Яндекса.
Будьте внимательны на мобильных устройствах, так как там используются упрощённый функционал даже в официальном приложении от Microsoft, поэтому для просмотра скачивайте PDF-версию. А если нужно редактировать файл, то используйте оригинальный файл.
Файлы такого типа обычно разбиты на страницы, а текст может быть форматированным (жирный, курсив, выбор шрифта, таблицы и т.п.), а также в него можно добавлять изображения. Формат идеально подходит для рефератов, докладов и РПЗ курсовых проектов, которые необходимо распечатать. Кстати перед печатью также сохраняйте файл в PDF, так как принтер может начудить со шрифтами.
















