АСУ11Т (991597)
Текст из файла
Лекция 11. Системы противоаварийной защиты реакционной аппаратуры
11.1. Система противоаварийной защиты реакционной аппаратуры
Причинами, нарушающими нормальную работу реакционной аппаратуры, являются:
-
изменения соотношений подаваемых реагентов или теплоносителей;
-
возможность остановки перемешивающих устройств (мешалок, барботеров, насосов и др.);
-
попадания в аппарат веществ или продуктов, не предусмотренных регламентом, в результате ошибок обслуживающего персонала;
-
нарушение герметизации системы аппарата и трубопроводов;
-
неисправность приборов управления и систем противоаварийной защиты.
Для ликвидации аварийной ситуации применяют различные системы автоматического действия, однако наибольшее применение имеют локальные устройства для сброса избыточного давления и подачи в аппарат дефлегматора с целью затормаживания процесса и предупреждения взрыва.
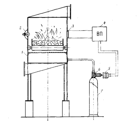
На рис. 11.1. представлена такая система противоаварийной защиты реакционного аппарата, работающего со взрывопожароопасными веществами.
Объектом защиты могут быть один или несколько реакторов, для которых подбирают датчики согласно параметрам технологического режима и аварийной ситуации. В такой схеме импульс от датчиков передается к вторичному прибору (ВП), который усиливает и выдает команду на пульт управления, имеющий связь с помощью пневматических, гидравлических или электрических систем, соединенных с исполнительными механизмами РУ и УБ. Благодаря этой связи при аварийной ситуации производится автоматическое закрытие блокирующих клапанов и открытие баллонов с инертным газом или флегматизирующим веществом для подачи в реактор.
Блокирующие клапаны устанавливают на линиях подачи греющего пара, газа и других необходимых компонентов, которые при аварийной ситуации не должны поступать в реакционную аппаратуру.
В некоторых системах защиты включены локальные независимые противоаварийные устройства в виде взрывных мембран и предохранительных клапанов.
Главным элементом системы являются датчики давления, температуры и концентрации, которые установлены на аппаратах и определяют параметры аварийной ситуации. Поданный от них импульс через вторичные приборы на пульт управления влечет за собой включение устройств для локализации взрыва.
Система предупреждения взрывов вступает в действие автоматически при возникновении недопустимых температур,
Рис. 11.1. Система противоаварийной защиты реакционного аппарата:
1 — реакционный аппарат, 2 — баллоны с дефлегмирующим веществом, 3 — разрядное устройство, 4 — вторичный прибор для усиления импульса, 5 — пульт управления, 6 — устройство для автоматического включения блокирующих клапанов, 7 — пневматический клапан подачи газа, 8 — взрывная мембрана
11.2. Система противоаварийной защиты выпарной станции
Процесс выпаривания растворов производится в выпарных аппаратах, которые могут работать под избыточным давлением или вакуумом.
Выпарные аппараты снабжают, как правило, трубчатыми нагревательными камерами или выносными кожухотрубчатыми кипятильниками для повышения циркуляции раствора и достижения высокой производительности.
Греющий пар поступает в межтрубное пространство и омывает трубки снаружи, а выпариваемый раствор циркулирует по трубам. Такая схема нагрева раствора позволяет избежать отложения солей на поверхностях нагрева, а в случае образования накипи можно проводить периодическую чистку. В целях достижения высокой экономии греющего пара выпарные аппараты группируют так, чтобы вторичный пар первого аппарата служил теплоносителем для нагрева раствора
во втором выпарном аппарате, а вторичный пар второго аппарата — третьему аппарату и т. д. Общее количество корпусов выпарной станций может составлять до 7—8 выпарных аппаратов.
На рис. 11.2 изображена схема трехкорпусной выпарной станции с прямоточным движением раствора. Схема включает приборы автоматического управления и противоаварийной защиты. Панель греющего пара имеет регуляторы давления, обеспечивающие постоянство режима испарения в первом аппарате. Панель имеет предохранительный клапан и необходимую запорную арматуру.
Н
а выпарных аппаратах, работающих под избыточным давлением, установлены предохранительные взрывные мембраны на случай возникновения давления пара с параметрами, превышающими рабочий режим.
Рис. 11.2 Типовая схема противоаварийной защиты выпарной станции: 1 — подогреватель раствора, 2,3,4 — выпарные аппараты, 5 — барометрический конденсатор, 5—сборник продукта, 7 — приборы, установленные на аппаратах, 8 — приборы, установленные на щите управления
Одним из важных элементов противоаварийной защиты является наличие уровнемеров, соединенных с автоматическими регуляторами уровня раствора в аппарате.
В практике были случаи, когда в результате бесконтрольности за уровнем раствора в аппарате происходило «обнажение» нагревательных труб в греющих камерах и разрушение вальцовки труб в решетках. Такая авария вызывает длительный простой производства вследствие сложного ремонта и необходимости устранения дефектов.
11.3. Системы противоаварийной защиты сушильных установок
При сушке органических веществ в сушилках могут образоваться взрывоопасные концентрации паров и пыли. Особенно опасна пыль, осевшая на стенках сушилки, газопроводов и оборудования. Это объясняется тем, что пылевидные вещества, обладающие большой поверхностью, активно взаимодействуют с кислородом воздуха. В результате этого возникают процессы окисления с выделением теплоты и самовозгорание с появлением пламени.
Способность пыли к взрыву тем больше, чем меньше значение нижнего предела воспламенения. При взрывах пылевых смесей с воздухом сгорают, как правило, газообразные продукты, а углеродистые остатки в виде почерневшей пыли не успевают сгорать. Если пыль способна выделять газообразные продукты в количествах, превышающих 10% ее массы, то такая пылевоздушная смесь весьма опасна.
Во избежание воспламенения и взрыва в камере сушилки необходимо производить сушку при температуре на 50— 100°С ниже температуры самовоспламенения материала. Если по технологическим причинам снижение температуры не допускается, то процесс сушки ведут в присутствии инертного газа, азота, углекислого газа, водяного пара.
В некоторых случаях достигаются безопасные условия сушки материала с помощью дымовых газов при содержании кислорода менее 5%.
В сушильных установках, где возможно загорание материала при нарушениях температурного режима, необходимо предусматривать систему противоаварийного назначения.
На рис. 11.3 показана схема защиты ленточной сушилки 1 от пожара и взрыва. Она состоит из светильника 2, фотоэлектрического прибора 3, усилителя—преобразователя 4,электромагнитного привода 5 и баллона с инертным газом 7. При появлении дыма от загорания материала световой луч передает импульс на фоторезистор, который связан с вторичным прибором 4, посылающим электрический ток на электромагнитный привод 5. Если стальная планка будет притянута к полюсам магнита, то клапан запорного органа б открывается, и инертный газ (азот, углекислота или другие газы) из баллона получает свободный доступ в камеру сушилки.
Рис. 11.3. Система защиты сушилки от пожара и взрыва: .1— ленточная сушилка, 2 — источник света, 3 — фоторезистер, 4 — усилитель-преобразователь, 5 — задорный вентиль, 6 — электромагнитный привод, 7 — баллон с углекислотой
В случае остановки электродвигателя вентилятора в камере может образоваться взрывная концентрация паровоздушной смеси.
Для избежания взрыва необходимо применять систему защиты, контролирующую работу вентилятора. В случае его остановки должна срабатывать сигнализация для предупреждения обслуживающего персонала.
11.4. Система защиты перегонной установки
Перегонкой называют процесс разделения жидких смесей на составные компоненты путем выпаривания одного из них, который обладает большей легколетучестью при температуре кипения смеси. При этом, конденсируя пары легколетучего компонента, получают дистиллят, а в перегонном кубе — остаток.
Перегонные установки работают периодически под избыточным давлением или вакуумом с целью понижения температуры кипения смеси.
Для создания безопасных условий работы перегонных (дистилляционных) установок процесс перегонки ведут под вакуумом. В этом случае испарение растворов протекает при низких температурах, что устраняет опасность термического разложения кубового остатка при перегревах. Кроме того, при вакууме сокращается область взрывных концентраций многих горючих паров, а при так называемом критическом давлении воспламенение продуктов становится вообще невозможным.
Вакуум исключает проникновение токсичных и взрывоопасных паров из аппарата в атмосферу производственных помещений, что обеспечивает безопасную работу установки.
В некоторых случаях процесс дистилляции горючих веществ ведут с применением водяного пара, что также снижает опасность эксплуатации установок.
Несмотря на наличие большого числа приемов безопасного ведения процессов дистилляции, во многих производствах они остаются неэффективными вследствие снижения качества продукции.
Рис. 11.4. Система противоаварийной защиты дистилляционной установки:
1 — баллоны с азотом, 2 — предохранительная мембрана, 3 — азотопровод, 4, 9 — электромагнитные блокировочные клапаны, 5 — запорный вентиль, 6 — гидрозатвор, 7 — усилитель-преобразователь, 8~ термометр, 10 — манометр, 11 — дистиллятор, 12 — конденсатор, 13 — сборник
Для обеспечения безопасной работы дистилляционных установок в каждом отдельном случае разрабатывают систему противоаварийной защиты. На рис. 11.4 представлена схема противоаварийной защиты дистилляционной установки для разгонки синтетических смол. В этой схеме для подавления взрыва применяются автоматические устройства, способные подать флегматизирующие вещества в зону горения за минимально короткое время. Для защиты дистилляционных установок, где перерабатываются легковоспламеняющиеся вещества, широко применяют азот, водяной пар, углекислый газ. Баллоны с жидкой углекислотой 1 присоединяют с помощью трубок к коллектору 3, имеющему на одном конце предохранительную мембрану 2, а на другом запорный клапан с электромагнитным приводом 4. В качестве индикатора используют контактный термометр 8, который посылает импульс на вторичный прибор 7 с целью усиления и выдачи команд на закрытие вентиля 9, подающего греющий пар в рубашку аппарата 11 и открытие клапана 4 для подачи в аппарат углекислоты.
Для продувки аппарата перед загрузкой « создания защитной «подушки» над кубовым остатком в процессе разгрузки аппарата применяют гидрозатвор 6, через который подают углекислоту из баллонов с помощью редуктора 5.
Согласно ГОСТ 944—57 применяют баллоны емкостью 40 л, в которых находится жидкая углекислота в количестве 75 кг. При испарении жидкой углекислоты из одного баллона получают около 20 м3 газа, пригодного для систем противоаварийной защиты.
Характеристики
Тип файла документ
Документы такого типа открываются такими программами, как Microsoft Office Word на компьютерах Windows, Apple Pages на компьютерах Mac, Open Office - бесплатная альтернатива на различных платформах, в том числе Linux. Наиболее простым и современным решением будут Google документы, так как открываются онлайн без скачивания прямо в браузере на любой платформе. Существуют российские качественные аналоги, например от Яндекса.
Будьте внимательны на мобильных устройствах, так как там используются упрощённый функционал даже в официальном приложении от Microsoft, поэтому для просмотра скачивайте PDF-версию. А если нужно редактировать файл, то используйте оригинальный файл.
Файлы такого типа обычно разбиты на страницы, а текст может быть форматированным (жирный, курсив, выбор шрифта, таблицы и т.п.), а также в него можно добавлять изображения. Формат идеально подходит для рефератов, докладов и РПЗ курсовых проектов, которые необходимо распечатать. Кстати перед печатью также сохраняйте файл в PDF, так как принтер может начудить со шрифтами.
















