АСУ10Т (991596)
Текст из файла
Лекция 10. Системы противоаварийной защиты теплоиспользующих агрегатов
10.1. Общие принципы построения систем противоаварийной защиты
Системы противоаварийной защиты представляют собой совокупность элементов и приборов, с помощью которых выявляются аварийные ситуации технологических процессов и принимаются меры по предупреждению и локализации аварийного состояния.
В обычных производствах развитие пожара исчисляется минутами, но во взрыво- и пожароопасных производствах развитие очага пожара и взрыва измеряется долями секунды. Наиболее опасными являются детонационные взрывы, которые обладают большой разрушающей силой.
Несмотря на кратковременность протекания процессов развития взрыва, в промышленности имеются различные способы предупреждения и локализации взрывов.
К таким способам относятся:
-
сброс взрывоопасных веществ из закрытых сосудов и аппаратов в аварийные емкости в целях вывода этих веществ из рабочей зоны производства;
-
локализация взрыва путем подачи флегматизирующего вещества (инертных газов) в аппараты, где в результате нарушения технологии наступила аварийная ситуация;
-
предотвращение самовоспламенения взрыво- и пожароопасных веществ путем снижения температуры и давления;
-
прекращение подачи взрыво- и пожароопасных жидкостей и газов в аппараты с помощью автоматической блокировки коммуникаций;
-
предупреждение взрыва в производственных помещениях путем включения аварийной вентиляции;
-
локализация пламени или очага пожара путем приме. нения средств автоматического пожаротушения;
-
исключение импульса, вызывающего вспышку и. загорание в зоне взрыво- и пожароопасной смеси.
Все эти способы предупреждения и локализации взрывов и пожаров основываются на работе блок-схемы; автоматических приборов и механизмов, входящих в состав систем противоаварийной защиты. Системы противоаварийной защиты должны выполняться из стандартных и проверенных в работе блок-схем противоаварийного назначения. При любых вариантах конструкции систем должны соответствовать требованиям по удобству монтажа, настройки и обслуживания.
Системы противоаварийной защиты должны безотказно работать, не подвергаться влиянию внешних факторов (температуры, влажности, сотрясений, электрических помех и т. д.) в условиях длительной эксплуатации.
Неразрывная связь систем противоаварийной защиты с автоматическими системами управления технологическими процессами должна обеспечивать безопасную эксплуатацию всего оборудования. Несмотря на большое разнообразие систем противоаварийной защиты, они имеют общую структуру построения, которая включает:
-
индикаторы аварийных ситуаций;
-
усилительно-преобразующие элементы;
-
исполнительные механизмы и устройства.
Системы противоаварийной защиты компонуются по схеме, представленной на рис. 10.1.
Элементы, входящие в систему противоаварийной защиты, характеризуются своими назначением и параметрами действия. В число индикаторов аварийного назначения могут входить датчики температуры, давления, расхода, уровня, концентрации и других параметров контролируемой среды.
Рис. 10.1. Схема комплектации систем противоаварийной защиты теплоиспользующих установок
Импульсы, полученные от датчиков, подаются во вторичные приборы (преобразователи-усилители) для выдачи команд в систему исполнительных механизмов, связанных с устройствами противоаварийного назначения. В качестве усилительно-преобразующих элементов могут быть реле гидравлического, пневматического или электрического действия.
В качестве исполнительных механизмов могут быть установлены клапаны, задвижки, предохранительная арматура с приводными механизмами, соответствующими усилительно-преобразующими элементами. Такими приводными механизмами могут быть золотниковые переключатели с гидроприводами, пневматические мембраны, сильфоны или электромагнитные якоря.
Каждая система должна иметь связь с устройствами противопожарного назначения.
Типовые схемы, противоаварийного назначения собираются из стандартных приборов и механизмов, выпускаемых приборостроительной промышленностью.
Контрольно-измерительные приборы должны размещаться в местах, удобных для наблюдения в процессе пуска, остановки и эксплуатации машин и аппаратов.
Приборы аварийного назначения должны размещаться в зоне наибольшего обзора. Места, где расположены приборы или устройства для управления, должны быть хорошо освещены.
На рабочих местах, где находится обслуживающий персонал, нельзя размещать разъемные соединения трубопроводов, люки, арматуру и другие устройства, которые могут служить источником выбросов паров или газов в результате прорыва прокладок, разрушения смотрового стекла или разрыва деталей. Конструктивные детали аппаратов пусковых устройств должны обеспечивать безопасность и легкость управления.
В технологической схеме теплоиспользующих установок важное место занимает трубопроводная арматура, которая, должна размещаться в доступных местах, и управление ею должно осуществляться без особых усилий и затруднений.
Все пусковые устройства должны располагаться таким образом, чтобы аппаратчик или оператор мог их выключить другой рукой в случае выявления неисправностей или несчастного случая.
В целях облегчения контроля и управления технологическими процессами все основные приборы выносятся на щит управления, где нарисована мнемоническая схема в виде аппаратов с сетью коммуникаций. На мнемонической схеме отмечаются световыми лампочками опасные места, и в случае нарушения режима загорается соответствующая лампочка для показа места нарушений или неисправностей, препятствующих нормальной работе оборудования.
Пульт управления должен иметь устройство информации для оповещения обслуживающего персонала о выявленных неполадках, а в случае аварийной ситуации должен включать световое табло и сирену.
Обслуживающий персонал должен быть хорошо подготовленным к самостоятельной работе и принимать меры, предусмотренные инструкцией по предупреждению и ликвидации аварийной ситуации на производстве.
10.2. Системы противоаварийной защиты сосудов, работающих под давлением
Для защиты сосудов, работающих под давлением, применяют электрические и пневматические блок-схемы противоаварийного назначения. Одним из важных преимуществ электрических блок-схем по сравнению с пневматическими схемами является возможность централизованного управления и объединения в единую систему, в которой можно применять дублирующие приборы в особо опасных процессах. Такое инженерное решение повышает достоверность замеряемых параметров при аварийной ситуации.
В качестве недостатка электрической блок-схемы является ограниченное ее применение во взрывопожароопасных производствах с точки зрения искрообразования.
В электрической блок-схеме широко применяют приборы с контактными датчиками; пригодными для измерения предельных значений давления, температуры и расхода теплоносителей.
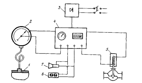
На рис. 10.2 представлена электрическая блок-схема для защиты сосудов, работающих под давлением. В качестве индикатора аварийной ситуации могут служить термометры и манометры со стрелочными указателями и подвижными уставками для включения в действие всех элементов блок-схемы. При воздействии давления контролируемой среды манометр срабатывает и вращает стрелку, которая при опасных значениях параметров замыкает контакты и включает в цепь усилительно-преобразующий прибор 4. Последний преобразует электродвижущую силу датчика или, используя питающее устройство 3 от электросети, посылает импульс на исполнительные механизмы арматуры и сигнализации. Обычно электрический ток от вторичного прибора 4 поступает к электромагнитному приводу 5, который в зависимости от назначения блок-схемы открывает или закрывает клапан на трубопроводе, присоединенном к защищаемому сосуду. Вторичный прибор, предназначенный для усиления и преобразования импульса в электрический ток, состоит из трансформатора, индуктивных преобразователей дроссельного типа и переключателей.
В качестве исполнительных механизмов применяют электромагнитные приводы, расположенные на корпусах вентилей и задвижек.
Рис. 10.2. Электрическая блок-схема с контактным датчиком: 1 — сосуд, 2 — манометр ЭКМ, 3 — питающее, устройство, 4 — усилитель-преобразователь, 5 — электромагнитный клапан, 6 — световое табло, 7 — сирена
В целях обеспечения безотходного и быстрого срабатывания системы противоаварийной защиты применяют блок-схемы, состоящие из индикаторов, преобразователей и исполнительных механизмов. В практике применяют дроссельные, золотниковые и мембранные устройства для создания блок-схемы, предназначенные для прекращения подачи реагентов, сброса избыточного давления или подачи инертного газа для локализации очага взрыва.
Основным элементом в блок-схеме является датчик с высокой чувствительностью к параметрам среды. В качестве датчиков применяют индикаторы температуры, давления; уровня, концентрации среды и расхода теплоносителя.
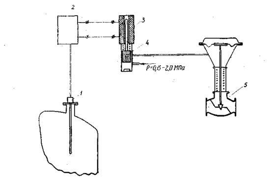
На рис. 8 представлена блок-схема с золотниковым устройством для отключения подачи теплоносителя при достижении предельной температуры среды в аппарате. Принцип работы блок-схемы -состоит в. том, что сжатый воздух, поступающий в золотниковое устройство, может воздействовать на пневматический привод и производить открытие или закрытие вентиля. В качестве датчика температуры применяют контактный термометр или сильфонное реле типа РД-МУК, посылающие импульс в усилительно-преобразовательный прибор 2 для включения электромагнитного .привода золотника, способного открыть или закрыть доступ сжатого воздуха в золотниковую коробку. При поднятом положении золотника сжатый воздух имеет свободный проход в трубопровод, соединяющий золотниковую коробку и полость мембранного привода вентиля. Если золотник опустится, то он перекроет доступ сжатого Воздуха в полость мембраны, и клапан под действием пружины будет закрыт.
Следует отметить, что блок-схема с золотниковым устройством применяется для двухпозиционного управления, построенного на принципе «открыто» м «закрыто» с применением Концевых переключателей для световой и звуковой сигнализации.
Важным элементом арматуры с пневматическим приводом является мембранное устройство, которое может обеспечить.
Перемещение штока клапана от 6 до 100 мм. Мембраны изготовляют из прорезиненной ткани путем формования и вулканизации на прессах. Для придания им подвижности мембраны изготовляют гофрированными. В зависимости от расположения пружины мембранного устройства различают арматуру прямого и обратного действия. Величина перемещения штока клапана, связанного с подвижной системой пружины, регулируется натяжной втулкой. Работа мембранного механизма рассчитана на давление воздуха 0,02—0,1 МПа.
-
Рис. 8. Блок-схема с золотниковым устройством: / — индикатор темггературы, 2 — вторичный прибор, 3 — электромагнитный привод, - 4 — золотниковое устройство, 5 — мембранный вентиль пневматического действия
Некоторые мембранно-пружинные устройства имеют позиционеры, с помощью которых устанавливается диапазон их работы. В практике применяют позиционеры типа ПР-10-100, которые обеспечивают возвратно-поступательный ход штока вентилей в пределах 10-100 мм.
В качестве пневматического привода могут применяться поршневые устройства, которые присоединяются к клапанам арматуры. Такие приводы применяют для автоблокировки газопроводов и нефтепроводов промышленных установок при подаче топлива к печам.
10.3. Противоаварийная защита теплообменной аппаратуры
Теплообменные аппараты широко применяют для нагрева или охлаждения жидких и газообразных веществ.
В любой технологической схеме теплообменники должны иметь обвязку трубопроводов и соответствующую запорную, регулирующую и предохранительную арматуру.
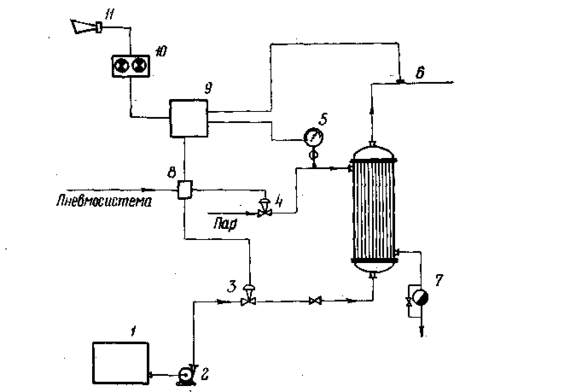
Рис. 10.3. Система противоаварийной защиты и управления теплообменного аппарата:
1—сборник раствора, 2 — насос, 3 - регулирующий клапан подачи раствора, 4 — регулирующий вентиль подачи пара, 5 — электроконтактный манометр, б — датчик температуры, 7 — конденсатоотводчик, 8 — пневматический регулятор, 9 — усилитель-преобразователь, 10 — световая сигнализация, 11— звуковая сигнализация
Характеристики
Тип файла документ
Документы такого типа открываются такими программами, как Microsoft Office Word на компьютерах Windows, Apple Pages на компьютерах Mac, Open Office - бесплатная альтернатива на различных платформах, в том числе Linux. Наиболее простым и современным решением будут Google документы, так как открываются онлайн без скачивания прямо в браузере на любой платформе. Существуют российские качественные аналоги, например от Яндекса.
Будьте внимательны на мобильных устройствах, так как там используются упрощённый функционал даже в официальном приложении от Microsoft, поэтому для просмотра скачивайте PDF-версию. А если нужно редактировать файл, то используйте оригинальный файл.
Файлы такого типа обычно разбиты на страницы, а текст может быть форматированным (жирный, курсив, выбор шрифта, таблицы и т.п.), а также в него можно добавлять изображения. Формат идеально подходит для рефератов, докладов и РПЗ курсовых проектов, которые необходимо распечатать. Кстати перед печатью также сохраняйте файл в PDF, так как принтер может начудить со шрифтами.
















