Тема 15 Занятие 3 (555863)
Текст из файла
МОСКОВСКИЙ ГОСУДАРСТВЕННЫЙ АВИАЦИОННЫЙ ИНСТИТУТ (ТЕХНИЧЕСКИЙ УНИВЕРСИТЕТ)
Факультет военного обучения
Экз.№ УТВЕРЖДАЮ:
Начальник кафедры №2
Полковник В, Фролов
« » 2000г.
МАТЕРИАЛЫ К ПРАКТИЧЕСКОМУ ЗАНЯТИЮ Курс Д-21 «Авиационные двигатели»
по теме №15
«Системы топливопитания и автоматического управления подачей
топлива в двигатели»
Занятие 3 для студентов 4 курсов, факультетов №1, 2, «Стрела», «Ухтомское»
Учебное время 2 часа
Составил: п/п-к Пономарёв Э.Б. Редактировал: пол-к Фролов В.А.
Тираж 5 экз.
Рассмотрено на заседании кафедры
Протокол № от 2000г.
Москва 2000г.
ТЕМА № 15.
СИСТЕМЫ ТОПЛИВОПИТАНИЯ И
АВТОМАТИЧЕСКОГО УПРАВЛЕНИЯ ПОДАЧЕЙ
ТОПЛИВА В ДВИГАТЕЛЬ.
Занятие № 3.
Система топливопитания основной камеры сгорания
двигателя РД-33-2С.
Время - 2 часа.
Цель занятия; Изучить общую характеристику топливной системы, назначение, устройство и работу системы топливопитания основной камеры сгорания.
Вопросы занятия:
-
Общая характеристика топливной системы.
-
ТС низкого давления.
-
ТС основного контура.
1. Общая характеристика топливной системы.
Топливная система двигателя обеспечивает подвод топлива в основную и ' форсажную камеры сгорания, а также использование его для охлаждения масла в масляной системе двигателя и как рабочей жидкости в гидроприводах управляющих органов двигателя. Управление расходом топлива в камерах сгорания и гидроприводах осуществляет система управления двигателем, работающая совместно с топливной системой.
В качестве топлива для двигателя применяют авиационные керосины РТ (основное), ТС-1 (резервное) и Т-1 (ситуационное).
В состав топливной системы входят: ( Рис 15.1 )
-
подкачивающий центробежный насос ДНЦ-78;
-
плунжерный насос-регулятор НР-59А основного контура;
-
центробежный насос ФН-59А форсажного контура;
-
фильтр низкого давления;
-
клапан сброса и останова КСО-59;
-
распределитель топлива (основного) РТ-59И;
-
распределитель топлива (форсажного) РТФ-59Б;
-
топливомасляные радиаторы (в основном и форсажном контурах)
4700Т; -
топливные коллекторы и форсунки основной и форсажной камер
сгорания;
- агрегаты системы управления двигателем и системы контроля.
В состав топливной системы входит также дренажная система.
Из топливных баков самолёта топливо поступает через входную проставку (см. Рис 15.1) на вход в подкачивающий насос (ДЦН-78), который подаёт его к фильтру тонкой очистки. Отфильтрованное топливо поступает одновременно к насосу-регулятору (НР-59А), форсажному насосу (ФН-59А) и к насосу высокого давления (НП-96М) системы управления реактивным соплом.
Из НР-59А дозированное топливо поступает через КСО-59, топливно-масляный радиатор (ТМР) и РТ-59И в коллекторы основной камеры сгорания.
Из ФН-59 топливо подаётся в регулятор сопла и форсажа (РСФ-59А), а затем через ТМР и РТФ-59Б в коллекторы форсажной камеры.
Сливные полости агрегатов основного и форсажного контуров сообщаются со входом в подкачивающий насос.
Дренажные полости агрегатов и топливные коллекторы сообщаются с дренажным бачком, (см. Рис. 15.11)
Топливную систему двигателя можно условно разделить на отдельные подсистемы: систему низкого давления; систему основного контура; систему форсажного контура; системы управления агрегатами и реактивным соплом, в которых топливо используется как рабочее тело.
2. ТС низкого давления.
Система низкого давления предназначена для повышения давления топлива, поступающего из топливных баков самолёта, фильтрации его и подачи на вход в агрегаты топливной системы двигателя.
Система низкого давления включает в себя (Рис 15.1): входную топливную проставку, подкачивающий насос (ДЦН), фильтр, кран слива топлива, трубопроводы.
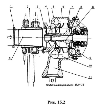
Входная топливная проставка. Проставка 1 (Рис. 15.2) предназначена для перемешивания топлива из сливных полостей агрегатов с топливом, поступающим из баков. Проставка изготовлена из титанового сплава и представляет из себя конической формы трубу с прикреплёнными фланцами и кожухом 2. К кожуху приварены штуцера, соединяющиеся со сливными магистралями из агрегатов топливной системы. Отверстия Б служат для равномерного смешения потоков топлива.
Подкачивающий насос ДЦН-78 (Рис. 15.2) предназначен для создания необходимого давления на входе в основной и форсажный насосы высокого давления, с целью обеспечения необходимого их кавитационного запаса при заданных расходах топлива.
Насос состоит из корпуса 6 и ротора. Корпус 6 насоса задним фланцем крепится к коробке двигательных агрегатов (КДА). К переднему фланцу корпуса присоединена входная проставка. В корпусе выполнен спиральный диффузор - улитка 10 и прямолинейный конический диффузор - патрубок 11 отвода топлива от насоса.
Ротор насоса состоит из рабочего колеса (крыльчатки) 7 закрытого типа и подпорного шнека 4. Крыльчатка и шнек установлены на выходном валу КДА. Крутящий момент с вала на крыльчатку и шнек передаётся с помощью шпонок 8 и 5. Применяемый здесь осевой шнековый преднасос 4 повышает кавитационный запас центробежного насоса.
Для разгрузки ротора насоса от осевых сил осуществляется перезапуск топлива из камеры А за крыльчаткой через отверстие 9 в диске колеса.
Давление топлива на входе в насос 0,05...0,33 МПа. На выходе из насоса давление топлива 0,27...1,38 МПа. Производительность насоса 3500...50000 л/ч.
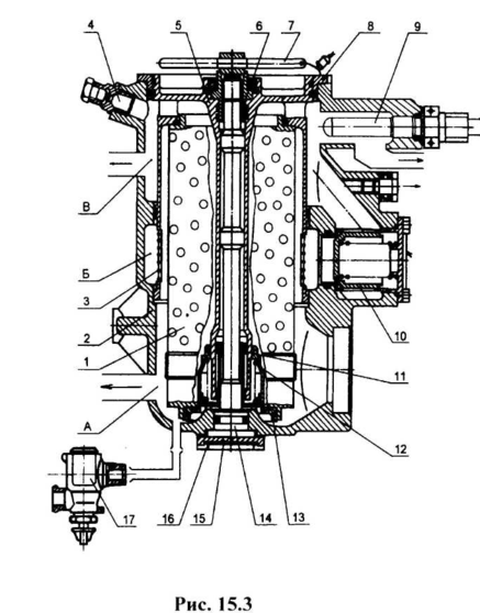
Топливный фильтр низкого давления предназначен для очистки топлива от механических примесей размером 16...25 мкм.
Фильтр состоит (Рис. 15.3) из корпуса 2 со штоком 14, фильтрующего пакета 1, перепускного клапана 10 и клапана стравливания воздуха 4.
Шток 14 закреплён в корпусе с помощью вкладыша 15 и разрезного кольца
16. В верхней части в
корпус установлена
втулка 8,
предохраняющая корпус
от повреждений при
монтаже и демонтаже
фильтрующего пакета.
На корпусе расположены
фланцы подвода и отвода
топлива, замеров
параметров. В корпусе установлен приёмник замера температуры 9 топлива на выходе из фильтра.
Фильтрующий пакет
состоит из сетчатого
гофрированного
цилиндра, помещённого
в стальной
перфорированный кожух
1 и закреплённого в
каркасе 5 с помощью
гильзы 1 1,
установленной на штоке
14, пружины 12 и нижней крышки 13. Каркас выполнен заодно с верхней крышкой, в которой гайкой крепится втулка 6 с воротком 7 для монтажа и демонтажа фильтрующего пакета. На каркасе расположен проволочный щелевой фильтр 3 грубой очистки.
Герметизация всех наружных и внутренних соединений осуществляется резиновыми уплотнительными кольцами.
Топливо поступает в полость А корпуса и внутреннюю полость Б каркаса, проходит через фильтрующий пакет и поступает в полость В корпуса, откуда через выходные фланцы поступает к потребителям.
В случае засорения фильтрующего элемента и достижения перепада давления на перепускном клапане 0,2+0,03 МПа, клапан открывается и в
систему поступает топливо, отфильтрованное только проволочным щелевым фильтром 3.
Клапан стравливания воздуха 4 используется только при заправке системы топливом. При этом вместо заглушки на клапан устанавливается специальное приспособление, которым отжимается шарик от седла и открывается вход для воздуха из полости фильтра. Для слива топлива из фильтра и трубопроводов используется сливной кран 17.
3. ТС основного контура.
Система основного контура предназначена для подачи топлива в основную КС, управления механизацией компрессора и других агрегатов и включает в себя:
-
агрегат НР-59А;
-
клапан сброса и останова КСО-59;
-
топливомасляный радиатор (ТМР);
-
распределитель топлива РТ-59И;
-
топливные коллекторы с форсунками;
-
агрегаты системы автоматического управления.
Конструкция ТМР была описана в разделе 2 «Масляная система».
КСО-59 и агрегаты системы управления будут рассмотрены в разделе 5
«Система управления двигателем».
Агрегат НР-59А обеспечивает подачу и дозирование топлива в основном контуре, и питание топливом автоматики форсажного контура на бесфорсажных режимах.
Здесь будет рассмотрен качающий узел агрегата НР-59А.
Качающий узел агрегата НР-59А представляет собой плунжерный насос переменной производительности и состоит из ротора 3 (Рис. 15.4), наклонной шайбы 9 и сервопоршня 17. Все элементы насоса собраны в едином корпусе НР-59А.
Ротор насоса состоит из конусообразного барабана 8 с хвостовиком и установлен на двух подшипниках скольжения 7 и 13. Ротор прижимается к золотниковой шайбе 15 пружиной 5, а при работе двигателя - и давлением топлива. В барабане равномерно по окружности выполнено семь наклонных цилиндрических камер. Со стороны хвостовика в пазы запрессованы бронзовые втулки, в которых располагаются плунжеры 2. Привод ротора осуществляется с помощью рессоры 6.
Плунжеры 2 - стальные. На их головках установлены и завальцованы стальные подпятники 10 с бронзовой подкладкой, опирающейся на сферическую поверхность наклонной шайбы. Подпятники зафиксированы в сепараторе 4, который обеспечивает их прилегание к наклонной шайбе. Величина хода плунжеров зависит от угла установки наклонной шайбы. Для
изменения производительности насоса шайбу крепят в корпусе так, что её можно поворачивать относительно оси, перпендикулярной оси ротора. Перестановочное усилие создаётся с помощью сервопоршня 17, связанного с шайбой штоком и серьгой.
Золотниковая шайба 15 выполнена с двумя дугообразными окнами, через
которые подводится к
плунжерам и отводится от
них топливо. Поверхность
контакта шайбы с ротором
притирается для
обеспечения
герметичности каналов входа и выхода топлива.
Принцип действия
насоса заключается в том,
что при вращении ротора
благодаря наклонному
положению шайбы 9
плунжеры 2 совершают
относительно ротора
возвратно-поступательное движение. При перемещении плунжеров в течение первого полуоборота ротора топливо поступает в их внутренние полости через всасывающее окно 1 золотниковой шайбы 15, а в течение второго полуоборота выталкивается через нагнетающее окно 14 в магистраль высокого давления.
При постоянной частоте вращения ротора nр производительность насоса QH, определяется углом установки шайбы φШ (Рис. 15.5), имеющей регулируемый упор максимальной производительности 11. Упор минимальной производительности 18 ограничивает перемещение сервопоршня 17 вправо (по рисунку).
Наклонные сверления 3 в роторе выполняют при его вращении роль центробежного насоса, повышающего давление в полости корпуса, что увеличивает силу прижатия ротора к золотниковой шайбе 15. Это способствует уменьшению перетекания топлива через зазор между ротором и шайбой.
Эксплуатационные параметры насоса:
- максимальная производительность QH макс - не менее 7000 кг/ч;
- давление топлива на выходе из насоса при nр=4500 об/мин - не более 9,5 МПа.
Топливный коллектор с форсунками предназначен для подвода топлива в основную камеру сгорания и представляет собой кольцевой узел, состоящий из 24 корпусов форсунок, соединённых между собой двумя рядами трубок, закрытыми теплозащитными кожухами для уменьшения нагрева топлива в коллекторе.
Топливный коллектор крепиться на корпусе камеры сгорания с помощью пяти подвесок 20 ( см. разрез двигателя). Такое крепление обеспечивает свободу температурных перемещений коллектора при работе двигателя. Подвод топлива к коллекторам осуществляется по трубопроводам 76, проходящим в наружном контуре двигателя.
Форсунки. Расход топлива через топливные форсунки определяется зависимостью
Характеристики
Тип файла документ
Документы такого типа открываются такими программами, как Microsoft Office Word на компьютерах Windows, Apple Pages на компьютерах Mac, Open Office - бесплатная альтернатива на различных платформах, в том числе Linux. Наиболее простым и современным решением будут Google документы, так как открываются онлайн без скачивания прямо в браузере на любой платформе. Существуют российские качественные аналоги, например от Яндекса.
Будьте внимательны на мобильных устройствах, так как там используются упрощённый функционал даже в официальном приложении от Microsoft, поэтому для просмотра скачивайте PDF-версию. А если нужно редактировать файл, то используйте оригинальный файл.
Файлы такого типа обычно разбиты на страницы, а текст может быть форматированным (жирный, курсив, выбор шрифта, таблицы и т.п.), а также в него можно добавлять изображения. Формат идеально подходит для рефератов, докладов и РПЗ курсовых проектов, которые необходимо распечатать. Кстати перед печатью также сохраняйте файл в PDF, так как принтер может начудить со шрифтами.
















