виктория Кович (539951)
Текст из файла
Введение
Широкое применение станков с ЧПУ, ПР, автоматических линий в сочетании с с автоматизированными складами, оснащенные системами управления на базе относительно дешевых и эффективных средств вычислительной техники (микропроцессоров и микро-ЭВМ) позволяет создавать автоматизированное поточное производство, сочетающее производительность автоматической линии с достаточной гибкостью при смене технологии. Как показала практика, решение данной задачи дает существенный технико-экономический и социальный эффект, т.к. позволит поднять производительность труда и коэффициент использования оборудования, освободить человека от монотонного труда. Средства вычислительной техники в составе системы управления оборудованием позволяют осуществлять оперативную настройку технологического процесса на выпуск на одном конвейере той или иной продукции различной номенклатуры.
Основой автоматизированного поточного производства стали робото-конвейерные технологические комплексы (РКТК) - производственные системы, состоящие из перестраиваемых роботизированных технологических позиций (РТП) и конвейерного оборудования. Система управления РКТК должна обеспечивать взаимоувязанную работу всех РТП и конвейера с учетом состояния отдельных элементов РТП и ситуации на конвейере.
Типовой РКТК для сборки часов и приборов обычно состоит из конвейера дискретного (синхронного) действия и ряда РТП (входной, сборочных, контрольных, выходной, объединенной с сортировочной). Собираемые изделия помещены в 5-местные кассеты-спутники, которые, перемещаясь по направляющим с помощью механизма шаговой подачи, образуют технологический конвейер. В его состав входят дополнительные устройства позиционирования механизма при сборке и контроле и для опускания его в кассету по завершении операции.
Технологическая схема сборочной РТП представлена на рис.1. Она состоит из мини-робота -Р (манипулятора с цикловым управлением),
рис. 1
локального накопителя устанавливаемых деталей - Н (выполненного в виде кассетного 2-х координатного магазина). Манипулятор берет деталь из Н и устанавливают ее в механизм объекта сборки, который продвигается в кассете -К транспортной системой.
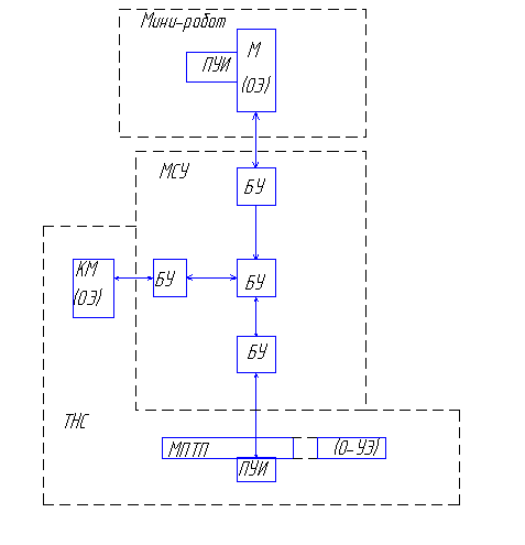
Система управления (СУ) РКТК осуществляет подачу в требуемой последовательности управляющих воздействий на исполнительные механизмы РКТК, их диагностику, сбор и анализ текущей информации о ситуации на конвейере, а также обеспечивает связь с АСУ верхнего уровня. Реализация СУ РКТК целесообразна базе микропроцессорных средств.
Структурная схема микропроцессорной системы управления
сборочной РТП
здесь оставить только то что для вашей задачи
Рис.2. Структурная схема микропроцессорной системы управления
ТНС - транспортно-накопительная система
МПТП - механизм межоперационного перемещения и точного позиционирования
МСУ - микропроцессорная система управления
ПУИ - пульт управления и индикации
БУ - блок управления
М – манипулятор
КМ – кассетный магазин
ОЭ – операционный элемент
О-УЭ – операционно-управляющий элемент
Все, в основном, нормально.
Мои исправления казались только конкретизации задачи.
-
Мини-роботом называть не надо пусть будет манипулятор иначе мы влезаем в борьбу терминологий.- что такое робот, а что манипулятор.
-
Во введении Вы указали где и как ваша сборочная позиция будет использоваться.
Теперь только конкретно про Вашу позицию.
Это касается технологической и структурной схемы.
Вы же не собираетесь писать программу на весь сборочный комплекс?
А раз так то все остальное только для вашей задачи – там и так будет очень много работы.
Схема только про вашу задачу, как я вижу, в нее входит сам манипулятор и механизм подачи деталей.
Характеристики
Тип файла документ
Документы такого типа открываются такими программами, как Microsoft Office Word на компьютерах Windows, Apple Pages на компьютерах Mac, Open Office - бесплатная альтернатива на различных платформах, в том числе Linux. Наиболее простым и современным решением будут Google документы, так как открываются онлайн без скачивания прямо в браузере на любой платформе. Существуют российские качественные аналоги, например от Яндекса.
Будьте внимательны на мобильных устройствах, так как там используются упрощённый функционал даже в официальном приложении от Microsoft, поэтому для просмотра скачивайте PDF-версию. А если нужно редактировать файл, то используйте оригинальный файл.
Файлы такого типа обычно разбиты на страницы, а текст может быть форматированным (жирный, курсив, выбор шрифта, таблицы и т.п.), а также в него можно добавлять изображения. Формат идеально подходит для рефератов, докладов и РПЗ курсовых проектов, которые необходимо распечатать. Кстати перед печатью также сохраняйте файл в PDF, так как принтер может начудить со шрифтами.















