Организация планово-предупредительного ремонта оборудования на предприятиях ДПМ (1223431), страница 5
Текст из файла (страница 5)
.
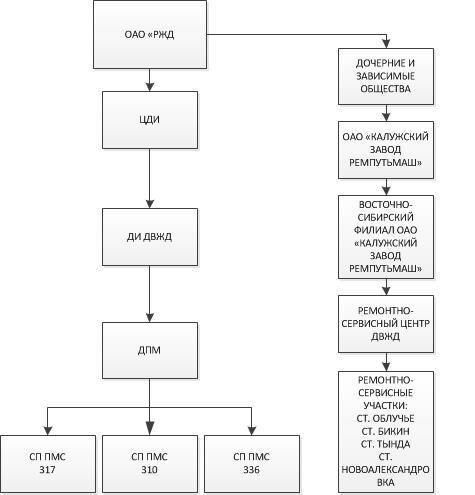
Рисунок 3- Принадлежность ПМС 336, ПМС 310, СПМС 317
-
Проблематика ремонта путевых машин ВПР, ВПРС, ДУОМАТ ИК, УНИМАТ в условиях СПМС-317
Специализированная путевая машинная станция №317 по эксплуатации и ремонту путевых машин была образована по приказу начальника Дальневосточной железной дороги №190/Н в июне 2003 года.
Основная задача СПМС-317 – это выполнение плановых заданий по текущему содержанию пути с применением высокопроизводительных путевых машин, поддержание техники в исправном состоянии и восстановление в зимний период узлов, агрегатов и деталей машин до необходимого уровня для безотказной эксплуатации в период летних путевых работ.
Полигон использования путевых машин СПМС-317 – в пределах Дальневосточной железной дороги, эксплуатационная длина которого составляет порядка 11000 км. ж. д. пути, в том числе протяженность главных путей – 6000 км.
В настоящее время парк путевой техники СПМС-317 составляет 123 путевые машины, из них: ВПР-02 – 8 ед. ВПРС-02 – 1 ед. ДУОМАТИК 09-32 – 6 ед. УНИМАТ – 4 ед.
Таблица 2 - Парк путевой техники СПМС-317 с подъемно-рихтовочным устройством на 2015 год
| № П/П | Предприятие приписки | Тип машины | Заводской номер | Год выпуска | Год | Год последнего КР-1 | Тип, марка силового агрегата | Наработка с начала экспл. или с последнего КР на 01.10.2014 (км, стр.п., год, м/ч, м^3) |
| 1 | СПМС-317 | Дуоматик 09-32 | 8 | 2000 | 2009 | Cummins N-14 | 1256 км | |
| 2 | СПМС-317 | Дуоматик 09-32 | 15 | 2001 | 2013 | 2010 | Cummins N-14 | 1804,6 км |
| 3 | СПМС-317 | Дуоматик 09-32 | 28 | 2002 | 2011 | Cummins N-14 | 1445 км | |
| 4 | СПМС-317 | Дуоматик 09-32 | 40 | 2003 | 2013 | Cummins N-14 | 3946,3 км | |
| 5 | СПМС-317 | Дуоматик 09-32 | 57 | 2005 | 2014 | Cummins N-14 | 3547 км | |
| 6 | СПМС-317 | Дуоматик 09-32 | 62 | 2006 | Cummins N-14 | 2987 км | ||
| Итого: Дуоматик - 6 | ||||||||
| 7 | СПМС-317 | Унимат | 9 | 2001 | 2013 | 2011 | Cummins N-14 | 2890 стр/пер |
| 8 | СПМС-317 | Унимат | 18 | 2002 | 2012 | 2013 | Cummins N-14 | 924,5стр/пер |
| 9 | СПМС-317 | Унимат | 28 | 2004 | 2011 | 2013 | Cummins N-14 | 1107,7стр/пер |
| 10 | СПМС-317 | Унимат | 55 | 2007 | 2014 | Cummins N-14 | 671,6 стр/пер | |
| Итого: Унимат - 4 | ||||||||
| 11 | СПМС-317 | ВПРС-02 | 76 | 1993 | 2013 | ЯМЗ-238 | 955стр/пер | |
| Итого: Выправочные для стрелочных переводов - 1 | ||||||||
| 12 | СПМС-317 | ВПР-02 | 44 | 1990 | 2012 | 2013 | ЯМЗ-238 | 70,5 км |
| 13 | СПМС-317 | ВПР-02 | 100 | 1991 | 2011 | ЯМЗ-238 | 356 км | |
| 14 | СПМС-317 | ВПР-02 | 138 | 1993 | 2014 | ЯМЗ-238 | 0 км | |
| 15 | СПМС-317 | ВПР-02 | 139 | 1993 | 2014 | 2005 | ЯМЗ-238 | 857,2 км |
| 16 | СПМС-317 | ВПР-02 | 143 | 1993 | 2013 | ЯМЗ-238 | 125,4 км | |
| 17 | СПМС-317 | ВПР-02 | 152 | 1993 | 2013 | 2004 | ЯМЗ-238 | 1027 км |
| 18 | СПМС-317 | ВПР-02 | 217 | 1995 | 2014 | 2008 | ЯМЗ-238 | 658,9 км |
| 19 | СПМС-317 | ВПР-02 | 218 | 1995 | 2014 | ЯМЗ-238 | 102,3 км | |
| Итого: выправочно-подбивочно-рихтовочных - 8 | ||||||||
2 Конструкторская часть
2.1 Расчет периодичности ТО и Р для машин ВПР, ВПРС
Виды технических обслуживаний и ремонтов и периодичность их проведения представлены в таблице 1.
Таблица 4 – Виды ТО и Р и их периодичность
| Наименование | Количество | Виды технических обслуживаний и ремонтов | Единица измерения периодичности | Периодичность технического обслуживания и ремонта |
| ВПРС-02 | 1 | ТО-1 ТО-2 ТР-1 ТР-2 КР-1 | отремонтированные стрелочные переводы | 9 18 72 144 580 |
| ВПР-02 | 8 | ТО-2 ТО-3 ТР-1 ТР-2 КР-1 | километр отремонтированного пути | 14 56 112 224 896 |
Структура ремонтного цикла машины ВПРС показана на рисунке 4.
Рисунок 4 - Ремонтный цикл машины ВПРС
Структура ремонтного цикла машин ВПР показана на рисунке 5.
Рисунок 5 - Ремонтный цикл машин ВПР
Число технических обслуживаний и ремонтов каждого вида, которые должны быть проведены в планируемом году соответствующей машины, рассчитывают по следующей формуле:
где
– величина фактической наработки на начало планируемого года по времени проведения последнего, аналогичному расчету, вида технического обслуживания, ремонта или с начала эксплуатации;
– планируемая наработка на расчетный год;
– периодичность выполнения соответствующего вида технического обслуживания или ремонта;
– число всех видов технических обслуживаний и ремонтов с периодичностью большей периодичности того вида, по которому ведется расчет .
Величины фактических наработок машин ВПР, ВПРС представлены в таблице 2.
Таблица 5 – Фактические наработки машин
| Тип машины | Заводской номер | Год выпуска | Наработка с последнего КР на 01.10.14 г. |
| ВПРС-02 | 76 | 1993 | 955 стр.пер |
| ВПР-02 | 44 | 1990 | 70,5 км |
| ВПР-02 | 100 | 1991 | 356 км |
| ВПР-02 | 138 | 1993 | 0 км |
| ВПР-02 | 139 | 1993 | 857,2 км |
Продолжение таблицы 5
| ВПР-02 | 143 | 1993 | 125,4 км |
| ВПР-02 | 152 | 1993 | 1027 км |
| ВПР-02 | 217 | 1995 | 658,9 км |
| ВПР-02 | 218 | 1995 | 102,3 км |
Величины планируемых наработок данных машин на 2015 год сведены в таблицу 6.















