9.АиМ из штучн.загот. (1171742), страница 2
Текст из файла (страница 2)
где МТ - момент, развиваемый постоянно замкнутым тормозом;
МИН=Jε - динамический момент, возникающий в период разгона (здесь J - момент инерции диска и жестко связанных с ним узлов;
- угловое ускорение, а — ускорение, развиваемое при разгоне диска, зависящее от типа привода и преобразующего механизма).
Если принять, что ускорение, сообщаемое револьверному диску в период разгона, численно равно величине отрицательного ускорения, возникающего при останавливании диска, то для предотвращения отрыва между собачкой и храповым колесом механизма периодического движения должно быть соблюдено не равенство
откуда выражение для MР.С может быть записано в виде
Грейферная подача.
Грейферные подачи наиболее целесообразно устанавливать на универсальных блоках со сменными пакетами штампов для группы деталей однотипных по конфигурации и технологии и близких по размерам.
Захватный орган, используемый в грейферных подачах, бывает двух типов: толкающим или клещевым и обеспечивает одновременное перемещение не скольких деталей. В первом случае перемещение заготовок с позиции загрузки на рабочую позицию и между рабочими позициями осуществляется подвижными продольно-поперечными планками, жестко соединенными между собой. Причем крайние планки являются направляющими, а поперечные выполняют роль толкателей. Для перемещения заготовок возвратно-поступательное движение планок осуществляется в разных, параллельных между собой плоскостях: при рабочем ходе планки перемещается в плоскости штамповки, а при холостом они приподнимаются и возвращаются в исходное положение над штампуемыми заготовками.
Рис. 6. Схема подачи
1 – захват, 2 – приводные линейки, 3 – корпус,
4 – шип на захвате,5 – наклонный паз в линейках,
6 – пружины, 7 – тормоз, 8 – правый упор, 9 – левый упор.
Подача работает следующим образом. На рисунке подача показана в крайнем правом положении, когда захваты разведены. Линейки приводятся в движение от ползуна. Они перемещаются слева направо возвратно-поступательно с мгновенными остановками. При ходе линейки влево подача совершает холостой ход до упора 9 при этом и корпус и захват неподвижны по отношению к линейкам за счет действия тормоза 7. дальнейшее перемещение линеек влево приводит к их смещению относительно корпуса. При этом наклонный паз перемещается и освобождает захват, а они под действием пружин удерживаются на заготовке. При ходе вправо линейки перемещают корпус, захват и заготовки на требуемый шаг до упора справа. Такое перемещение обеспечивается тормозом. Дальнейшее перемещение линеек вправо приводит к смещению наклонных пазов и размыканию захватов. В дальнейшем цикл повторяется.
Механические руки
Механические руки рекомендуется применять для подачи заготовок сложной конфигурации, когда невозможно перемещать их в одной плоскости, а также для плоских заготовок толщиной меньше 0,2—0,3 мм.
Механические руки имеют комбинированный сдвоенный привод, обеспечивающий перемещение захватного органа в двух взаимно перпендикулярных плоскостях. Подъем и опускание захватного органа обычно производятся в крайних положениях: у позиции загрузки и в рабочей зоне штампа.
В качестве привода используются пневматические и гидравлические цилиндры или привод пресса. Выбор захватного органа зависит от особенностей изделия. Обычно применяются электромагнитные, пневматические и клещевые захваты.
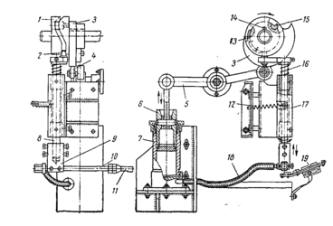
Рис. 7. Механическая рука с пневматическим захватом
На рис. 7 изображена механическая рука с пневматическим захватом, имеющая привод от вала пресса. Отличительной особенностью данной конструкции является привод в движении захватного органа от профильного цилиндрического кулачка 1, по которому перемещается палец 2, закрепленный на штанге 8. На нижнем конце штанги 8, перемещающейся в корпусе 17, установлен зажим 9 с трубкой 10, оканчивающейся наконечником с пневматическим захватом 11. Трубка 10 соединена гибким шлангом 18 с пневматическим цилиндром 7, поршень которого приводится в движение кулачком З при помощи двуплечего рычага 5, на конце которого установлен ролик 4. Кулачки 1 и З посажены на вал с помощью шпонки 14. Пружины 16 и 12 обеспечивают постоянный контакт пальца 2 с профилем кулачка 1.
Поворот руки в горизонтальной плоскости обеспечивается перемещением профильного паза вдоль образующей кулачка 1. Опускание и подъем руки выполняются от накладки 13 и вставки 15. При набегании пальца 2 на накладку 13 захват 11 опускается на заготовки, поступающие из лотка 19 в зону загрузки. В это время кулачок З начинает перемещать вверх поршень 6, создающий разрежение во внутренней полости захвата. При этом обеспечивается захват и последующее удерживание заготовки. При дальнейшем вращении вала наконечник с захватом 11 поднимается и перемещает захваченную заготовку в направлении рабочей зоны штампа. В момент нахождения заготовки над штампом палец 2 набегает на круглую вставку 15. В это время вся система: штанга 8, зажим 9, захват 11 и захваченная заготовка, а также поршень б опускаются. В результате этого (разрежение в захвате снимается) происходит отделение заготовки от захвата 11, который под действием пружины 16 поднимается, а затем выходит из рабочей зоны штампа.
УДАЛЯЮЩИЕ УСТРОЙСТВА ДЛЯ ГОТОВЫХ ИЗДЕЛИЙ
И ОТХОДОВ МАТЕРИАЛА
Особенности выбора
Удаляющие устройства применяются для освобождения рабочего пространства пресса от отштампованной детали. Они применяются в тех случаях, когда готовые изделия нельзя удалить из рабочей зоны штампа за счет наклона пресса или штамповки «на провал».
Удаляющие устройства получили очень большое распространение при механизации кузнечно-штамповочного производства. Однако не все удаляющие устройства могут быть использованы в условиях автоматизации, предъявляющей к ним такие специфические требования, как сохранение ориентации и обеспечение постоянства траектории движения детали в процессе удаления ее из рабочей зоны. Удаляющие устройства, применяемые в кузнечно - штамповочном производстве, могут быть подразделены на две большие группы (рис. 8): сбрасывающие и выносящие.
Рис. 8. Классификация удаляющих устройств
Сбрасывающие устройства
Пневматические сбрасывающие устройства очень просты в изготовлении и надежны в эксплуатации. Они используются в качестве универсальных и специализированных устройств, смонтированных на штампе.
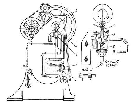
Рис. 9. Пневматическое сбрасывающее устройство
На рис. 9 показано универсальное пневматическое сбрасывающее устройство к прессу усилием 1000 кН (100 тс). Оно состоит из воздухораспределительного клапана З, установленного на станине пресса и срабатывающего от кулачка 4, смонтированного на диске 5, и переносного сопла 2, укрепленного на специальном кронштейне 1.
При повороте коленчатого вала с диском 5 ролик кулачка 4 нажимает на скобу б и через нее на шток 7, который, преодолевая сопротивление пружины 8, открывает доступ воздуха из магистрали в сопло 2. В результате струя воздуха, выходящая из сопла, воздействует на боковую поверхность детали 9, которая отбрасывается из зоны штампа в тару. При применении подвижных и поворотных кронштейнов можно расположить сопло так, чтобы получить нужную траекторию полета детали. Наличие регулируемого кулачка 4 позволяет осуществить подачу воздуха к соплу в заданной точке хода ползуна.
Рис. 10. Конструкция пружинного устройства сбрасывающего
На рис. 10 показано пружинное сбрасывающее устройство с рычажным механизмом взвода, смонтированное в штампе в состоящее из удерживаемого планками 7 толкателя З, который приводится в движение пружиной 1 через палец 2. Срабатывание устройства происходит при ходе ползуна вниз в результате на бегания рычага 5, закрепленного в державке б, на регулируемый упор 4. При следующем ходе ползуна другая отрезанная на штампе деталь снова поступает в зону действия толкателя, который, придя в исходное положение, произведет ее сбрасывание.
Расчет сбрасывающих удаляющих устройств сводится к определению усилия, необходимого для получения заданной траектории движения детали.
Расчет пневматических сбрасывающих устройств заключается в определении сечения трубопровода, соединяющего сопло с цеховой магистралью, и выборе типа сопла.
Выносящие устройства
Среди выносящих удаляющих устройств более простую конструкцию имеют транспортеры, применяемые при штамповке на провал.
Рис. 11. Транспортер для удаления изделий, встроенный в штамп
На рис. 11 показан транспортер, встроенный в нижнюю под штамповую плиту пресса с приводом от индивидуального электродвигателя.
Рис. 12. Приводное лотковое удаляющее устройство
На рис. 12 показано универсальное приводное лотковое удаляющее устройство.
Привод его осуществляется от ползуна 17 пресса, на котором укреплены два кронштейна 14. От кронштейнов через тяги 3, связанные между собой, и оси 2 движение передается на рычаги 4, которые жестко соединены с тягой 8. Эта тяга с приваренным к ней кронштейном 10 совершает колебательное движение вокруг оси 5. При ходе ползуна пресса вверх лоток 12 входит в межштамповое пространство, а при ходе вниз отходит от пресса, имея при этом наклон к горизонту до 0,524 рад (30°). Благодаря наклону отштампованная деталь направляется в тару 18. В кронштейне 6 вокруг оси 7 перемещается другая тяга 9 со скобой 11, служащая для поддерживания лотка в требуемом положении.
Для регулировки положения лотка в зависимости от закрытой высоты пресса служат отверстия в кронштейнах 14. Переналадка осуществляется за счет применения пружинных защелок 15.
Если рассматриваемое устройство не применяется на данной операции, то лоток 12 может быть снят, для чего отводятся пружинные защелки 16, а кронштейн 6, поворачиваясь вокруг оси 1, фиксируется пружинным фиксатором 13 в положении 19.
Удаляющие устройства типа механических рук применяются для крупных листовых деталей сложной формы.
Рис. 13. Общий вид механической руки для крупных деталей
На рис. 13 показана механическая рука другой конструкции, обеспечивающая перемещение детали в двух плоскостях: в вертикальной до 110 мм и в горизонтальной до 600 мм.
Механическая рука (см. рис. 14) имеет клещевой захват 7 с пневматическим приводом, цилиндр которого смонтирован внутри поршня цилиндра б привода горизонтального перемещения и может передвигаться вдоль фронта пресса по рельсу 5, установленному на балке 1. Последняя закреплена с помощью кронштейна на стойках 3. Сжатый воздух для включения руки подается от распределительного клапана 8. Наличие конечного выключателя 2 позволяет автоматически регулировать вертикальное перемещение захватного органа в зависимости от конфигурации детали, т. е. обеспечивает требуемое управление работой цилиндра 4 привода подъема.
Удаляющие устройства для отходов
Для удаления отходов при штамповке применяются лотки и транспортеры. Установка лотков и транспортеров для удаления отходов из рабочей зоны пресса ничем не отличается от установки устройств для удаления готовых изделий.
Отходы удаляющими устройствами направляются к специальной таре или к люкам, где установлен общий ленточный транспортер единой цеховой системы удаления отходов.
Удаление мелких отходов из ограниченного по размерам межштампового пространства представляет некоторую трудность. Обычно в этом случае применение транспортеров исключается. Использование не приводных лотков, как правило, также нецелесообразно, так как мелкие легкие отходы плохо перемещаются под действием силы тяжести.
















