7.АиМ из непрер.матер (1171740), страница 5
Текст из файла (страница 5)
Рис. 101. Односторонняя (а) и"двусторонняя (б) валковые подачи:1 — толкающая каретка; 2 пресс; 3 — инструмент; 4 — тянущая каретка; 5 — отход
толщине меньше 0,3 мм происходит неустойчивое захватывание материала вследствие его малой жесткости; при толщине, большей 2,5 мм, значительно повышаются инерционные нагрузки от материала, которые также приводят к неустойчивой работе захватного органа валковой подачи.
В современных валковых подачах шарниры преобразующего механизма выполняются на опорах качения; валки захватного органа — полыми и оснащаются постоянно замкнутыми тормозами; диаметры валков выбираются как можно меньшими, а для увеличения угла поворота применяют зубчатую передачу. Кроме того, предусматривают специальные приспособления (типа дополнительных тормозов) для выборки зазоров в сопряжениях и т. д.
В последние годы появляется тенденция применять в кузнеч-но-штамповочном производстве крупные двухстоечные прессы с большими столами для многорядной пробивки и вырубки деталей из рулонного материала. В соответствии с этим возникают необходимость в создании подающих устройств с большим шагом. Хотя в некоторых случаях валковые подачи можно встраивать в прессы, однако при шаге подачи свыше 1,5 м это становится весьма затруднительным.
Для автоматизации процессов штамповки, требующих перемещения материала на большой шаг, применяются валковые подачи с индивидуальным приводом. В этом случае работа подачи и пресса осуществляется по последовательному или комбинированному циклу с использованием соответствующих блокировок.
Валковые подачи с индивидуальным приводом находят применение и в специальных линиях по разделке широкорулонного материала на ленточный и листовой. Эти линии требуют очень высокой точности шага подачи, так как допуск для листа шириной 1,5—2 м не превышает ±0,2-Ю,3 мм. Это составляет около 0,01 % на шаг подачи. Достигнуть такой точности подачи можно только в том случае, если на -всех звеньях линии (установка рулона, правка, регулировка компенсационной петли и др.) будут выполняться необходимые условия для обеспечения нужной точности подачи.
При подаче материала большой толщины и ширины возникают определенные трудности. Компенсационная петля получается большой длины и занимает большую площадь. Масса петли может оказывать вредное влияние на точность; кроме того, необходимы специальные запорные устройства, исключающие «оттаскивание» ленты из валков в период их выстаивания. Поэтому в данном случае следует устанавливать правильное устройство непосредственно около пресса, а протаскивание материала осуществлять подающим устройством.
Общий расчет валковых подач сводится к определению следующих параметров.
Угол поворота валков φ3, обеспечивающий перемещение материала на заданный шаг подачи, находим по формуле
где βО = 1,02 - 1,03 — коэффициент, учитывающий проскальзывание в захватном органе;
h3 — шаг подачи;
D — диаметр валков;
φо - угол, необходимый для заклинивания обгонной муфты, в рад.
При расчете захватного органа исходной величиной является тяговое усилие Q3, необходимое для передвижения материала с заданной скоростью подачи. Определение тягового усилия зависит от структуры автоматизированного участка, т. е. от особенностей встраивания валковой подачи в линию и характеристик ориентирующе-питающих устройств.
В случае применения приводных разматывающе-правйльных устройств расчетное тяговое усилие равно
QЗ = Gnem + Qин.р = Gneт(1 + a/g)
где Gnem — сила тяжести свисающей части компенсационной петли;
Qин.р= Gneт a/g - сила инерции;
g — ускорение силы тяжести.
а — максимальное ускорение, развиваемое при движении материала. При использовании неприводных разматывающих и правильных устройств тяговое усилие равно
Qa = Qhap. + Qnp
где QPa3 и Qnp — усилия протаскивания, необходимые для разматывания и правки материала. В валковых подачах с индивидуальным приводом определение мощности электродвигателя привода производится по расчетному тяговому усилию Qa и средней скорости подачи vcp, т. е.
QP.n = Qa Vср =hз/t
где h3 — шаг подачи;
t — время перемещения материала на шаг.
Расчет тормозов, снижающих инерционные нагрузки производится по формуле отдельно для верхнего и нижнего валков максимальное угловое ускорение находится из выражения
и зависит от типа привода и преобразующих механизмов валковой подачи.
Ролико-клиновые подачи
Ролико-клиновые подачи изготовляются одностороннего действия и обычно толкающего типа и состоят из захватного органа ролико - клинового - отсюда и название подачи), преобразующего механизма и системы блокировки. В качестве привода используется привод пресса от главного вала или ползуна.
Рис. 104. Штамп с ролико-клиновой подачей
На рис. 104 показана схема штампа с ролико-клиновой подачей
и клиновым преобразующим механизмом, состоящим из двух
клиньев /, закрепленных на верхней плите штампа, и роликов 2
оси которых закреплены в корпусе подвижной каретки.
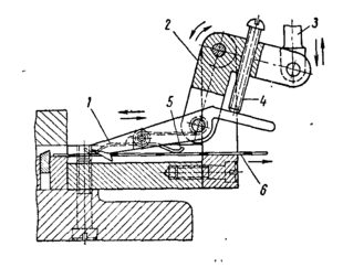
На рис. 105 показана ролико-клиновая подача с приводом от
главного вала пресса, захватный орган которой состоит из по-
движнои 4 и неподвижной 3 кареток, смонтированных на крон-
штейне 6, кривошипно-рычажного преобразующего механизма /
механизма для очистки и смазки ленты 2 и пружинного предохранителя 5.
Захватный орган ролико-клиновой подачи рассчитывается по расчетному тяговому усилию Qa, определяемому аналогично тяговому усилию для валковой подачи. При расчете преобразующего механизма необходимо учитывать силу инерции QUH, возникающую при перемещении подвижной каретки, т. е. расчетное усилие в этом случае определяется по формуле
Qр* =Q3 + Qин +T = Q3 +Gкар(a/g+µ)
где Q3 — тяговое усилие, создаваемое захватным органом-
T - сила трения в направляющих;
GKap — сила тяжести подвижной каретки захватного органа
и жестко связанных с ней деталей;
а — максимальное ускорение перемещения ленты
µ — коэффициент трения в направляющих, принимаемый
равным 0,1.
Клещевые подачи
В клещевых подачах в основном используется ножевой захватный орган. Клещевые подачи выполняются с приводом от пресса или от
пресса или от пневматического цилиндра, применение которого оправдано только в том случае, если невозможно обеспечить кинематическую связь с главным валом или ползуном пресса и необходимо создать большие шаги подачи.
На рис. 106 показана клещевая подача для проволоки (максимальный шаг подачи h3 = 120 мм, число ходов автомата п = = 540 ход!мин). Подача имеет кривошипно-рычажный преобразующий механизм, состоящий из эксцентриковой шайбы 2, тяги 3,. рычага 4, качающегося на подшипниках качения вокруг оси /. Нож 9 захватного органа смонтирован в каретке 13, закрепленной шарнирно с рычагом 4 на оси 14.
Захватный орган включается и выключается вручную с помощью шарнирно-рычажного четырехзвенного механизма, состоящего из планки 6, рычагов 5 и 7, качающихся на осях и смонтированных в основании кронштейна 11, и рукоятки 8. При повороте рычага 5 рукояткой 8 планка 6 нажимает на подшипник 10, смонтированный на оси 12, закрепленной в каретке 13, и поджимает нож 9 к проволоке 15, обеспечивая необходимую связь захвата ^материалом. Планка 6 одновременно является направляющей, по которой в процессе подачи проволоки 15 перемещается каретка 13.
Определение расчетных усилий для проектирования клещевой подачи производится по тем же формулам, что и для ролико-клиновой подачи.
5. Крючковые подачи
Крючковая подача является одним из самых простых типов подач при автоматизации штамповки непрерывного материала. Однако ее применение возможно лишь в том случае, если в отштампованной ленте (отходе) после вырубки остаются прочные перемычки. В качестве привода используется привод пресса, главным образом ползун.
Возможны многочисленные варианты крючковых подач, один из которых показан на рис. 107. Подача состоит из захватного органа: крючка 1 с упорным винтом 4, перемещающего ленту 6 вправо при ходе ползуна вверх; преобразующего механизма рычажного типа, состоящего
из двуплечего рычага 2 и тяги 3, закрепленной на ползуне. При опускании ползуна правый конец крючка винтом 4 приподнимается над лентой и возвращается влево (в исходное положение) над лентой, скользя по ее поверхности до западания в следующее отверстие. Пружина 5 удерживает ленту от перемещения в обратном направлении.
УСТРОЙСТВА ДЛЯ УДАЛЕНИЯ ОТХОДОВ МАТЕРИАЛА
Для удаления отработанного непрерывного материала применяются три вида устройств:
наматывающие,
укладчики (стапелирующие) и
для разрезки отходов.
Для укладки отработанного материала (обычно полосового) применяются стапелирующие устройства с фиксацией полосы штифтами (типа, показанного на рис. 97). Полоса в зону действия захватного органа стапелирующего устройства вводится подающим устройством.
Наиболее универсальными для ленты являются наматывающие устройства, которые бывают приводными и неприводными.
Рис. 109. Наматывающее устройство для отходов ленты
На рис. 109 показана конструкция приводного наматывающего устройства для ленты шириной до 130 мм при максимальном диаметре намотки 1000 мм.
Наматывающее устройство имеет электрический привод от электродвигателя мощностью 0,12 кет.
Наматывающее устройство устанавливается на опорной плите 1, имеющей вид диска с большой площадью опоры. К плите / приварена трубчатая колонна 2. К колонне 2 при помощи хомута 3 и болтов крепится кронштейн 4. На кронштейне закрепляется электродвигатель 5. Для предотвращения проворачивания кронштейна 4 к колонне 2 приварена специальная направляющая 6. От электродвигателя вращение передается на червячный редуктор (передаточное отношение редуктора iв = 60). Вал 7 червячного колеса передает вращение втулке 8, на которой неподвижно закреплены направляющие диски 9. Втулка 8 закреплена на валу 7 штифтом 10. Диски 9 устанавливаются по ширине наматываемого отхода.
















