02_glava (1055382), страница 2
Текст из файла (страница 2)
“ИЛИ” с четырьмя входами
Рис. 2.2
“И-НЕ” c четырьмя входами
Рис 2.3
Рис. 2.4
Система условных обозначений логических микросхем
Таблица 2.3
| Обозначение | Выполняемая функция | Графическое обозначение |
| ЛА | И-НЕ |
|
| ЛБ | И-НЕ/ИЛИ-НЕ |
|
| ЛЕ | ИЛИ-НЕ |
|
| ЛИ | И |
|
| ЛЛ | ИЛИ |
|
| ЛМ | ИЛИ-НЕ/ИЛИ-НЕ |
|
| ЛН | НЕ |
|
| ЛР | И-ИЛИ-НЕ |
|
| ЛС | И-ИЛИ |
|
| ЛП | Исключающее ИЛИ |
|
2.4 Практические комбинационные схемы на логических элементах семейства ТТЛ (tз=29 нс).
Рис 2.5.Схема К155ЛАЗ
Э
К 1 55 Л А 1
Условный номер данной серии по функциональному признаку
Вид по функциональному назначению
Подгруппа
Порядковый номер серии
Группа (по конструктивно-технологическому исполнению)
ИС широкого применения
На экспорт
Рис. 2.6. Микросхема И.
.
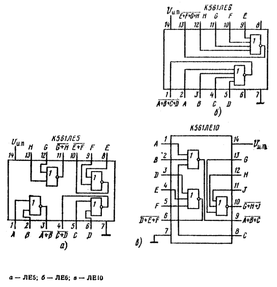
2.5 Логические элементы КМОП.
Рис. 2.11. Двухвходовый элемент
.
Рис. 2.13. Микросхема К561ЛС2.
Рис. 2.14. Микросхемы К561ЛН1 и К561ЛН2.
Рис. 2.16. Микросхема К176ЛП1 и её применения.
















