Uchebnoe_posobie_dlya_vypolenia_DZ_po_TK M_Misha_15_04_2014 (769665), страница 7
Текст из файла (страница 7)
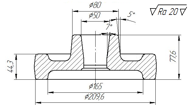
Рис. 2.7. Эскиз поковки детали «ступица».
Глава 3. Изготовление заготовки методом литья
При конструировании литой детали, т.е. детали, заготовка для которой является отливка, необходимо обеспечить требуемый уровень механических и эксплуатационных свойств при заданных значениях точности размеров, шероховатости поверхностей. Для проектирования технологичных изделий следует учитывать как литейные свойства сплавов, так и способ изготовления отливок, их последующую механическую обработку резанием.
Исходной информацией для проектирования технологичной литой детали является эскиз детали с указанием условий ее эксплуатации и количества изготавливаемых изделий.
Алгоритм проектирования литой детали включает:
-
Уточнение марки материала изделия;
-
Выбор рационального способа литья;
-
Конструирование отливки;
-
Обеспечение технологичности отливки проектируемой детали.
3.1. Уточнение марки материала литой детали
Выбор материала отливки в первую очередь зависит от условий эксплуатации детали: испытываемых нагрузок, температуры, агрессивности окружающей среды и других факторов. Фасонные изделия, не подвергающиеся ударным нагрузкам действию растяжения и изгиба, обычно изготавливают из чугуна. Для изготовления деталей машин, работающих в тяжелых условиях и испытывающих значительные нагрузки, применяют сталь. Однако получение крупных отливок из стали затруднено.
Серый чугун, который широко применяют для изготовления корпусных деталей, является хорошим конструкционным материалом с низкой стоимостью, обладающим высокими литейными свойствами и хорошей обрабатываемостью резанием. Из этого сплава получают корпусные детали металлорежущих станков, центробежных насосов, редукторов, деталей автомобильных и тракторных двигателей.
Изделия, условия работы которых связаны с вибрацией либо значительными изгибающими или скручивающими моментами и ударными нагрузками, получают из высокопрочного чугуна. Жидкотекучесть этого сплава такая же, как и серого чугуна, что позволяет получать отливки сложной конфигурации с минимальной толщиной стенки 3…4 мм. Линейная усадка высокопрочного чугуна выше, чем у серого, что затрудняет изготовление заготовок без усадочных дефектов.
Литейные стали имеют пониженную жидкотекучесть, высокую усадку и склонны к образованию трещин. В связи с низкими литейными свойствами и необходимостью применения массивных прибылей расход металла для получения стальных отливок увеличивается примерно в 1,6 раза по сравнению с чугунной.
3.2. Выбор рационального способа литья
Основополагающим принципом выбора способа получения отливки является обеспечение максимального приближения ее размеров к проектируемой детали, что существенно сокращает расход металла, объем механической обработки и производственный цикл изготовление детали.
Выбор способа изготовления отливки определяется конструкторско-технологическими признаками изделия (форма и размеры, требуемая точность и свойства поверхностного слоя, литейные свойства материала заготовки, программа выпуска детали) и технологические возможности основных способов изготовления отливок (табл.3.1). Оптимальная конструкция литой детали должна наиболее полно соответствовать техническим возможностям выбранного способа литья, обеспечивать минимальную себестоимость и заданные свойства изделия.
Таблица 3.1.
| Показатель | литье в песчаные формы | литье в оболочковые формы | литье по 68ыплавляя-емым моделям | литье в кокиль | литье под давлением | центробежное литье | |
| Материал отливок | Сталь, чугун, цветные сплавы | Сталь, чугун, цветные сплавы | Сталь, чугун, цветные сплавы, специальные сплавы | Сталь, чугун, цветные сплавы | Цветные сплавы | Сталь,чугун, цветные сплавы | |
| Максимальная масса отливок, кг | 200 000 | 150 | 150 | 7000 – чугун, 4000 – сталь, | 100 | 600 | |
| Максимальный размер отливки, мм | Неогранич. | 1500 | 1000 | 2000 | 1200 | 6000 | |
| Толщина стенок, мм: | |||||||
| min mах | 3,0 | 2,0 | 0,5 | 3,0 | 0,5 | 4,0 | |
| Неогранич. | 12,0 | 6,0 | 100 | 6,0 | Неогранич. | ||
| Класс точности отливок | 6–14 | 4–11 | 3–8 | 4–11 | 3–8 | 6–14 | |
| Шероховатость поверхности Ra, мкм | 80…20 | 40…10 | 20…5 | 40…10 | 10…2,5 | 80…20 | |
| Минимальный припуск на механическую обработку (на сторону), мм | 0,3…6,0 | 0,4…2,0 | 0,2…0,6 | 0,38…1,0 | 0,2…0,5 | 0,3…1,0 | |
| Коэффициент весовой точности, % | 60…70 | 80…95 | 90…95 | 75…80 | 90…95 | 70…90 | |
| Относительная себестоимость 1 т отливок, отн. Ед. | 1,0 | 1,5…2,0 | 2,5…3,0 | 1,2…1,5 | 1,8…2,0 | 0,6…0,7 | |
| Экономически оправданная серийность, шт./год | Неогранич. | 200…500 | 1000 | 400…800 | 1000 | 100…1000 | |
Технологические возможности основных способов изготовления отливок
3.3. Конструирование отливок
При проектировании отливок необходимо учитывать ее положение в форме. Она должна располагаться так, чтобы обеспечивать спокойное заполнение формы без разрушения струей металла отдельных участков формы или стержней. Конструкция формы должна способствовать направленной кристаллизации отливки снизу вверх с тем, чтобы усадочные раковины, примеси, неметаллические включения выводились в части отливки, удаляемые при обрубке и очистке (выпоры, прибыли, припуски на механическую обработку).
Элементы отливок с малой и равномерной толщиной стенок следует располагать в верхней части формы для обеспечения для обеспечения хорошего подвода металла питателями. Тонкостенные элементы отливок желательно располагать вертикально или наклонно, чтобы в них не скапливались газовые пузыри. Отливки типа тел вращения рекомендуется располагать с вертикальной осью вращения для обеспечения отвода газов из стержней. Отливку в форме следует располагать так, чтобы общая высота формы была минимальной, а полуформы имели примерно одинаковую высоту. При заливке расплава в форму ответственные обрабатываемые поверхности по возможности должны располагаться внизу или сбоку для получения чистой и плотной поверхности отливки. Для повышения точности и уменьшения вероятности брака по перекосу желательно располагать отливку в одной полуформе.
Положение отливки в форме при заливке обозначают заглавными буквами В (верх) и Н (низ), которые ставят у стрелок (рис.3.1).
Рис.3.1. Обозначение положения отливки в форме при заливке
При разработке чертежа отливки величину припуска на механическую обработку выбирают по ГОСТ 26645-85 в зависимости от материала изделия, наибольшего габаритного размера литой детали, положения поверхности при заливке, на которую назначен припуск, и способа изготовления отливок.
Вначале по табл. 3.2 выбирают класс точности размеров и ряд припуска. Затем по табл. 3.3 в зависимости от номинального размера и класса точности определяют допуски размеров отливок. По табл. 3.4 определяют припуск на механическую обработку отливок.
Таблица 3.2
Классы точности размеров и ряды припусков на механическую обработку отливок для различных способов литья
Примечание. В числителе указаны классы точности размеров, в знаменателе – ряды припусков. Меньшие их значения относятся к простым отливкам и условиям массового автоматизированного производства, бóльшие – к сложным, мелкосерийно и индивидуально изготовленным отливкам; средние – к отливкам средней сложности и условиям механизированного серийного производства.
Таблица 3.3
Допуски линейных размеров отливок (на сторону)
Таблица 3.4
Припуски на механическую обработку
Примечание. Величины припусков относятся к поверхностям отливки, находящимся при заливке снизу или сбоку. Припуск на верхние поверхности допускается увеличивать до значения, соответствующего следующему ряду.
Припуск на механическую обработку указывают цифрой перед знаком шероховатости поверхности детали и изображают сплошной линией в соответствии с ГОСТ 3.1125-88.
Отверстия диаметром менее 25 мм целесообразно получать сверлением, а не с помощью стержней. Отверстия и углубления, не выполняемые литьем, перечеркиваются крест-накрест тонкой линией.
3.5 Определение величины формовочных уклонов
Уклоны выполняют на вертикальных наружных или внутренних поверхностях модели и другой литейной оснастки. Формовочные уклоны для отливок, изготовляемых в разовых формах, выполняют в направлении извлечения модели из формы или стержня из стержневого ящика. При изготовлении отливок в металлических формах с применением металлических стержней формовочные уклоны выполняют в направлении извлечения отливки из формы и стержней из отливки.
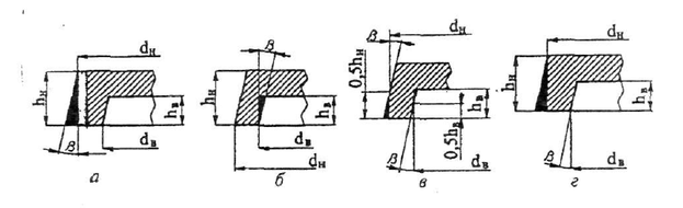
Формовочные уклоны выполняют:
- на обрабатываемых поверхностях – за счет увеличения размеров отливки сверх припуска на механическую обработку (рис.3.2, а);
- на необрабатываемых поверхностях, которые не сопрягаются по контуру с другими деталями – за счет одновременного увеличения и уменьшения размеров отливки, от середины высоты уклона (рис.3.2, в);
- на необрабатываемых поверхностях, сопрягаемых по контуру с другими деталями – за счет уменьшения (рис.3.2,б) или увеличения (рис.3.3,г) размеров отливки.
Р
ис 3.2 Формовочные уклоны отливок
Величина формовочного уклона зависит от способа изготовления отливки, материала модели и высоты поверхности, на которую наносят уклон (ГОСТ 3212-88).
Формовочные уклоны отливок, изготовленных в разовых формах, выбирают по таблице 3.5.
Таблица 3.5
Формовочные уклоны отливок, изготовленных в разовых формах
Уклоны стенок отливок, изготовляемых литьем в металлические формы, назначают в соответствии с таблицей 3.6.
Таблица 3.6
















