63414 (633983), страница 7
Текст из файла (страница 7)
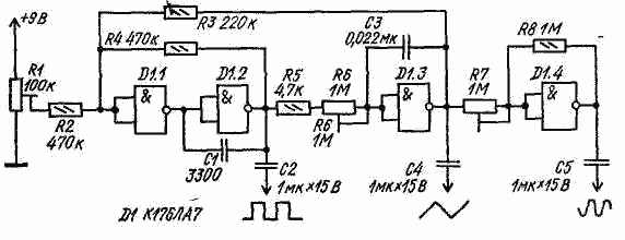
Формирователь импульсов большой длительности
Формирователь содержит RC-триггер, собранный на логических элементах 2И-НЕ, интегрирующую цепь R1, R2, С1 и инвертор на транзисторе V1.
При высоком логическом уровне на входе формирователя на выходе 1 появятся высокий логический уровень, а на выходе 2 - низкий. При поступлении на вход отрицательного запускающего импульса триггер переключается в другое состояние: на выходе элемента D1.2 появляется высокий логический уровень, а на выходе элемента D1.1 - низкий. Через резисторы R1 и R2 начинает заряжаться конденсатор С1. Как только напряжение на нем достигнет напряжения открывания транзистора V1, напряжение на коллекторе этого транзистора уменьшается, триггер возвращается в исходное состояние, и конденсатор С1 разряжается.
Диод V2 ускоряет разряд конденсатора С1, а резистор R1 ограничивает ток разряда.
Ориентировочно длительность импульсов (в секундах) равна произведению емкости конденсатора С7 (в микрофарадах) и сопротивления резистора R2 (в мегаомах). При использовании элементов с номиналами, указанными на принципиальной схеме, длительность импульсов составляет около 5 с.
Функциональный генератор на микросхеме
Логическая микросхема на МОП-транзисторах с дополнительной симметрией позволяет построить генератор, дающий прямоугольные, треугольные и синусоидальные колебания.
В зависимости от емкости конденсатора СЗ частоту генерируемых колебаний можно изменить в пределах от 35 до 3500 Гц. Основу генератора составляет компаратор на элементах D1.1 и D1.2. С выхода компаратора сигнал поступает на интегратор (СЗ, R6, D1.3). Элемент D1.4 используют как нелинейный усилитель. Регулируя уровень входного напряжения резистором R7 на входе элемента D1.4, добиваются получения на его выходе синусоидальных колебаний. Потенциометр R1 служит для получения симметричных колебаний, частоту импульсов меняют резистором R6.
Экономичная схема стабилизации частоты вращения
Схема представляет собой импульсный стабилизатор, состоящий из тахометрического моста, образованного резисторами R4-R7 и якорной обмоткой двигателя M1, источника опорного напряжения (V7, V8, R3), управляемого мультивибратора на транзисторах V5, V6 и цепи запуска (диоды VI-V4 и резистор R1).
Когда мост уравновешен, напряжение между точками бив зависит только от частоты вращения двигателя. Это напряжение сравнивается с опорным, и разностный сигнал используется для регулирования частоты вращения. При включении схемы потенциал точки а выше, чем точки б, и диод открыт. Благодаря этому открывается транзистор V5, а за ним и транзистор V6. Тахометрический мост оказывается подключенным к источнику питания, что вызывает вращение вала электродвигателя.
Благодаря наличию положительной обратной связи через конденсатор С1 каскад на транзисторах V5, V6 самовозбуждается. Напряжение на тахометрическом мосту зависит от частоты и длительности генерируемых колебаний, которые в свою очередь зависят от разностного управляющего напряжения на базе транзистора V5. В установившемся режиме частота вращения вала двигателя определяется параметрами моста и опорным напряжением. При этом потенциал точки а ниже потенциала точки б, диод V4 закрывается, и цепь запуска (VI-V4, R1) в работе стабилизатора не участвует. Увеличение нагрузки на валу вызывает уменьшение частоты вращения двигателя, что вызывает уменьшение напряжения на диагонали тахометрического моста. При этом напряжение на базе транзистора V5 увеличивается, что вызывает увеличение его коллекторного тока и соответствующее увеличение частоты и длительности импульсов коллекторного тока транзистора V6. Одновременно увеличивается среднее значение напряжения на электродвигателе, благодаря чему восстанавливается частота вращения его вала. Уменьшение нагрузки на валу вызывает в схеме явления противоположного характера.
Нестабильность частоты вращения стабилизатора с двигателем ДПМ-25 в нормальных условиях составляет 0,5... 1 %, а в диапазоне температур от -30 до +50°С 2...3 %. При исключении конденсатора С1 стабилизатор переходит в линейный режим регулирования.
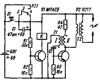
Электронная газовая зажигалка
Электронная газовая зажигалка представляет собой генератор импульсов высокого напряжения.
Импульсы генератора создают искровые разряды возле горелки в момент включения газа. Для этого на оси ручки включения газа устанавливают кулачковый механизм, замыкающий контакты S1, находящиеся вблизи ручки. Включается реле К., блокируя контакты кнопки S1 и включая в цепь заряда конденсатор С1. При этом запускается блокинг-генератор, выполненный на транзисторе V2. Открытое состояние транзистора VI сохраняется в течение времени заряда конденсатора С1, после чего транзистор запирается, и реле отключает питание от схемы, переводя ее в исходное состояние.
Детали. Трансформатор блокинг-генератора Т1 выполнен на ферритовом магнитопроводе диаметром 20 мм; обмотка I содержит 140, обмотка II - 70 витков провода ПЭВ 0,47; трансформатор Т2 - катушка зажигания мотоцикла или лодочного мотора; питание - четыре элемента 373 или 343, соединенные последовательно.
Электронная канарейка.
С помощью относительно простого устройства можно имитировать пение канарейки.
Здесь использован генератор сложных колебаний. Период повторения трелей регулируют переменным резистором R2, а частоту звучания - резистором R4.
Трансформатор Т1 выходной от любого транзисторного переносного приемника; динамическая головка - также от малогабаритного приемника. Потребляемый ток 5 мА, поэтому можно использовать для питания батарею
"Электронная няня"
Сигнальное устройство (рис. 6.37) обеспечивает подачу сигнала, как только пеленки ребенка станут мокрыми.
Датчик устройства представляет собой пластину 20 X 30 мм, вырезанную из одостороннего фольгированного стеклотекстолита толщиной 1 мм, вдоль которой по центру прорезана канавка шириной 1,5-2 мм, разделяющая фольгу на два изолированных друг от друга электрода. Поверхность электродов необходимо посеребрить или облудить. Пока сопротивление датчика велико (пеленки сухие), транзистор V4 закрыт, и потребляемый сигнализатором ток составляет единицы микроампер. При столь малом потребляемом токе в сигнализаторе отсутствует выключатель питания. Как только сопротивление датчика уменьшится (пеленки мокрые), транзистор V4 открывается и подает питание на генератор, имитирующий зву-чание "мяу", выполненный на транзисторах V2, V3. Продолжительность звучания "мяу" зависит от величины сопротивления резистора R4 и емкости конденсатора С2. Частота повторения звуков зависит от сопротивления R2 и емкости С2, тембр - от емкости С1.
Детали. Транзисторы V2, V3 типа МП40-МП42 с любым буквенным индексом с h21э > 30, V4 типов КТ104, КТ2ОЗ, КТ361 с любым буквенным индексом и h21э > 30; телефонный капсюль ТК-67Н с сопротивлением обмотки постоянному току 50 Ом.
Электротермометр для измерения температуры зерна
Датчиком прибора служит измерительная игла диаметром 4 мм, с помощью которой прокалывается мешок с зерном.
Построен прибор по принципу несбалансированного моста, к одной диагонали которого подводится напряжение питания от аккумуляторной батареи (через кнопку S1 и ограничительные резисторы R7 и R8), а в другую включен измерительный прибор - микроамперметр со шкалой 0-50 мкА типа М494. Одним из плеч моста является терморезистор R3 типа МТ-54 сопротивлением 1,3 кОм при 20 °С, установленный на конец измерительной иглы. Калибруют прибор по образцовому ртутному термометру, начиная с самой низкой температуры (-10°С). Резистором R2 устанавливают стрелку микроамперметра на начальное деление шкалы. Для калибровки на наивысшей измеряемой температуре переключатель S2 устанавливают в положение "К" (контроль) и, подстраивая резистор R4, устанавливают стрелку прибора на конечное значение шкалы (+70 °С). Перед измерением температуры калибровку шкалы производят в положении "И" переключателя S2. Регулировкой потенциометра R8 устанавливают стрелку прибора на конечное значение шкалы.
Детали. Резистор R4 наматывается манганиновым проводом ПЭММ-0,1 бифилярно; проводка внутри иглы выполнена проводом во фторопластовой изоляции типа МГТФЛ-0,2.
АВТОМАТ ДЛЯ ПОЛИВКИ РАСТЕНИЙ
Принципиальная схема простого автомата, включающего подачу воды на контролируемый участок почвы (например, в теплице) при уменьшении ее влажности ниже определенного уровня, приведена на рисунке. Устройство состоит из эмиттерного повторителя на транзисторе V1 и триггера Шмитта (транзисторы V2 и V4). Исполнительным механизмом управляет электромагнитное реле К1. Датчиками влажности служат два металлических или угольных электрода. погруженные в грунт.
При достаточно влажной почве сопротивление между электродами небольшое н поэтому транзистор V2 будет открыт, транзистор V4 - закрыт, а реле К1 - обесточено.
По мере высыхания почвы сопротивление грунта между электродами возрастает, напряжение смещения на базе транзисторов V1 и V3 уменьшается, Наконец, при определенном напряжении на базе транзистора V1 открывается транзистор V4 н срабатывает реле К1. Его контакты (на рисунке не показаны) замыкают цепь включения заслонки или электрического насоса, осуществляющих подачу воды для поливки контролируемого участка почвы. При повышении влажности сопротивление почвы между электродами уменьшается, после достижения требуемого уровня открывается транзистор V2, транзистор V4 закрывается и реле обесточивается. Поливка прекращается. Переменным резистором R2 устанавливают порог срабатывания устройства, отчего в конечном итоге зависит влажность почвы на контролируемом участке. Защита транзистора V4 от бросков напряжения отрицательной полярности при выключении реле К1 осуществляется диодом V3.
Примечание. В устройстве можно применить транзисторы КТ316Г (V1, V2), KТ602A (V4) и диоды Д226 (V3).
Источник: "Elecnronique pratique" (Франция), N 1461
Автомат кормления аквариумных рыб
Да, любители аквариумный рыб, заботу о регулярном кормлении ваших подопечных вполне можно поручить описываемому здесь автомату. Он обеспечивает ежедневное одноразовое утреннее кормление рыб.
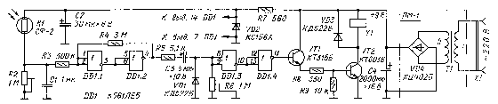
Электронную часть такого устройства (рис.1) образуют светочувствительный элемент, функцию которого выполняет фоторезистор R1, триггер Шмитта, собранный на элементах DD1.1 и DD1.2, формирователь импульса нормированной длительности подачи корма, выполненный на элементах DD1.3, DD1.4, и электронный ключ на транзисторах VT1,VT2. Роль дозатора корма выполняет электромагнит, управляемый транзисторным ключом.
Источником питания автомата служит серийно выпускаемое выпрямительное устройство ПМ-1, предназначаемое для питания двигателей электрифицированных самоходных моделей и игрушек, или любой другой сетевой блок питания с выходным напряжением 9 В и током нагрузки до 300 мА. Для повышения стабильности работы автомата его фотоэлемент и микросхема питаются от параметрического стабилизатора напряжения R7, VD2, С2.
В темное время суток, когда сопротивление фотодатчика R1 велико, на входе и выходе триггера Шмитта, а также на входе элемента DD1.3 и выходе элемента DD1.4 действует напряжение низкого уровня. Транзисторы VT1 и VT2 закрыты. В таком "дежурном" режиме устройство потребляет небольшой ток- всего несколько миллиампер. С рассветом сопротивление фоторезистора начинает постепенно уменьшаться, а падение напряжения на резисторе R2 - увеличиваться. Когда это напряжение достигает порога срабатывания триггера, на выходе его элемента DD1.2 появляется сигнал высокого уровня, который через резистор R5 и конденсатор С3 поступает на вход элемента DD1.3. В результате элементы DD1.3 и DD1.4 формирователя импульса нормированной длительности переключаются в противоположное логическое состояние. Теперь сигнал высокого уровня на выходе элемента DD1.4 открывает транзисторы VT1 и VT2, а электромагнит Y1, срабатывая, приводит в действие дозатор корма рыб.
С наступлением вечернего времени суток сопротивление фоторезистора увеличивается, а напряжение на резисторе R2 и, следовательно, на входе триггера уменьшается. При пороговом напряжении триггер переключается в исходное состояние и конденсатор С3 быстро разряжается через диод VD1, резистор R5 и элемент DD1.2. С рассветом весь процесс работы автомата повторяется.
Рис. 1
Длительность работы дозатора определяется временем зарядки конденсатора С3 через резистор R6. Изменением сопротивления этого резистора регулируют норму высыпаемого в аквариум корма. Чтобы устройство не срабатывало при пропадании и последующем появлении сетевого напряжения, различных световых помех, параллельно резистору R2 подключен конденсатор С1.
Микросхема DD1 может быть К561ЛА7, транзистор VT1 - КТ315А-КТ315И, КТ312А-КГ315В, КТ3102А-КТ3102Е,/Т2 - КТ603А, КТ603Б, КТ608А, КТ608Б, КТ815А-КТ815Г, КТ817А - КТ817Г. Стабилитрон КС156А заменим на КС168А, КС162В, КС168В. Диоды КД522Б - на КД521А, КД102А, КД102Б, КД103А, КД103Б, Д219А, Д220. Конденсатор С1-КМ; С2 и С3-К50-6, К50-16; С4 - К50-16 или К50-6. Подстроечные резисторы R2 и R6 - СП3-3, другие резисторы-ВС, МЛТ. Фоторезистор R1 -СФ2-2, СФ2-5, СФ2-6, СФ2-12, СФ2-16; можно также использовать фототранзистор ФТ-1.















