63414 (633983), страница 4
Текст из файла (страница 4)
Мелодичный звонок устанавливают вместо обычного квартирного электрического звонка. Звонок звучит трелями, которые можно менять путем несложной его переделки.
В мелодичном звонке использованы две логические микросхемы и три транзистора. Частота колебании генератора (транзисторы V6 и V7) определяется емкостью конденсатора С2 и общим сопротивлением цепи, состоящей из резисторов R2-R6 и R10. Блок управления (элементы D2.1 и D2 2) представляет собой последовательный счетчик с коэффициентом деления 4, собранный на двойном D-триггере. При работе звонка (кнопка S1 нажата) на катодах диодов VI-V5 поочередно появляются уровни логических нулей, что приводит к открыванию диодов и подключению соответствующих резисторов к общему проводу питания (минус батареи GB1). Поочередное подключение обеспечивается подачей на блок управления импульсов с тактового генератора, выполненного на логических элементах 2И-НЕ (D1.1, D1.2) по схеме мультивибратора. Элемент D1.3 выполняет роль буферного (согласующего) каскада между тактовым генератором и блоком управления.
С резистора R11 колебания генератора тока подаются через согласующий каскад, выполненный на элементе D1.4 и резистор R12 на базу транзистора V8 усилителя НЧ. Нагрузкой усилителя является динамическая головка В1, включенная в цепь коллектора транзистора через выходной трансформатор Т1.
Транзисторы К315Г можно заменить на любые транзисторы серий КТ312, КТ315, КТ301, а МП40 - на МП25, МП26, МП42Б. Вместо диодов Д9К можно использовать любые германиевые диоды.
Трансформатор Т1 - ТВ-12 (от малогабаритных транзисторных приемников), в котором используется половина первичной обмотки. Динамическая головка В1 - мощность до 2 Вт, сопротивление звуковой катушки постоянному току 4...10 Ом. Конденсаторы С1, СЗ - К50-6, С2 - МБМ. Источник питания - батарея 3336Л.
При исправных деталях и безошибочном монтаже звонок начинает работать сразу после нажатия кнопки. Нужную мелодию нетрудно установить подбором резисторов R2*-R6*. На время налаживания их удобнее заменить переменными резисторами сопротивлением по 22 кОм, подобрать мелодию, а затем измерить полученные сопротивления и впаять в устройство постоянные резисторы с таким сопротивлением.
При необходимости тональность мелодии изменяют подбором конденсатора С2 и резистора R10. Устойчивой работы генератора тона добиваются подбором резистора R7* (сопротивлением от 6,8 до 22 кОм).
Скорость исполнения мелодии зависит от частоты тактового генератора, и ее можно изменять грубо подбором конденсатора С1, а плавно - подбором резистора R1* в пределах 300…470 Ом.
Многовходовое сенсорное устройство
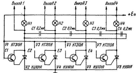
Многовходовую схему сенсорного устройства на тринисторах, предложенную Ю. Сбоевым, можно применить для переключения телевизионных каналов, диапазонов приемников и др.
На схеме показаны четыре одинаковые сенсорные ячейки, каждая из которых содержит тринистор, транзистор, коммутирующий конденсатор и индикатор. При касании пальцем любой из четырех пар контактов Е1...Е4 в цепи базы соответствующего транзистора (VI, V3, V5 или V7) потечет ток, открывающий транзистор, который в свою очередь откроет соответствующий тринистор. Конденсаторы С1...С4 служат для выключения ранее работающей ячейки при касании сенсора другой ячейки, так как в этом случае напряжение этих конденсаторов оказывается приложенным к работавшему тринистору с обратной полярностью, что приводит к его выключению. Для индикации состояния ячеек служат лампы Н1...Н4.
Детали: транзисторы типа КТ315, П307...П308); конденсаторы типа МБМ; индикаторные лампы СМ37 либо любые другие, соответствующие напряжению питания сенсорного устройства. Максимально допустимый ток через открытый тринистор КУ101А — 75 мА, поэтому сопротивление нагрузки выбирают, исходя из указанного тока. Напряжение питания устройства 10...30 В. Емкость конденсаторов С1...С4 подбирают при налаживании схемы. Величина емкости должна быть не менее С = 36t/R, где t — время выключения тринистора, R — сопротивление нагрузки.
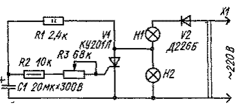
Переключатель гирлянд на одном тринисторе
Переключатель гирлянд на одном тринисторе для одной гирлянды можно собрать по следующей схеме (рис. IX.4, а).
Резисторы, электролитический конденсатор и тринистор составляют замкнутую ячейку, работающую "на себя".
Элементы R1C1 образуют времязадающую цепь. В первоначальный момент после включения устройства в сеть тринистор закрыт и гирлянда HI не горит. Конденсатор С1 заряжается через резистор R1, и при определенном напряжении на нем тринистор открывается. Гирлянда загорается, одновременно конденсатор разряжается через резистор и открытый тринистор. Тринистор закрывается, гирлянда вновь гаснет. Процесс повторяется.
Гирлянду составляют из последовательно соединенных ламп с током потребления не более 0,4 А. При большем токе следует установить диод V2 более мощный, например Д242Б, а также применить тринисторы КУ202Л (М, Н).
При незначительном усовершенствовании схемы можно использовать переключатель для двух гирлянд с регулировкой длительности свечения (см. рис. IX 4, б).
Полного погасания каждой гирлянды во время паузы можно достичь, если гирлянду HI выбрать со значительно большим током потребления.
Переключатель гирлянд с плавным включением
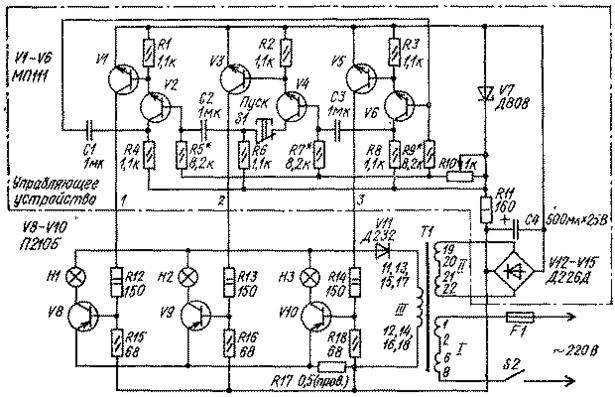
Принцип работы устройства (рис. IX. 1) основан на взаимодействии двух близких по частоте напряжений - электроосветительной сети (50 Гц) и получаемых от мультивибратора импульсов для управления транзисторными ключами в цепях питания гирлянд.
Световой поток и яркость свечения ламп изменяются с частотой, равной разности частот этих электрических сигналов. Моменты плавного загорания и погасания ламп в гирляндах сдвинуты во времени по отношению друг к другу, интервал между очередными загораниями и погасаниями ламп можно плавно регулировать в широких пределах - до 10 с и более. Управляющие импульсы формирует трехфазный мультивибратор (транзисторы VI-V6), питающийся напряжением от двухполупериодного выпрямителя (диоды V12-V15). Выпрямленное напряжение стабилизируется стабилитроном V7. Импульсы от мультивибратора подаются на силовые транзисторные ключи V8, V9, V10, в коллекторные цепи которых включены гирлянды ламп HI-Н2. Поочередно на 1/3 периода следования управляющих импульсов группы транзисторов VI, V2 и V8, V3, V4 и V9, V5, V6 и V10 переключаются из открытого состояния в закрытое. Переменным резистором R10 устанавливают желаемую частоту повторения управляющих импульсов. Для надежного запуска мультивибратора введена кнопка S1 Пуск.
Лампы накаливания в гирляндах соединяют параллельно или последовательно, в зависимости от их номинальных напряжений и тока накала. Силовые цепи, состоящие из транзисторных ключей V8-V10 и их нагрузок - гирлянд питаются пульсирующим напряжением от выпрямителя на диоде V11. Ток через лампы гирлянд протекает только при совпадении напряжений питания силовых цепей и управляющих импульсов тока в базовых цепях транзисторов V8, V9, V10. Ввиду разницы их частот происходит смещение во времени моментов загорання и погасания ламп и плавное изменение яркости их свечения.
Желаемую периодичность загорания и погасания гирлянд устанавливают переменным резистором R10 управляющего устройства. Если частота пульсаций светового потока окажется больше, чем требуется, подбирают резисторы R5*, R7* и R9*.
В блоке питания использован трансформатор ТА 163-127/220-50 (мощностью 86 Вт), выполненный на магнитопроводе ШЛ20 X 40. Согласно паспортным данным в режиме номинальной нагрузки напряжения обмоток 11-12 и 13-14 при токе 0,68 А и обмоток 15-16 и 17-18 при токе 0,71 А равны 28 В, а обмоток 19-20 и 21-22 при токе 0,71 А - 6 В. Каждая из гирлянд составлена из 10 ламп МН30-0,1 (на напряжение 30 В и ток 0,1 А). Транзисторы П210Б и диоды Д232 работают без теплоотводящих радиаторов.
Транзисторы П210Б можно заменить близкими им по максимальному току коллектора, напряжению между коллектором и базой, обратному току коллектора и статическому коэффициенту передачи тока базы. Допустимое напряжение между эмиттером и базой транзисторов V2, V4 и V6 управляющего устройства должно быть не менее 10 В.
Используя в силовой цепи кремниевые транзисторы, резистор R17 можно исключить, при этом сопротивления резисторов R15, R16, R18 могут быть больше в два раза.
Питающее устройство
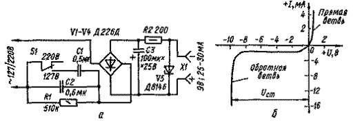
Питающее устройство представляет собой сочетание двухполупериодного выпрямителя и параметрического стабилизатора напряжения на стабилитроне.
Выходное напряжение устройства 9 В при токе 25-30 мА. Гасящие конденсаторы С1 и С2 определяют величину тока, потребляемого устройством от сети. Конденсатор СЗ служит фильтром для сглаживания пульсаций), а резистор R2 и стабилитрон V5 образуют параметрический стабилизатор напряжения.
Детали. Диоды типа Д226; стабилитрон Д814Б или Д809; конденсаторы С1, С2 типов КБГ, БМТ.
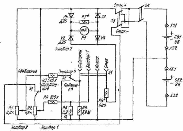
Прибор для проверки полевых транзисторов
Прибор позволяет проверять работоспособность полевых транзисторов с p-n-переходом, с изолированным затвором и встроенным каналом (обедненный тип), а также одно- и двухзатворных транзисторов с изолированными затворами и индуцированным каналом (обогащенный тип).
Переключателем S3 устанавливают, в зависимости от типа испытуемого транзистора, необходимую полярность напряжения на стоке. Для проверки транзисторов с затвором в виде p-n-перехода и транзисторов с изолированным затвором и встроенным каналом переключатель S1 устанавливают в положение Обеднение, a S2 - в положение Подложка.
Для проверки транзисторов с изолированными затворами и индуцированным каналом переключатель S1 переводят в положение Обогащение, a S2 - в положение Подложка для однозатворных и Затвор 2 для двухзатворных транзисторов.
После установки переключателей в нужные положения к гнездам разъема XI подключают проверяемый транзистор, включают питание и, регулируя переменными резисторами R1 и R2 напряжения на затворах, наблюдают за изменением тока стока.
Резисторы R3 и R4 ограничивают ток затвора в случае его пробоя или при ошибочной полярности напряжения на затворе (для транзисторов с затвором в виде p-n-перехода). Резисторы R5 и R6 исключают возможность накопления статических зарядов на гнездах разъема XI для подключения затворов. Резистор R8 ограничивает ток, протекающий через миллиамперметр P1. Мост (диоды VI-V4) обеспечивает требуемую полярность тока через измерительный прибор при любой полярности питающего напряжения.
Налаживание прибора сводится к подбору резистора R8*, обеспечивающего отклонение стрелки миллиамперметра на последнюю отметку шкалы при замкнутых гнездах Сток и Исток.
В приборе может быть использован миллиамперметр с током полного отклонения 10 мА или микроамперметр с соответствующим сопротивлением шунтирующего резистора R7*. Диоды V1-V4 - любые, маломощные, германиевые. Номинальное сопротивление резисторов R1 и R2 - в пределах 5,1...47 кОм.
Прибор питается от двух батарей "Крона" или от двух аккумуляторов 7Д-0,1.
Данным прибором можно измерять и напряжение отсечки (прибор Р1 должен быть на ток 100 мкА). Для этого параллельно гнездам Затвор 1 и Исток устанавливают дополнительные гнезда, к которым подключают вольтметр.
Последовательно с резистором R7* включают кнопку, при нажатии на которую шунтирующий резистор отключается. При нажатой кнопке устанавливают ток стока 10 мкА и по внешнему вольтметру определяют напряжение отсечки.
Приставка - ревун
















