63414 (633983), страница 3
Текст из файла (страница 3)
Этот вариант "откликающегося" брелока является результатом творческой переработки аналогичной конструкции, опубликованной а журнале "Радио" N1/1991 г. Описанный ранее брелок хорош лишь в том. случае, если в нем применены микросхемы серии К564. Однако работа с этими микросхемами требует определенных навыков, да и приобрести их намного сложнее, чем другие микросхемы аналогичной КМОП-серии.
Новый брелок намного проще прежнего, поскольку в нем можно применить не две, а одну микросхему и, разумеется, почти не изменяя габаритов устройства, выбрать ее из серий К176, К561. Правда, брелок вместо прерывистого выдает непрерывный сигнал, тем не менее он вполне справляется со своими "обязанностями".
Принципиальная схема брелока состоит из триггера-одновибратора (DD1.1, DD1.2), звукового генератора (DD1.3, DD1.4), усилителя на транзисторах (VT1, VT2) и приемника-излучателя звукового сигнала (BA1). Действует схема так. В состоянии "ожидания" на выводе 4 элемента DD1.1 присутствует сигнал низкого уровня, а на выводе 3 элемента DD1.2 — высокого. При поступлении с усилителя звукового сигнала триггер переключается. На выводе 4 элемента DD1.1 появляется сигнал высокого уровня, разрешая работу звукового генератора. Одновременно через резистор R7 заряжается конденсатор С2. По окончании времени t - 1/2R7C2 напряжение на входе 1 элемента DD1.2 падает до уровня переключения триггера, и брелок замолкает.
Налаживание схемы сводится к установке приемлемой чувствительности брелока. Для этого на время налаживания вместо R4 подключают подстроечный резистор сопротивлением 500 к. Уменьшая R4, находят такое критическое значение его сопротивления, при котором брелок звучит безостановочно. После этого ненамного увеличивают R4. Чем ближе R4 к критическому, тем чувствительнее брелок. После настройки подстроечный резистор заменяют постоянным.
Резисторы и конденсаторы схемы подбираются из соображений малогабаритности. Диод VD1 — с наименьшим прямым сопротивлением.
Транзисторы VT1, VT2 — с наибольшим коэффициентом усиления. Пьезокерамический излучатель ЗП-3 может быть заменен на ЗП-1, но при этом несколько увеличатся габариты устройства и потребляемый им ток в режиме звучания. В качестве источника питания могут применяться батареи из трех миниатюрных дисковых аккумуляторов или три батарейки от наручных часов. Печатная плата и компоновка элементов в устройстве могут быть различными, в зависимости от габаритов и конструкции применяемого для брелока корпуса.
Измеритель емкости на логических микросхемах
Измеритель емкости состоит из генератора импульсов (D1.1-D1.3), делителя частоты (D2-D4), электронного ключа (V1) и измерительной цепи (V2, R7 и Р1).
Принцип действия прибора основан на измерении среднего тока разряда измеряемого конденсатора, заряженного от источника прямоугольного напряжения. Генератор вырабатывает импульсы с частотой 100 кГц. В зависимости от выбранного диапазона переключателем S1 меняют коэффициент деления. Конденсатор С2 служит для калибровки прибора.
Питается прибор от стабилизированного источника напряжением 5 В.
Измеритель емкости электролитических конденсаторов
Электролитические конденсаторы в процессе эксплуатации и хранения изменяют свою емкость, поэтому иногда возникает необходимость измерения их емкости.
Принцип действия измерителя емкости конденсаторов от 3000 пФ - 300 мкФ основан на измерении пульсирующего тока, протекающего через конденсатор. Переменная составляющая этого тока пропорциональна емкости конденсатора.
Нижняя граница емкости измеряемых конденсаторов ограничивается чувствительностью измерителя тока; верхняя - постоянной времени цепи разряда исследуемого конденсатора и резистора, включаемого последовательно с ним.
Конденсатор Со - калибровочный. Перед измерением замыкают контакты переключателя S3 и резистором R7 устанавливают стрелку прибора на отметку соответствующую емкости образцового конденсатора.
Переменный ток получают однополупериодным выпрямлением пониженного сетевого напряжения. Трансформатор Т1 - сетевой, от любого лампового вещательного приемника. Он должен иметь накальную обмотку на напряжение 6,3 В и ток не менее 1 А. Мощность рассеяния резистора R1 не менее 5 Вт. Необходимы два предохранителя - один в цепи питания, второй защищает стрелочный прибор в случае замыкания клемм, к которым подключают конденсатор Сх, или при пробое проверяемого конденсатора.
Имитатор шума прибоя
Имитатор шума прибоя можно выполнить по схеме, показанной на рисунке.
Имитатор выполнен в виде приставки, подключаемой к усилителю звуковой частоты. Источником шумового сигнала служит кремниевый стабилитрон VI, работающий в режиме лавинного пробоя при малом обратном токе. На транзисторах V2-V4 выполнен усилитель с переменным коэффициентом усиления, служащий для усиления шумового сигнала. Изменение коэффициента усиления производится транзистором V5, включенным в цепь эмиттера транзистора V4, путем подачи на базу V5 через интегрирующую цепь R8C4 управляющего напряжения. Это напряжение вырабатывается симметричным мультивибратором на транзисторах V6 и V7. Таким образом, на выходе шумовой сигнал будет периодически нарастать и спадать, имитируя шум прибоя. К гнездам "Выход" можно подключать высокоомные головные телефоны. В имитаторе применены транзисторы типа КТ351Д.
Имитатор шума дождя
По принципу работы такой имитатор соответствует ранее описанному имитатору шума "прибоя".
Генератор шума выполнен на транзисторе V2 и стабилитроне VI. Генератор импульсов, выполненный на транзисторах V5 и V6, вырабатывает импульсы с частотой 1...3 Гц, которые поступают на базу транзистора V4 и изменяют коэффициент усиления транзистора V3, в результате чего на выходе появляется то нарастающий, то спадающий шум, уровень которого регулируется переменным резистором R3, а тембр - подбором конденсатора С2.
Детали. В схеме применены транзисторы V3-V6 типа КТ315, V2 типов КТ602А-КТ602Г, КТ603А- КТ603Д. Стабилитрон подбирают по наибольшему уровню шума на выходе имитатора.
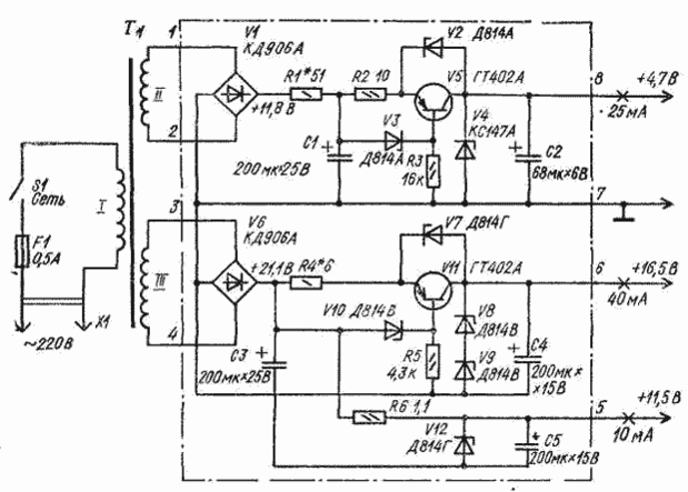
Источник питания для измерительного прибора на микросхемах
Питание несложных измерительных приборов (авометров, генераторов и пр.) можно осуществить от несложного источника питания.
Особенность этого блока питания состоит в том, что сетевой трансформатор вместе с балластными цепями R3C1 и R1C2 работает в режиме генератора тока, т. е. обладает большим внутренним сопротивлением. Это позволило непосредственно после выпрямителя (V2-V5) включить стабилитрон V1 и таким образом осуществить первую ступень стабилизации напряжения. Дальнейшая стабилизация происходит в электронном стабилизаторе на транзисторах V6-V9. В качестве опорного источника использован эмиттерный переход транзистора V8. Регулирующий каскад собран на транзисторах V6, V7, V9, включенных по схеме составного эмиттерного повторителя. Керамический конденсатор С6 предназначен для снижения выходного сопротивления стабилизатора на высоких частотах.
Трансформатор Т1 имеет магнитопровод Ш10 X 15. Обмотка I содержит 2600 витков, а обмотка II - 1300 витков провода ПЭЛ-2- 0,08.
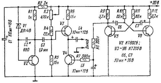
Источник питания для измерительных приборов
Современные измерительные приборы могут быть собраны на транзисторах, операционных усилителях и цифровых микросхемах. Для питания таких приборов необходимо иметь источник напряжения, обеспечивающий минимум три напряжения: 5; 12 и 20 В. Один из вариантов такого источника питания обеспечивает близкие к упомянутым значениям напряжения.
Стабилизаторы на транзисторах V5 и VII снабжены защитой от короткого замыкания посредством стабилитро нов V2 и V7. При коротком замыкании стабилитроны открываются и ограничивают коллекторный ток транзисторов. После устранения короткого замыкания устройство автоматически возвращается в рабочий режим.
В схеме использован готовый трансформатор ТВК-110ЛМ-К (выходной трансформатор кадровой развертки от телевизоров). Диодные матрицы VI и V6 можно заменить диодами Д226, Д237 и др.
Налаживают блок питания подбором резисторов RI и R4 до получения номинального тока в нагрузке.
Малогабаритный выпрямитель
Малогабаритный выпрямитель предназначен для питания транзисторного приемника.
| Основные параметры | |
| Ток нагрузки, мА | 70 |
| Напряжение на выходе, В | 9 |
| Коэффициент стабилизации | 100 |
| Напряжение пульсаций, мВ | 5 |
Стабилизатор выпрямителя защищен от перегрузок вовремя короткого замыкаиия на выходе или в нагрузке. Для уменьшения габаритов трансформатор Т1 выполнен на сердечнике из пластин Ш6 при толщине набора 40 мм. Обмотка I содержит 3200 витков провода ПЭВ-1 - 0,1 с прокладками из конденсаторной бумаги через каждые 500 витков, обмотка II имеет 150 витков ПЭВ-1 -0,2. Между обмотками I н II намотан один слой провода ПЭВ-1 - 0,1, служащий экраном. Максимальный ток нагрузки (до 120 мА) можно увеличить, если вместо транзистора МП16 (V5) установить П213, резисторы R1, R2 и R3 заменить соответственно на резисторы сопротивлением 220 Ом, 2,2 кОм и 820 Ом, а трансформатор TI заменить на более мощный с напряжением в обмотке II 12…14 В (ТВК от телевизора).
Маломощный блок питания
Маломощный блок питания предназначен для питания от сети портативных транзисторных приемников, измерительных приборов и других маломощных устройств.
Трансформатор Т1 имеет коэффициент трансформации равный 1 и служит только как разделительный для создания безопасности пользования блоком питания. Ограничителем сетевого напряжения служил цепочка R1C1. В таблице приведены данные для двух вариантов исполнения блока питания.
| Обозначение | Вариант 1 | Вариант 2 |
| T1 | Сердечник 6,5х10, окно 25х11 мм. Обмотки содержат по 850 витков провода ПЭЛ диаметром 0,22 мм. | Сердечник Ш6х8, окно 6х15 мм. обмотки содержат по 1100 витков провода ПЭЛ диаметром 0,12 мм. |
| C1 | 2,0х300 В | 0,5х300 В |
| V1 | Д815Г | Д814Г |
| V2 | Д815Г | Д814Г |
| R2 | 51 Ом 0,5 Вт | 150 Ом 0,25 Вт |
| C2 | 400,0х15 В | 80,0х15 В |
В первом из них на выходе блока при напряжении 9 В можно питать нагрузку, потребляющую 50 мА; во втором варианте при том же напряжении на выходе можно получить ток до 20 мА. В первом варианте блока сердечник трансформатора стержневой, его набирают из Г-образных пластин Обмотки размещают на противоположных стержнях. Если при приеме мощных станций будет прослушиваться фон переменного тока, следует перевернуть вилку XI в сетевой розетке либо заземлить общий плюсовой провод блока.
Мелодичный звонок















