63414 (633983), страница 5
Текст из файла (страница 5)
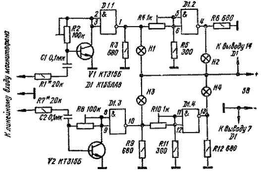
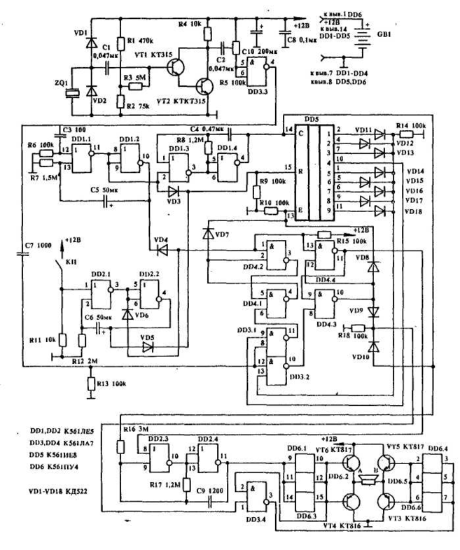
Это охранное устройство также существенно отличается от ранее опубликованных. В качестве датчика используется пьезоэлемент от звукоснимателя (или керамический излучатель ЗП-1), прижатый или приклеенный (лучше не полностью, а только с одного конца) к корпусу замка, дверце, кузову автомобиля или другому охраняемому объекту.
Датчиков может быть несколько, включенных параллельно. Если устройство включено и находится в дежурном режиме, то первый легкий удар металлическим предметом по объекту (попытка открыть ключом или отмычкой замок, отвинтить колесо и т.д.) вызовет пакет импульсов напряжения на датчике Д. Усилившись транзисторами VT1, VT2, пройдя через регулятор чувствительности R5 и инвертор D3.3, первый импульс пакета запускает одновибратор на Dl.l, D1.2. На выводе 11 D1.1 появляется лог "О", который запускает генератор секундных импульсов на элементах D1.3, D1.4. Эти импульсы поступают на вход "С" D5. Счетчик переключается, и на выходах 1-9 поочередно появляются лог. "1".
Если второй удар произойдет в течение той секунды, когда лог. "1" находится на выходе 4, то лог. "О" с вывода 11 D3.1 опрокинет RS триггер на элементах D4.1, D4.2. На входе Е" счетчика появится лог. "1", запрещающая счет на все время действия импульса одновибратора (около 1 мин.). За это время хозяин откроет замок и отключит сигнальное устройство. Если же второй удар произойдет в другое время, то опрокинется триггер на элементах D4.3, D4.4, счетчик тоже остановится, и одновременно включится сирена на элементах D2.3, D2.4, D6 и VT3 - VT6. Основной тон сирены изменяется под воздействием секундных импульсов.
Когда закончится импульс одновибратора, сирена выключится, а на вход "R" счетчика поступит лог. "1", которая сбросит счетчик в начальное состояние. Одновременно лог. "О" с вывода 10 D1.2 через диод VD4 также установит оба RS триггера в начальное состояние и устройство перейдет в дежурный режим.
Одновибратор на элементах D2.1, D2.2, запускаемый нажатием кнопки КН, блокирует работу счетчика и делает невозможным включение сирены на время чуть больше минуты. Это необходимо для "бесшумного" закрывания двери. Секундные импульсы, поступающие через диод VD10 на усилитель сирены, вызывают щелчки в громкоговорителе, облегчая хозяину отключение сирены. Элемент D3.4 переводит ее в дежурном режиме в выключенное состояние, снижая потребляемый ток до 0,5 -1мА.
Охранное устройство монтируется на печатной плате. Расположение деталей приведено здесь. При монтаже следует защищать микросхемы от статического электричества. Вывод 9 микросхемы D3.1 можно присоединять к любому из 9 выходов D5, задавая свой вариант "ключа". Все остальные выходы нужно соединить через диоды, как показано на схеме. Готовая плата, вместе с батареями, устанавливается в подходящем по размерам корпусе. Кнопка КН и выключатель питания монтируются сверху на корпусе.
Если приставка используется для охраны квартиры, то в двери сверлятся несколько десятков отверстий (3-6 мм), закрываются металлической сеткой (или пластинкой с такими же отверстиями), а на нее прикрепляется динамическая головка. Корпус устройства прикрепляется к двери около излучающей головки. Пьезоэлемент соединяется с конструкцией экранированным или витым проводом.
Вместо микросхемы К561ПУ4 можно использовать К176ПУЗ, взамен остальных из серии 561 — такие же из серий 176, 164 или 564. Собранное из исправных деталей устройство в наладке не нуждается. Нужно только установить резистором R5 необходимую чувствительность. При несильном уда-' ре ключом по замку или попытке вставить его в скважину, должен включиться генератор импульсов и должны начать раздаваться щелчки с частотой 2 Гц. Это значит, что устройство перешло в режим ожидания второго удара. Если все сделано так, как на схеме, то отключить сирену можно, ударив по замку после 8-го щелчка, то есть через 4 секунды. Удар в другое время включит сирену. Чтобы еще усложнить "работу" вору, можно убрать щелчки, удалив диод VD10, но тогда хозяину необходимо будет выдерживать секундный ритм самому.
Не следует устанавливать высокую чувствительность, чтобы избежать ложных срабатываний устройства.
Порядок работы устройства следующий.
ВКЛЮЧИТЕ ПРИСТАВКУ И НАЖМИТЕ КНОПКУ.
ВЫЙДИТЕ ИЗ ДОМА И ЗАКРОЙТЕ ДВЕРЬ (у Вас только одна минута!).
ВОЗВРАТИВШИСЬ, УДАРЬТЕ КЛЮЧОМ ПО ЗАМКУ, ОТСЧИТАЙТЕ НУЖНОЕ КОЛИЧЕСТВО ЩЕЛЧКОВ И СНОВА УДАРЬТЕ ПО ЗАМКУ.
ОТКРОЙТЕ ДВЕРЬ И ЗАЙДИТЕ В ДОМ (для отключения тревожного звонка у Вас только 1 минута).
Охранное устройство можно не выключать, тогда Вы будете находиться под охраной и дома, энергии батареек хватит на несколько месяцев.
Простая цветомузыкальная приставка
Простая цветомузыкальная приставка, предложенная А. Полозовым, может быть установлена на передней панели стереофонического магнитофона, электрофона или радиоприемника.
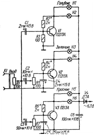
Приставка выполнена на двух транзисторах, одной логической микросхеме и четырех миниатюрных лампах накаливания. Сигналы, поступающие через резисторы R1, R7 и конденсаторы C1, С2 на вход устройства, усиливаются транзисторами VI и V2 и подаются на входы инверторов D1.1 и D1.3, в выходную цепь которых включены лампы накаливания HI и НЗ. Выходы этих инверторов через резисторы R4, R10 подключены к выходам инверторов D1.2 и D1.4, нагруженных лампами накаливания Н2 и Н4. При зажигании лампы HI лампа Н2 гаснет, при зажигании НЗ гаснет Н4 и наоборот. Таким образом, при поступлении на вход сигнала лампы HI, Н2, НЗ, Н4 как бы перемигиваются с частотой звукового сигнала. Лампы устанавливают за светорассеивающим экраном размером 650 X 50 мм, окрашивают соответственно в красный, синий, желтый и зеленый цвета.
Детали: лампы накаливания СМН-6,3-20; постоянные резисторы МЛТ-0,25, подстроечные — СПО-0,5 или СП-0,4; конденсаторы С1 и С2 — КМ или МБМ. Настройка сводится к регулировке резисторов R2 и R8 так, чтобы без сигнала лампы HI и НЗ находились у порога зажигания. Резисторами R4 и R10 добиваются гашения ламп Н2 и Н4 при полном свечении HI и НЗ.
Простая цветомузыкальная приставка
Простая цветомузыкальная приставка предназначена для работы с ламповым радиоприемником или магнитофоном. Подключают ее ко вторичной обмотке выходного трансформатора. Для питания используется выпрямленное диодом V4 переменное напряжение обмотки накала ламп (6,3 В).
Приставка - трехканальная. Канал на транзисторе V1 усиливает составляющие высших частот, на транзисторе V2 - средних, на транзисторе V3 - низших. Разделение спектра частот входного сигнала осуществляется простейшими фильтрами R3C1, R5C2C4 и R7C3C5. Нагрузками транзисторов служат миниатюрные лампы накаливания МН6,3-0,28, окрашенные в голубой, зеленый и красный цвета.
Переменными резисторами R5 и R7 балансируют яркость свечения с учетом спектра реального музыкального сигнала, переменным резистором R1 регулируют минимальную яркость свечения всех ламп при выбранной громкости звуковоспроизведения.
Налаживание начинают с подбора резисторов R2*, R4* и R6* (на это время их желательно заменить переменными резисторами сопротивлением 6,8... 10 кОм), Сопротивления резисторов должны быть такими, чтобы в отсутствие сигнала нити накала ламп HI-Н6 едва заметно светились. Добившись этого, движки резисторов R5, R7 устанавливают в среднее положение и подают на вход сигнал со вторичной обмотки выходного трансформатора. Установив регуляторами приемника или магнитофона нормальную громкость звучания и максимальный подъем высших частот, перемещают движок резистора R1 до тех пор, пока лампы HI, H2 не начнут вспыхивать в такт с музыкой. В последнюю очередь переменными резисторами R5 и R7 добиваются такого же яркого свечения ламп НЗ, Н4 и Н5, Н6.
Простой стабилизатор напряжения
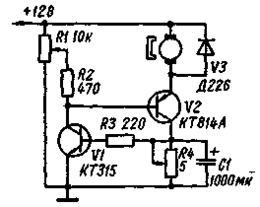
Питание современной аппаратуры на транзисторах и особенно на микросхемах требует стабилизированного источника. В одном из вариантов стабилизатора (рис VIII 22) выходное напряжение регулируют резистором R2 в пределах от 1 до 14 В при токе до 1 А.
Выходное сопротивление стабилизатора около 0,3 Ом, коэффициент стабилизации равен примерно 40, а напряжения пульсаций (при двухполупериодном выпрямлении первичного напряжения) не превышают 0,028 В. Стабилизатор защищен от перегрузки, автоматически возвращаясь в рабочий режим при снятии последней. Порог ограничения устанавливают резистором R3.
Статический коэффициент передачи по току регулирующего транзистора должен быть не менее 70, и этот транзистор необходимо установить иа радиатор с эффективной площадью поверхности не менее 150 см2.
Регулятор частоты вращения вала микроэлектродвигателя
Регулятор частоты вращения вала микроэлектродвигателя постоянного тока позволяет регулировать и стабилизировать обороты вала двигателя при изменении нагрузки.
Микроэлектродвигатель включен в эмиттерную цепь транзистора V2. Сигнал обратной связи снимается с низкоомного резистора R4 и поступает в цепь базы транзистора VI. При увеличении нагрузки возрастает ток электродвигателя и увеличивается напряжение на резисторе R4. Это приводит к увеличению тока транзистора V2 и увеличению тока базы транзистора VI, что увеличивает напряжение на электродвигателе, и мощность на его валу возрастает. При уменьшении нагрузки описанные процессы повторяются в обратном порядке. Частоту вращения электродвигателя устанавливают в режиме холостого хода переменным резистором R1, изменяя смещение на базе транзистора V2. Резистором R4 устанавливают пределы, в которых может изменяться мощность на валу при сохранении числа оборотов.
Детали. Транзистор VI типа КТ315Б, выбор транзистора V2 (например, КТ814В) зависит от величины питающего напряжения и рабочего тока микроэлектродвигателя; диод V3 типа КД510А.
Сенсорный датчик
Сенсорные переключатели позволяют существенно приблизить устройства коммутации к переключаемым цепям. Это существенно упрощает получение низкого уровня фона, обеспечивает высокую помехозащищенность и предоставляет конструктору большую свободу в компоновке проектируемого аппарата. На рисунке показана схема сенсорного датчика, предложенная А. Соболевым.
Для управления датчиком используется наведенное на тело человека переменное напряжение, поступающее на базу транзистора VI, работающего в режиме детектирования сигналов. Выпрямленное напряжение наводки поступает на усилитель тока, собранный на транзисторах V2 и V3. В качестве коллекторной нагрузки транзистора V3 используется обмотка К1 реле, которое срабатывает в результате прикосновения к выводу конденсатора С1. Потребляемый ток устройства в дежурном режиме 0,2 мА.
Детали: транзисторы указанных на схеме типов со статическим коэффициентом передачи тока 80...100; реле — РЭС-10 (паспорт РС4, 524.303) или РЭС-9 (паспорт РС4.524.202); конденсаторы С1-К10-7В, С2-МБ; резисторы — МЛТ-0,125.
При удалении сенсорного датчика от устройства его следует подключать экранированным или свитым в жгут двойным проводом. Оплетку экранированного провода заземляют.
Слуховой аппарат
Слуховой аппарат предназначен для людей с пониженным слухом.
Он имеет следующие параметры:
коэффициент усиления 5000,
рабочая полоса частот 300—7000 Гц,
напряжение на выходе при сопротивлении нагрузки 60 Ом 0,5 В,
максимальный потребляемый ток 20 мА.















