63414 (633983), страница 9
Текст из файла (страница 9)
Сенсор Е1 в виде алюминиевой заклепки, резистор R1 (он может быть сопротивлением от 1 до 10 МОм) и тиратрон размещены в небольшом корпусе, укрепленном на входной двери снаружи. Для контроля срабатывания сенсора напротив тиратрона в корпусе просверлено отверстие. В момент касания «кнопки-заклепки тиратрон ярко вспыхивает.
Налаживание сенсорного устройства сводится к установке переменным резистором R5 напряжения 170 В на оксидном конденсаторе при минимальном сетевом напряжении (180 В) — такое напряжение можно подать, например, с автотрансформатора.
Подключать налаженное устройство к сети следует в строгом соответствии со схемой после определения нулевого и фазного проводов.
Источник: РАДИО № 6-90 г.,с.77.
Автор: А.Урмилов г.Новгород-Волынский Житомирской обл.
Емкостное реле
Охранная сигнализация, переключатели для бытовых устройств, датчики контроля на производственном конвейере — вот лишь небольшая часть сферы применения этого емкостного реле. Его можно использовать, к примеру, в простейшей бытовой автоматике: сел в кресло — включился торшер, заиграла музыка, заработал вентилятор и т.п. Словом, область применения этого реле подскажет фантазия, творческая мысль самих радиолюбителей.
Радиус действия реле зависит от точности настройки конденсатора С1, а также от конструкции датчика. У автора максимальное расстояние, на которое реагирует реле, равно 50 см.
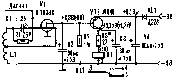
Принципиальная схема емкостного реле приведена на рис.1, а конструкция индуктивной катушки с размещением ее и датчика на плате — на рис.3.
Катушка L1 намотана на многосекционном полистироловом каркасе от контуров транзисторных радиоприемников и содержит 500 витков (250 + 250) с отводом от середины провода ПЭЛ-0,12мм. Намотка — внавал.
Датчик устанавливается перпендикулярно плоскости печатной платы. Он представляет собой отрезок изолированного монтажного провода длиной от 15 до 100 см, либо квадрат, выполненный из такого же провода, со сторонами от 15 см до 1м.
Емкостное реле
Автоматическое устройство можно использовать в различных моделях, игрушках, которые при встрече с препятствиями будут изменять свое движение, а также в быту (сел, к примеру, в кресло - зажегся свет в торшере, заиграла музыка, заработал вентилятор); для включения света в помещениях (коридоре, комнате, кладовой); для сигнализации автомобилей.
Данное устройство в радиусе 4-5 м помех не создает, имеет небольшие размеры (85х30 мм), питается от источника постоянного тока напряжением 9-12 В, потребляя ток в исходном состоянии около 7 мА, а при срабатывании реле - до 45 мА.
Принципиальная схема емкостного реле - на рис.1. На транзисторе VT1 собран маломощный генератор с рабочей частотой 465 кГц, а на триоде VT2- электронный ключ для включения реле К1, контактная система которого подключает исполнительный механизм. Диод VD1 предохраняет устройство от случайного изменения полярности подключаемого источника питания.
Дальность действия емкостного реле, то есть его чувствительность, зависит от настройки конденсатора С1 и конструкции датчика, и доходит до 50 см.
Рис. 1
Конструкция и детали. Емкостное реле собрано на печатной плате, изготовленной из одностороннего фольгированного стеклотекстолита или гетинакса размером 85х30 мм (рис.2). Катушка L1 намотана на полистироловом каркасе от контуров ДВ (длинных волн) транзисторных радиоприемников либо на самодельном каркасе диаметром 7 мм, изготовленном из бумаги или другого изоляционного материала (рис.3). Расстояние между "щечками" 1,5-2 мм. Катушка содержит 1100 витков (550+550) с отводом от середины провода марки ПЭЛ или ПЭВ 0,06. Намотка внавал между "щечками" каркаса.
В качестве датчика используется отрезок изолированного провода 1,5-2 мм, длиной от 15 до 100 см, либо квадрат или квадратная решетка, выполненные из провода, со стороной от 15 до 100 см.
Датчик и печатная плата находятся в непосредственной близости друг от друга, причем провод либо плоскость антенны установлены перпендикулярно площадке печатной платы. "Минус" источника питания необходимо соединить с корпусом (металлическим) конструкции, в которой будет применяться данное емкостное реле.
Резисторы, диод и катушка L1 установлены на печатной плате вертикально.
Параметры радиоэлементов, применяемых в устройстве, некритичны. Подстроечный конденсатор - КПК-М, но можно применить и другой тип с интервалом изменения емкости от 3 до 30 пф. Оксидные конденсаторы С2-С4 применены марки К50-6, но можно использовать и другие типы, только придется видоизменить под них топологию печатной платы. Емкости С2, С3-от 20 до 30, С4- от 50 до 1000 мкФ.
Диод Д226 может быть с любым буквенным индексом. Можно также применить другой полупроводниковый прибор, рассчитанный на прямой ток до 100 мА. Транзисторы: VT1- полевой, марки КП303, VT2-биполярный p-n-p типа марки МП40 с любыми буквенными индексами. Вместо последнего подойдут также серии П13, П14, П15, П16, МП39, МП41, МП42 с любыми буквенными индексами.
К1-реле РЭС10 (паспорт РС4.524.303). Вместо него можно подключить малогабаритный электромотор для игрушек.
Резистор R1- любого типа сопротивлением от 6,8 до 7,5 МОм. R2- от 820 кОм до 1,1 МОм. Величину резистора R3 подбирают в пределах от 0 до 30 Ом в зависимости от тока срабатывания реле или электромотора.
Питать устройство в стационарных условиях лучше всего от сетевого выпрямителя на 9 В, рассчитанного на ток до 100 мА.
Налаживание. Подсоедините к плате датчик и источник постоянного тока напряжением 9-12 В, соблюдая полярность. Изолированной отверткой установите ротор конденсатора С1 в положение минимальной емкости (6 пФ) - при этом сработает реле. Затем медленно вращайте ротор С1 в сторону увеличения емкости до момента выключения К1 (при настройке С1 старайтесь держаться как можно дальше от датчика).
Поднося руку к датчику, испытайте чувствительность емкостного реле до момента самосрабатывания (чем меньше емкость С1, тем больше чувствительность устройства).
Рис. 2
Рис. 3
Источник: Моделист-Конструктор №1, 1991 г., стр.23
Автор: В. ТАБУНЩИКОВ, г. Новороссийск
Защита электроосветительных приборов
В статье «Мягкая» нагрузка в электросети («Радио», 1988, № 10, с. 61) описано устройство для «плавного» подключения нагрузки к электросети переменного тока. Подобные устройства с успехом могут быть применены для коммутации электроосветительных приборов. Как известно, сопротивление нити лампы накаливания в холодном состоянии значительно меньше, чем в нагретом. Именно поэтому лампы накаливания чаще всего выходят из строя в момент включения. При «мягком» подключении лампы ток через нить увеличивается плавно, не достигая экстремального значения, поэтому долго вечность лампы неизмеримо возрастает. Однако реализация упомянутых устройств сопряжена с рядом затруднений. Во-первых, требуется применение оксидных конденсаторов большой емкости, которые в целях безопас ности должны быть рассчитаны на напряжение не менее 400 В. Это приводит к существенному увеличению габаритов устройства. Во-вторых, тот факт, что выключатель встроен в само устройство, заставляет прокладывать дополнительные подводящие провода. Во многих случаях это усложняет конструкцию, так как пользоваться имеющимся выключателем готового осветительного прибора. (например, торшера или люстры с кнопкой, смонтированной на шнуре питания) оказывается, как правило, невозможно. Обойти перечисленные трудности позволяет устройство, описанное ниже. Оно (см. схему) выполнено в виде дву-полюсника. Это позволяет разместить плату с его деталями в любом удобном месте, включив в разрыв провода, соединяющего выключатель SA1 (пригоден имеющийся в осветительном приборе) с лампой HL1 (или группой параллельно включенных ламп). Устройство допускает совмещение с настенным выключателем — может быть «спрятано» внутри люстры, при этом не нужны никакие
Применение транзистора КТ848А, обладающего большим статическим коэффициентом передачи тока и значительной мощностью, дало возможность обойтись конденсатором С 1 сравнительно небольшой емкости. К тому же этот транзистор (он применяется в электронном коммутаторе 36.37.34 бесконтактной системы зажигания автомобилей «Самара» и «Таврия») нетрудно приобрести в магазинах автомобильных запасных частей. Он относится к числу так называемых «составных», поэтому может работать при сравнительно небольшом базовом токе, что и дало возможность использовать резистор R1 довольно большого сопротивления и соответственно уменьшить емкость конденсатора С1. Это позволило сократить габариты устройства. При указанных на схеме типах и номиналах деталей длительность задержки включения лампы HL1 равна примерно 100 мс, а выключения — 5 мс. Это гарантирует необходимую постепенность прогрева нити лампы при любом возможном характере коммутации тока выключателем SA1. Между прочим, установленная временная задержка включения лампы совершенно незаметна, зрительно зажигание лампы будет происходить по-прежнему практически мгновенно.
При мощности лампы до 100 Вт транзистор VT1 можно монтировать без теплоотвода. При ее большем значении (максимальная допустимая мощность 300 Вт) потребуется небольшой теплоотвод. Диоды КД202К можно заменить на другие этой же серии с бук венным индексом от Л до С. В ряде случаев конструктивно удобнее использовать диодные матрицы серии К Ц, подходящие по напряжению и току. Описанное устройство эксплуатируется автором в освети тельной люстре уже несколько лет, причем за это время не потребовалось-замены ни одной из ламп. При необходимости коммутации ламп еще большей мощности в качестве защитного устройства можно использовать тринисторный регулятор мощности, собранный по одной , из известных схем. Переменный резистор регулятора надо заменить цепью, находящейся на показанной здесь схеме между общей точкой катодов диодов VD1, VD3 и общей точкой анодов диодов VD2, VD4; сами диоды не нужны. При этом рабочее напряжение конденсатора может быть уменьшено, а транзистор VT1 может быть заменен маломощным низковольтным, но с возможно большим коэффициентом передачи тока. Важно лишь, чтобы они были рассчитаны на напряжение стабилизации стабилитрона, применяемого обычно в регуляторах мощности с фазо- импульсным регулированием. Лампа HL1 должна при этом быть включена в цепь переменного тока (последовательно с диодным мостом или симистором).
Источник: РАДИО № 12-90г., с.53
Автор: В.БАННИКОВ г.Москва
Регулятор сетевого напряжения
В последнее время в нашем быту все чаще применяются электронные устройства для плавной регулировки сетевого напряжения. С помощью таких приборов управляют яркостью свечения ламп, температурой электронагревательных приборов, частотой вращения электродвигателей.
Подавляющее большинство регуляторов напряжения, собранных на тиристорах, обладают существенными недостатками, ограничивающими их возможности. Во-первых, они вносят достаточно заметные помехи в электрическую сеть, что нередко отрицательно сказывается на работе телевизоров, радиоприемников, магнитофонов. Во-вторых, их можно применять только для управления нагрузкой с активным сопротивлением - электролампой или нагревательным элементом, и нельзя использовать совместно с нагрузкой индуктивного характера - электродвигателем, трансформатором.
Между тем все эти проблемы легко решить, собрав электронное устройство, в котором роль регулирующего элемента выполнял бы не тиристор, а мощный транзистор.
















