слайды циклов обр (1253023), страница 10
Текст из файла (страница 10)
К смещение – припуск под чистовую обработку по Z
Q G-функция Подвод: G - функция, с которой выполняется подвод
Q=0: Подвод с GO
Q=1: Подвод с G1
V выход из материала
V=0: возврат к точке старта в Z последнего диаметра в X
V=1: возврат к точке старта
а) б)
Рис.9.64 Пример цикла чернового продолного, поперечного точения «снятием стружки» (G70,G71)
а) Цикл «снятие стружки продольно» G70,
б) Цикл «снятие стружки поперечно» G71.
.
9.7.2.2. Циклы чернового продольного, поперечного точения «контурной обработкой резанием» (G817,G818).
Циклы (G817,G818) позволяют выполнять черновую обработку более сложных по форме участков с учетом припусков (рис.9.65,а,б). Описание контура происходит в цикле через параметры.
С помощью циклов G817,G818 задается следующая последовательность движений:
-
рассчет распределения проходов (подвод)
-
подвод инструмента из «Х, Z» для первого прохода
-
перемещение инструмента с подачей к «конечной точке Z2», или к
«конечной точке Х2» или к избираемому элементу контура -
в зависимости от знака числа «Р»:
Р>0: снимает стружку вдоль контура
Р<0: инструмент поднимается под углом 45°
-
возвращение инструмента и подвод заново
-
повтор пунктов 3…5, пока не достигается «Х1» или «Z1»
-
возвращение инструмента параллельно к оси к точке старта
Общий формат
G871 X1…Z2…[P][H][K][I]
Пример (G817, G818) (см. рис.9.65,а,б)
| % 817. nc | ||||||
| [G817, G818] | ||||||
| N1 | ТЗ | G95 | F0.25 | G96 | S200 | МЗ |
| N2 | G0 | X120 | Z2 | |||
| N3 | G817 | X80 | P4 | Н0 | l1 | K0.3 |
Параметры примера G817, G818:
X1 начальная точка контура (размер диаметра)
Z2 конечная точка контура
Р глубина резания:
Р>0: со съемкой материала вдоль контура
Р<0: без съемки материала вдоль контура
I припуск по X (размер диаметра)
К припуск по Z
Т номер инструмента
S скорость вращения
F рабочая подача
Н отъезд:
0: снимает стружку после каждого прохода вдоль контура
1: поднимается под углом 45°, снимает стружку при последнем проходе вдоль контура
2: поднимается под углом 45° без прохода вдоль контура
а) б)
Рис.9.65 Циклы черновой продольной, поперечнойобработки контура «контурной обработкой
резанием» (G817,G818)
а) контурная обработка продольно G817
б) контурная обработка поперечно G818
9.7.2.3.Циклы чернового продольного, поперечного точения обработки «параллельно к контуру» (G 836),(G 837)
Циклы G 836,G837 выполняет черновую обработку на участках заготовки параллельно к контуру (рис.9.66,а,б). «Х, Z» определяет начальную точку контура.
Последующие записи после цикла G 836 описывают участок контура.G 80 заключает описание контура.
С помощью циклов G817,G818 задается следующая последовательность движений:
1. рассчет распределения проходов (подвод)
2. подвод из «X, Z» параллельно к оси для первого прохода
3. снятие стружки соответственно рассчитанному распределению проходов
4. возвращение и подвод для следующего прохода
5. повтор 3…00,4 пока определенный участок не будет обработан
6. возврат параллельно к оси к точке старта
Общий формат
G836 X1…Z2…[P][K][I][Q]
Пример (G836,837) (см. рис.9.66,а,б)
| N1 | ТЗ | G95 | F0.25 | G96 | S200 | МЗ |
| N2 | G0 | X120 | Z2 | |||
| N3 | G836 | X80 | Z2 | P4 | l1 | K0.3 |
Параметры в примере:
X1 начальная точка контура (размер диаметра)
Z2 конечная точка контура
Р глубина подвода: максимальная глубина подвода
I припуск по X (размер диаметра)
К припуск по Z
Q поперечная черновая обработка: Обработка продольно и поперечно
Q=0: обработка продольно
Q=1: обработка поперечно
а) б)
Рис.9.66 Циклы черновой обработки «параллельно к контуру» (G836, G837)
а) цикл черновой обработки параллельно к контуру продольно (G836)
б) цикл черновой обработки параллельно к контуру поперечно (G837).
9.7.2.4.Циклы чистовой продольной, поперечной обработки «снятием стружки», «контурной обработки», «параллельно контуру» (G89).
Все ранее представленные циклы черновой обработки G 70, G71, G 817, G 818, G 836,
G 837 могут быть реализованы и для чистового точения под другими подготовительными функциями.
Циклы чистовой продольного и поперечного точения методом «снятия стружки»
Последовательность движений:
Отработка цикла в случае продольного точения (рис. 9.67,а)
1 перемещение инструмента в поперечном направлении от «X, Z» к «начальной точке XI»
2 чистовая обработка сначала в продольном, а потом в поперечном направлении
3 возвращение инструмента в продольном направлении к точке старта
Отработка цикла в случае поперечного точения (рис. 9.67,б)
1. перемещение инструмента в поперечном направлении от «X, Z» к «начальной точке Z1»
2. чистовая обработка сначала в поперечном, а потом в продольном направлении
3. возвращение инструмента в поперечном направлении к точке старта
Общий формат
G89 X1…Z2…
Параметры циклов
Точка старта X, Z
Х1 начальная точка контура (чистовая обработка продольно)
Z2 конечная точка контура (чистовая обработка продольно)
Z1 начальная точка контура (чистовая обработка поперечно)
Х2 конечная точка контура (чистовая обработка поперечно)
Циклы чистовой продольной, поперечной обработки «контурной обработкой резанием»
Последовательность движений
Отработка циклов (рис.9.68 а,б) :
-
перемещается параллельно к оси от «X, Z» к «точке старта
контура» -
выполняет чистовую обработку отрезка контура
Общий формат
G89 X1…Z2…
Параметры циклов
Х1 начальная точка контура (чистовая обработка продольно)
Z2 конечная точка контура (чистовая обработка продольно)
Z1 начальная точка контура (чистовая обработка поперечно)
Х2 конечная точка контура (чистовая обработка поперечно)
Циклы чистовой продольной, поперечной обработки «параллельно к контуру».
Последовательность движений:
Отработка циклов (рис.9.69 а,б) :
-
перемещение параллельно к оси от «X Z» к «точке старта контура»
-
выполнение чистовой обработки отрезка контура
Общий формат
G89 X1…Z2…
Параметры циклов:
Х1 начальная точка контура (чистовая обработка продольно)
Z2 конечная точка контура (чистовая обработка продольно)
Z1 начальная точка контура (чистовая обработка поперечно)
Х2 конечная точка контура (чистовая обработка поперечно)
Инструмент останавливается в конце каждого цикла.
а) б)
Рис.9.67 Циклы чистового продольного и поперечного точения « снятием стружки»
а) цикл «чистовая обработка продольно» выполняет чистовую обработку отрезка
контура «Х1» до «Z2».
б) цикл «чистовая обработка поперечно « выполняет чистовую обработку отрезка
контура « Z1» до «Х2».
Инструмент возвращается в конце цикла к точке старта.
а) б)
Рис.9.68 Циклы чистового продольного и поперечного точения « контурной обработкой»
а) цикл чистового продольного точения.
б) цикл чистового поперечного точения.
а) б)
Рис.9.69 Циклы чистового продольного и поперечного точения « параллельно к контуру»
а) цикл чистового продольного точения.
б) цикл чистового поперечного точения.
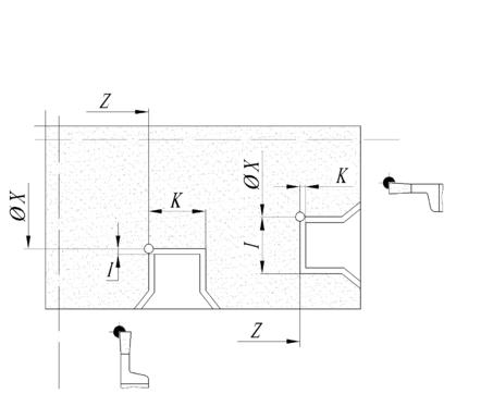
9.7.2.5 Цикл прорезки (G76)
G76 производит простые радиальные и аксиальные внутренние и наружные прорезки с фасками. Вид прорезки (радиальное/аксиальное, внутреннее/наружное) устанавливается на основе «ориентации инструмента».
Последовательность движений в цикле
-
подвод резеца в точку реза;
-
обработка фаски или закругления, если определено;
-
прорезка детали;
-
возврат резеца в исходную точку.
Общий формат
G76 X…Z…[I][K][E]
Параметры:
-
X угловая точка дна по координате X (размер диаметра);
-
Z угловая точка дна по координате Z;
-
I припуск:
-
радиальная прорезка: припуск без предпрорезки;
-
аксиальная прорезка: ширина прорезки - нет ввода: наступает один ход прорезки (ширина прорезки = ширина инструмента)
-
К ширина;
-
радиальная прорезка: ширина прорезки - нет ввода: наступает один ход прорезки (ширина прорезки = ширина инструмента);
-
аксиальная прорезка: припуск без предпрорезки;
Е время пребывания при окончательной прорезке.
Пример программирования G76 (рис.9.70)
| N1 ТЗ0 G9S F0.15 G96 S200 МЗ | |
| N2 G0 X62 Z2 | |
| N3 G86 X54 Z-30 I0.2 К7 Е2 | В кадре N3 радиальная прорезка |
| N4 G14 Q0 | |
| N5 Т38 G95 F0.15 G96 S200 МЗ | |
| N6 G0 X120 Z1 | |
| N7 G86 Х102 Z-4 I7 К0.2 Е1 | В кадре N7 продольная прорезка |
Рис.9.70
Цикл прорезки G76.
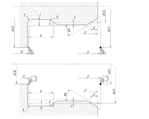
9.7.2.6 Цикл обработки выточки (G25)
G25 обрабатывает выточку перед обработкой резьбы и шлифованием цилиндрической поверхности.
Последовательность движений в цикле
-
подводит инструмент из «X, Z»:
-
на позицию «точка старта цилиндра Х1»;
-
для надреза резьбы;
-
производит надрез резьбы, если определено;
-
выполняет чистовую обработку цилиндра до начала выточки;
-
производит выточку;
-
выполняет чистовую обработку до «конечной точки торцевой поверхности Х2»;
-
окончание цикла:
-
«без возврата»: Инструмент останавливается на «конечной точке Х2»;
-
«с возвратом»: перемещается по диагонали к точке старта.
Параметры:
-
Точка старта X, Z;
-
Х1, Z1 точка старта цилиндра;
-
Х2, Z2 конечная точка торцевой поверхности;
-
Е редуцированная подача для погружения и для надреза резьбы;
-
Т номер инструмента;
-
S скорость вращения
-
F вращательная подача;
-
I глубина выточки;
-
К длина выточки;
-
W угол выточки;
-
R радиус выточки (по обеим сторонам выточки);
-
В длина надреза цилиндра;
-
WB угол надреза;
-
RB радиус надреза;
-
U шлифовальный припуск для участка цилиндра
Пример программирования G25 (рис. 9.71.)
| N1 Т21 G95 F0.23 G96 S248 МЗ |
| N2 G0 X62 Z2 |
| N3 G25 Х60 Z-30 10.3 |
| N4 G1 Х80 |
| N5 G25 X80 Z-40 КО |
| N6 G1 Х100 |
| N7 G25 Х100 Z-60 11.2 К6 Е0.11 |
| N8 G1 Х110 |
Рис. 9.71















